今天要分享的材料內容,跟小編學生時代粉的建築師弗蘭克·歐·蓋裡有關,或許有的小夥伴可能猜測是金屬鈦,畢竟他有大量知名的建築以鈦為主要飾面材料。
但是,今天咱們要聊的不是這個國內基本上用不到的“極奢”鈦,而是它的親戚,也是蓋裡在維特拉設計博物館建築中所應用的主要材料——鈦鋅板。
那麼,今天我們就從以下幾個方面一起來聊一聊鈦鋅板吧!
1、什麼是鈦鋅板?
2、鈦鋅板的型別及材料對比
3、鈦鋅板的施工工藝
一、什麼是鈦鋅板?
1、鈦鋅板的定義
鈦鋅板(英文為Zinc-Copper-Titanium Alloy),也稱為鈦鋅合金板、鋅銅鈦合金板、鈦金板等。
由高純度的Z1級別的金屬鋅與少量的金屬鈦(約0.06~0.2%)、金屬銅(約0.08~1.0%)及金屬鋁(約≤0.015%)熔鍊而成合金,經輥軋處理成片、條、板或卷狀的建材板。
雖然叫鈦鋅板,但其實它的主體金屬為鋅,而鈦的加入可以改善合金的抗蠕變性,銅的加入用以增加合金的硬度,超過了傳統鋅金屬易彎折等侷限的效能。
2、鈦鋅板的特點
a、裝飾性強
①板材具有豐富的表現力,其延伸率和抗拉強度高,可塑性好,可滿足各種各樣造型設計(如弧形、曲面、球面、凹面等)的要求。
②本身天然的金屬色澤,可與多種材料完美搭配 ,充分滿足多種設計風格及個性需求。
b、綠色環保
①鈦鋅板可以透過再次熔化而被 100% 的回收利用,不會分解散發有害物質,所以不汙染環境。
②鈦鋅板的使用不會對周圍環境產生任何不良影響,沖刷鈦鋅板表面的水用來澆灌植物都無任何副作用。
c、效能優越
①材料耐腐蝕性和耐磨耗性極強,耐侯性好。
②有劃傷後自動癒合不留劃痕、免維護等特點。同時具有獨特的抗菌抑菌功能。
③屬於不燃材料,防火效能優異。
④可作為避雷閃接器,同時還可以防止電磁輻射。
⑤使用壽命長,約80~100 年。
⑥反射率低,不會造成光汙染。
d、施工多樣
①表面不打膠、無明釘,可透過咬合、搭接、翻折等機械操作完成安裝施工。
②可直接焊接,表面無需做任何預處理。
e、價格昂貴
在眾多金屬材料中,鈦鋅板的價格相對昂貴一些,但是因其優越的材料效能,綜合來看,其價效比也在中高範圍內。
3、常用引數
鈦鋅板的常用引數如下:
大部分產品為卷材,最大長度可現場成型確定,寬度多為400mm~1000mm或定做。施工安裝可選擇現場製作為板材或片材,也可以在工廠預製成成品板材或片材。
基材厚度:多為0.65mm、0.7mm、0.82mm、0.9mm、1.0mm、1.2mm、1.5mm等。
基材重量:多為3.5~7.5kg/㎡,如0.82mm厚的鈦鋅板屋面板重量僅為5.7kg/㎡,是一種極輕材料。
(以上均為材料的市面上大部分產品常用引數,僅供參考)
4、價格區間
鈦鋅板主要受尺寸、顏色、厚度、品牌等因素的影響,售價約為500~1250元/㎡。
(以上價格僅為市場普通中端價格,材料價格根據其不同專案,不同品牌,以及定製等多方原因會有較大浮動,僅供參考。)
二、鈦鋅板的型別及材料對比
1、鈦鋅板的型別
鈦鋅板通常可以根據材料形狀的不同以及板材顏色的不同來分類。
a、根據材料形狀的不同分類
根據材料形狀的不同,鈦鋅板通常可以分為卷材、板材和片材三類。
①卷材
指連續成卷的鈦鋅板。通常現場製作施工構建會從工廠直接採購鈦鋅板卷材。
△材料示意
②板材
外形扁平,寬厚比大,單位體積的表面積也很大的鈦鋅板,多為矩形或板材經加工折邊後的形態。
△材料示意
△材料示意
③片材
多指單片表面積相對較小的鈦鋅板,有方形、矩形、菱形和平行四邊形等帶折邊的型別。
△材料示意
△方形片材示意
△方矩形片材示意
△菱形片材示意
△平行四邊形片材示意
b、根據板材顏色的不同分類
根據板材顏色的不同,鈦鋅板通常可以分為原色(天然鈍化)和預鈍化色兩類。
①原色(天然鈍化)
酸洗後的鈦鋅板,表面會形成藍灰色或者石墨灰的鹼式碳酸鋅層。使其接近自然環境中的氧化狀況,並透過預處理而加速了氧化,呈現出接近天然氧化效果的色澤。
△材料示意
△色彩效果示意
②預鈍化色
表面非塗漆,而是透過在鈍化層中新增少量的礦物顏料形成的。常見的顏色偏綠、紅、藍、棕、黑色系。特別是隨著光線變化,會顯出不同顏色,給人以奇妙的視覺美感。
△材料示意
△色彩效果示意
2、材料對比
鈦鋅板廣泛應用於建築屋面及外牆,下面就從材料組成、材料效能及材料應用三個方面,比較一下鈦鋅板與同類型常用的金屬板鋁鎂錳板的材料差異。
a、材料組成
鈦鋅板:以Z1級鋅為主基金屬,再加入少量銅、鈦及鋁金屬元素熔鍊而成。
鋁鎂錳板:以鋁為主基金屬,再加入少量鎂、錳金屬及其他允許的少量金屬元素熔鍊而成。
b、材料效能
鈦鋅板:具有極高的耐腐蝕性及耐磨損性,屋面及外牆的持續壽命可達80~100年,表面處理工藝使得其色澤自然、質感極佳,具有復原性,劃痕會自動復原,無需維護,屬於環保材料。
鋁鎂錳板:耐腐蝕性很好,耐磨損性相對較低,材料本身的使用壽命約30年,表面處理工藝以塗裝為主,色澤及質感相對較差一些,不具有復原性,表面塗裝破損或剝落後需重新維修,屬於環保材料。
c、材料應用
鈦鋅板:多用於具有歷史性、紀念性、代表性的重要建築物,如:紀念館、博物館、體育館、機場等。其價格相對較昂貴,通常售價為500~1250元/㎡。
鋁鎂錳板:適用於各大型公共建築,也可應用於中小型建築及家用別墅等。價格適中,通常售價為200~500元/㎡,價效比優於鈦鋅板,價格優勢使得鋁鎂錳板具有更廣泛的應用性。
三、鈦鋅板的施工工藝
鈦鋅板主要應用於建築的屋面系統、幕牆系統、落水系統、室內裝飾、屋頂裝飾物等方面。特別適合公共建築(尤其是標誌性建築)如機場、會展中心、文化中心、體育場館、高階住宅、高階寫字樓等。
鈦鋅板施工工藝多樣,主要可分為屋面系統和牆面系統兩大類,下面咱們就從這兩個方面聊一聊鈦鋅板最常用的幾種施工工藝。
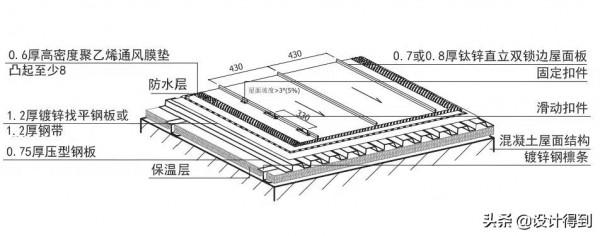
1、屋面系統
鈦鋅板屋面系統主要可分為直立鎖邊系統和平鎖釦系統兩類。
a、直立鎖邊系統
此係統為傳統鈦鋅板安裝系統,採用單鎖或雙鎖重疊後立邊,通常屋面用雙鎖邊。
a) 施工流程
①前期準備、測量放線
②安裝鍍鋅鋼檁條
③鋪設保溫層
④安裝壓型鋼板支撐層
⑤安裝鍍鋅鋼板找平層
⑥安裝山牆及簷口附件(若沒有山牆或簷口可取消此項)
⑦鋪設防水層
⑧鋪設通風膜空氣墊層
⑨安裝鈦鋅板屋面板及扣件
⑩修邊收邊收口、清潔整理
△節點構造
b) 適用範圍
①適合於大面積的屋面以及惡劣氣候地區的建築,比如經常遭受強風、暴雨和降雪的地區(山區或大陸性氣候)
②適用於所有造型屋面,如平面、曲面、內凹、外凹、圓錐、球形和雙曲面等
③屋面坡度需≥5%(即3º)
c) 工藝特點
①世界範圍內廣泛適用的傳統系統
②靈活性和簡潔性適合多種建築設計要求
③具有最佳的抗風效能
④安裝快速、簡單經濟
b、平鎖釦系統
此係統將板材的四邊採用簡單的折邊相互咬合,使用隱蔽式的扣件及螺絲安裝。
a) 施工流程
①前期準備、測量放線
②安裝鍍鋅鋼檁條
③鋪設保溫層
④安裝壓型鋼板支撐層
⑤安裝鍍鋅鋼板找平層
⑥安裝山牆及簷口附件(若沒有山牆或簷口可取消此項)
⑦鋪設防水層
⑧鋪設通風降噪網
⑨安裝鈦鋅板屋面板及扣件
⑩修邊收邊收口、清潔整理
△節點構造
b) 適用範圍
①適合於平面或曲面造型屋面
②屋面坡度≥60%(即30º)
c) 工藝特點
①可設計不同的版型排布產生不同的肌理效果
②多樣性和韻律感適合多種建築設計要求
③表面平整,沒有凸出部件
PS:注意事項
①鈦鋅板的適用坡度為3º~90º,幾乎是從很低的坡度開始一直到垂直的各種坡度都可以採用。
②屋面系統工程施工是在鋼筋混凝土結構或鋼結構之上完成,要求屋面系統施工前必需具備施工工作面。
③施工安裝時建議使用成型機和鎖邊機,可以節省了大量的施工時間和人力成本,同時保證施工精度。
④安裝時,屋面屋簷應留有進氣口,屋脊處應留出氣口,不得封死;屋面系統的通風層厚度不得低於40mm。
2、牆面系統
鈦鋅板牆面系統主要可分為直立鎖邊系統、平鎖釦系統及內鎖釦系統三類。
a、直立鎖邊系統
此係統為傳統鈦鋅板安裝系統,採用單鎖或雙鎖重疊後立邊,通常牆面用單鎖邊。
a) 施工流程
①前期準備、測量放線
②安裝鍍鋅鋼龍骨
③鋪設保溫層
④安裝壓型鋼板支撐層
⑤安裝鍍鋅鋼板找平層
⑥鋪設防水層
⑦鋪設通風降噪網
⑧安裝鈦鋅板牆面板及扣件
⑨修邊收邊收口、清潔整理
△節點構造
b) 適用範圍
①適合於惡劣氣候地區的建築外牆,比如經常遭受強風、暴雨和降雪的地區(山區或大陸性氣候)
②適用於所有造型立面,如平面、曲面、內凹、外凹、圓錐、球形和雙曲面等
c) 工藝特點
①較低的立邊高度,使屋面和牆面呈現出獨特的統一方向的韻律感和現代感。
②在處理更加複雜的立面設計時錶現出更先進的技術優勢
③多變性和安全性適合多種建築設計要求
④安裝技術成熟,易操作
b、平鎖釦系統
此係統將板材的四邊採用簡單的折邊相互咬合,使用隱蔽式的扣件及螺絲安裝。
a) 施工流程
①前期準備、測量放線
②安裝鍍鋅鋼龍骨
③鋪設保溫層
④安裝壓型鋼板支撐層
⑤安裝鍍鋅鋼板找平層
⑥鋪設防水層
⑦鋪設通風降噪網
⑧安裝鈦鋅板牆面板及扣件
⑨修邊收邊收口、清潔整理
△節點構造
b) 適用範圍
適合於平面或曲面造型牆面
c) 工藝特點
①板型靈活多變,有長條板、方形板、菱形板、多邊形板等。
②板材拼接方式有浮雕式和嵌入式兩種,滿足不同的立面設計效果
c、內鎖釦系統
此係統是開放式幕牆體系,牆板用隱蔽式扣件及螺絲安裝於框架結構上。
a) 施工流程
①前期準備
②測量放線
③安裝主龍骨(鍍鋅鋼龍骨或鋁龍骨)
④鋪設保溫層
⑤鋪設防水層
⑥安裝次龍骨(鍍鋅鋼龍骨或鋁龍骨)
⑦安裝鈦鋅板牆面板及扣件
⑧修邊收邊收口及嵌縫處理
⑨清潔整理
△節點構造
b) 適用範圍
適合於平面造型牆面
c) 工藝特點
①類似普通金屬板幕牆體系,適用性更強
②與不同材料或尺寸規格的板材組合,形成更豐富的裝飾效果
③表面平整順滑,安裝便捷
注意事項
①鈦鋅板內鎖釦系統施工時,可橫向、豎向、斜向鋪設於平直表面上。
②牆面系統工程施工是在土建主體結構之上完成的,且需設定預埋件或後置埋件。
③內鎖釦系統的支撐框架可以是最小1.5mm厚的鍍鋅鋼龍骨或最小2mm厚的鋁龍骨;龍骨寬度不應低於50mm,間距不得超過600mm。
④安裝時,牆面在牆底與牆頭都應留氣口,牆面通風層厚度不得低於20mm。
當室內裝飾中的內牆及吊頂應用鈦鋅板時,施工工藝可參考鈦鋅板牆面系統。
(本文圖片來源均自網路,版權均歸原作者所有)
