“Oh my god,買它買它!”李佳琦這句直播口頭禪的商標之旅再次折戟。根據官網訊息,近日,李佳琦所屬的美腕公司申請註冊這一聲音商標被駁回。
據悉,這不是李佳琦首次給這句口頭禪申請商標保護,但均被商標局駁回。
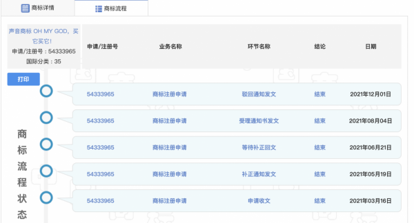
今年3月16日,美腕(上海)網路科技有限公司提出聲音商標註冊申請。根據描述,該聲音商標以節奏較快、音調較高的成年男子人聲念出“Oh my god,買它買它!”,全長2秒,語速較快,由英文“Oh my god”及中文“買它買它”組成,文字間無明顯停頓。
![]()
這一聲音商標的申請/註冊號為54333965,國際分類為35類,代理機構為北京金杜智慧財產權代理有限公司。據悉,第35類商標主要用於廣告; 為零售目的在通訊媒體上展示商品; 特許經營的商業管理; 商業中介服務; 為商品和服務的買賣雙方提供線上市場等等。
![]()
目前,商標54333965的流程狀態已經變更為“駁回通知發文”。這意味商標局駁回李佳琦的這一商標申請。
值得一提的是,李佳琦的首次聲音商標申請發生在2020年4月7日。李佳琦方面曾表示,這是為了避免某些賣家惡意使用,進而誤導消費者。
當時,李佳琦和美腕公司共同持股的上海妝佳電子商務公司申請註冊“Oh my god,買它買它!”聲音商標,由江蘇省寧海商標事務所有限公司代理。該聲音商標的申請/註冊號為45217353,國際分類也是35類廣告銷售。
![]()
與最新申請的商標稍有不同,編號45217353商標的描述更簡單——“該聲音商標是以成年男子人聲念出‘Oh my god,買它買它!’。語速較快,音調較高。”
今年4月28日,商標局對編號45217353商標駁回複審,首次申請以失敗告終。
據南都記者瞭解,聲音商標申請註冊並非易事。比如騰訊為申請註冊QQ提示音“嘀嘀嘀嘀嘀嘀”聲音商標耗時四年,終於在2018年註冊成功。
根據《商標法》規定,任何能夠將自然人、法人或者其他組織的商品與他人的商品區別開的標誌,包括文字、圖形、字母、數字、三維標誌、顏色組合和聲音等,以及上述要素的組合,均可以作為商標申請註冊。
不僅如此,《商標法》要求申請註冊的商標應當有顯著特徵,便於識別,並不得與他人在先取得的合法權利相沖突。
曾有多位智慧財產權律師告訴南都記者,成功註冊聲音商標的案例並不多,主要是因為缺乏顯著性,即消費者很難把一個聲音當成商標,或有效區分不同聲音。另外,單從文字表述來講,“Oh my god,買它買它!”也不具有獨特性。
智慧財產權律師還提到,如果李佳琦申請註冊成功,就意味著其他聲音近似的主播帶貨時說出“Oh my god,買它買它!”,可能會面臨侵權問題。
採寫:南都記者黃莉玲
