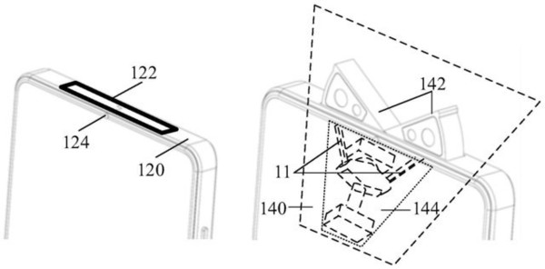
【手機中國新聞】最近有網友在中國專利公佈報告中發現小米提交了一項旋出式攝像模組及終端的專利內容,該專利能夠將攝像頭隱藏在手機中框,而無需佔據螢幕空間,相比屏下攝像頭擁有更好的屏佔比提升。
這項專利已經在今天獲得了授權,授權公告號為 CN111866329B。該旋出式攝像模組中攝像殼體以弧線作為運動軌跡,將直線位移轉化為角位移,從而能夠實現更加快速的攝像模組的旋出。
此前小米在MIX4上採用了屏下攝像頭的設計,另外在此前小米也曾經嘗試過滑出式、彈出式、打孔屏、劉海屏等等,在手機攝像頭領域進行了充分的準備。另外,小米旗艦手機小米12系列將於下個月釋出 ,有可能會採用屏下攝像頭方案,並且會搭載驍龍新一代處理器。
