自動駕駛技術即將到來,而在此之前,汽車方向盤也會首先變革一番。特斯拉全新Model S/X,已經安裝了Yoke矩形方向盤,而寶馬也拿出了類似的方向盤。
日前,寶馬曝光了全新方向盤設計專利,其並非為常規的圓形方向盤,而是類似於特斯拉的矩形方向盤。
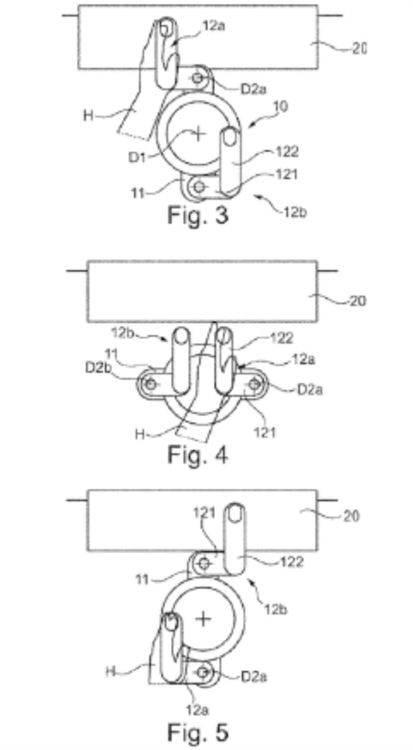
同時,所不同的是,每一個單獨手握的方向盤結構,各有一個可自由旋轉的手柄,汽車自動駕駛時,轉向手柄的中央部分將保持在標準的水平位置,即使在轉彎時也是如此,手柄旋轉始終保持垂直定位。
特斯拉Yoke方向盤
寶馬介紹,這種全新方向盤(轉向手柄)適用於車輛的自動駕駛功能,主要目的是透過轉向手柄獲得更多的空間。
車進入自動駕駛模式時,傳統的方向盤會佔用太多的空間,車主可以利用方向盤原來的位置,使用平板電腦閱讀或者處理工作。
對於駕駛員常規駕駛,寶馬也進行額外的說明,即便是駕駛員單手駕駛,也能夠使用這種方向盤,從寶馬提供的示例圖中可以看出,單手操作也能夠駕馭該方向盤。
