家裡有車的小夥伴都遇到過擋風玻璃上粘了一些難以清理的汙漬,自己清洗嫌麻煩,送去保養又嫌貴。假設在開車的過程中粘上了這些汙漬,用雨刮器並不能很快的清理乾淨,反而有可能越刮越髒。
而最近特斯拉的一項新專利不禁讓人感到吃驚:用鐳射束也能做到雨刮器清潔汙漬的功能,這又是個什麼新鮮玩意兒?
特斯拉新專利到底“新”在哪裡?
特斯拉這幾年一直在汽車玻璃上做文章,比如,去年特斯拉釋出的電動皮卡就沒有安裝雨刷。雖然我們還不能確定它會不會取消物理雨刷,但有跡象表明,特斯拉正在準備它的“魔法”雨刷。
在今年2月份特斯拉獲得了一項專為電動跑車Roadster 設計的新雨刷專利,該專利主要是透過電磁線性執行器(電磁雨刷),起到去除擋風玻璃上溼氣的作用,聽起來還真有點意思。
不過該技術只能起到去除溼氣的作用,並不具備清理汙漬的功能。
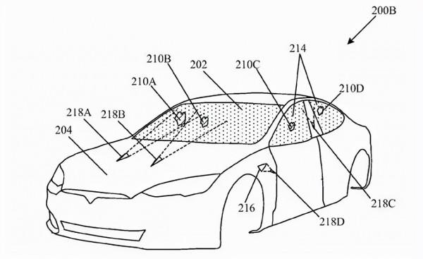
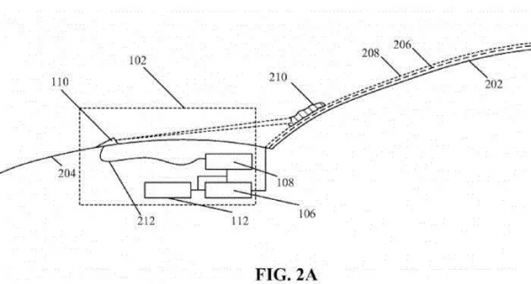
最近特斯拉又獲得了一項新專利,美國專利商標局審批通過了一項名為《脈衝鐳射清洗車輛和光伏元件中積聚在玻璃製品上的碎屑》的專利,從字面意思上看,這應該是透過鐳射束來清理玻璃上的汙漬。
而這項專利似乎也並不只是為了車窗玻璃準備的。專利中提到的“光伏元件”雖然特斯拉沒有詳細介紹,但根據資料,它主要用在太陽能發電面板上。因此小黑猜測,這項專利也會用在特斯拉的Powerwall專案中。
利用鐳射清理汙漬是如何做到的?
用鐳射束來清理汙漬,或許許多小夥伴看到這裡都會一頭霧水。這到底是一種什麼樣的“黑科技”呢?
從特斯拉申請的專利中可知,鐳射束就是為了清理汽車玻璃製品上的汙漬。就目前相關資料來看,它能代替雨刷部分的清潔功能,並不是直接取代雨刮器。
由於該項專利的內容理解起來有點難度,小黑就簡單概括一下:鐳射束需要先對汽車玻璃上的汙漬進行定位並進行檢測校準,進而控制鐳射束在碎屑上的照射水平。
照射水平是基於已經校準的速率脈衝鐳射束而定的,而且該速率還限制了鐳射束的穿透深度,該深度是小於玻璃製品厚度的,這樣可以便於利用鐳射束清理難洗的汙漬。
雖然脈衝鐳射束在汽車領域的應用並不是很多,但其實在工業製造、生產和維修等領域,它已經具有廣泛的應用。比如鐳射清洗、鐳射除鏽、利用鐳射進行模具清洗等等,這些在工業製作上都是很常見的操作。
不過,對於特斯拉這項新專利,很多人都表示質疑,一個問題就是鐳射束對於我們的健康會不會有傷害。
眾所周知,鐳射對人的眼睛是有傷害的。假設在駕駛過程中突然發射鐳射束,車內人員的眼睛很有可能會出現短暫失明的情況,這樣行車的安全也得不到保障。但是,小黑覺得現在討論尚且為早,目前這項技術也只是剛剛透過審批而已,真正用於實際肯定還需要一段時間的。
從自動輔助駕駛到摺疊式擋風玻璃,再到鐳射束清除汙漬等,特斯拉在不斷研究一些超乎我們想象的科技。以小黑個人感受來說,特斯拉的黑科技在不斷地創新進步的同時,也應該關注一下實用性和安全性,畢竟,汽車的安全性高低將直接關係到我們使用者的安全與否。
圖源:百度搜索、pixabay
