現今,汽車車內有三四塊螢幕早已見怪不怪,貌似當下誰的螢幕越多就會顯得越有“科技感”。
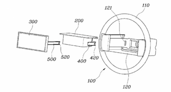
在這場螢幕競賽中,現代汽車提出了一個奇特的想法,那就是在方向盤上增加一塊顯示屏。當前現代已經成功申請了專利,這個顯示屏可不是方向盤上那個微小的功能觸控式螢幕,而是要把方向盤中間全部替換成螢幕。
沒錯,現代想透過這個設計來替代儀表盤,以此讓車內更加簡潔直觀。這個時候聰明的朋友就會問了,“那安全氣囊怎麼辦,彈出來的時候把螢幕炸爛?”。很簡單,現代把安全氣囊放置在了其他位置,互相不會影響。
其實,這並不是現代第一次提出在方向盤上放置螢幕的想法。早在2019年,現代就提出了一個名為Virtual Cockpit Study的專案,不過專案構想是在方向盤3點、9點位置增加兩塊功能觸控式螢幕。
儘管是兩個觸控式螢幕,不過還是和現在普遍的方向盤多功能觸控式螢幕不同,螢幕上會根據系統正在進行的操作,而顯示相關功能控制。
比如播放音樂時,方向盤螢幕會切換成暫停/播放、音量大小、切換歌曲等,選擇導航時,方向盤螢幕會顯示確認/取消。並且,你還可以自定義方向盤螢幕首層選單介面,放置自己經常用的功能,以及方向盤螢幕還支援多層級選單操作。
和上述2019年的想法相比,今天的現代想法明顯更激進,索性直接把方向盤中間全部換成螢幕來取代儀表盤。你覺得這個做法是噱頭,還是有一定的發展可能?









 
			 
			 
			 
			 
			 
			 
			 
			 
			 
			 
			 
			 
			 
			