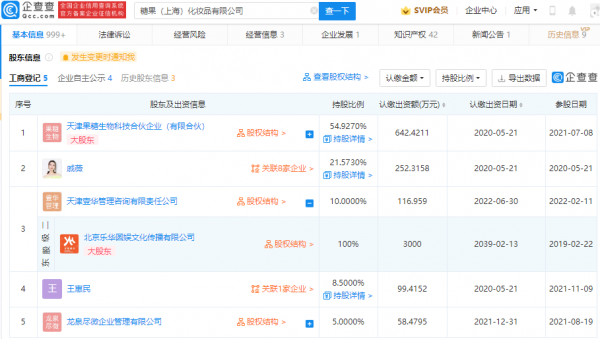
企查查APP顯示,2月11日,糖果(上海)化妝品有限公司發生工商變更,新增北京樂華圓娛文化傳播有限公司全資子公司天津壹華管理諮詢有限責任公司為股東,同時公司註冊資本由1052.63萬元人民幣增加至1169.59萬元人民幣,增幅11.11%。
![]()
企查查資訊顯示,該公司成立於2020年,法定代表人為張怡,經營範圍包含:市場營銷策劃;商務資訊諮詢;健康諮詢等,由戚薇持股21.57%。
宣告:此文版權歸原作者所有,若有來源錯誤或者侵犯您的合法權益,您可透過郵箱與我們取得聯絡,我們將及時進行處理。郵箱地址:[email protected]
