Siri 只響應主人的聲音
眾所周知,Apple 主要是一家注重隱私的公司,並試圖儘可能在其所有產品中整合隱私和安全功能。在不久的將來,Siri 將新增一項即將推出且受歡迎的基於隱私的功能。
此功能將為 Siri 引入語音識別系統,該系統將區分您的聲音和陌生人的聲音,並且只有在識別出您的聲音時才會響應查詢並執行請求的操作。
該專利由蘋果公司在美國專利和商標局公佈,據透露,此功能將首先被新增到AirPods,稍後會做它的方式到其他蘋果產品如iPhone,蘋果,Homepod等。
適用於 iPhone、Mac 和觸控板的 Apple Pencil
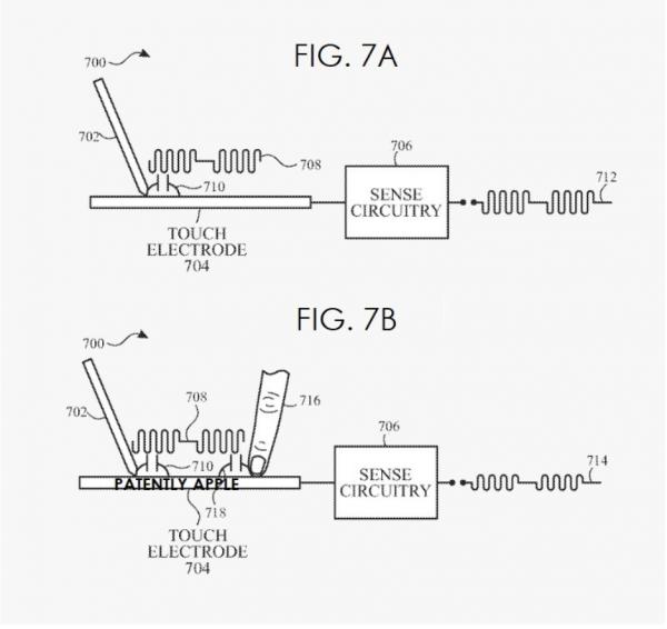
在Apple 提交的另一項專利中,顯示 Apple 正在為 iPhone、Mac 和觸控板開發雙觸控感測器。這種雙觸控感測器可以檢測我們的手指和觸控筆等無源導電物體,以及 Apple Pencil 等有源觸控筆。
由於雙觸控感測器可以同時支援被動和主動觸控,因此 iPhone 或 Mac 上的此功能可能與 iPad 上的 Apple Pencil 功能不同,並且可能不支援防手掌誤觸或其他功能。
但是,它仍然是在 iPhone 或 Mac 上進行手寫筆記和快速繪圖的好方法。
iPhone 反向無線充電
反向無線充電對於智慧手機世界來說並不是一個全新的功能,三星和華為等其他製造商已經對此進行了一段時間的嘗試。
蘋果似乎是加入這一潮流的最新公司,根據他們最近提交的一項專利,未來的 iPhone 將採用線性氟化聚合物塗層,提供抗指紋和反向無線充電功能。
與 iPhone 一樣,未來的 iPad 也有望在其後面板上採用類似的塗層,以支援反向無線充電。
一旦在 iPhone 和 iPad 上提供反向無線充電功能,它可能可以透過將其他 Apple 裝置(如 AirPods、Apple Watch 甚至其他 iPhone)放在 iPhone 或 iPad 的背面來支援它們的充電。
帶有虛擬鍵盤和 iPhone 充電面板的 MacBook
這可能是此列表中最令人興奮的功能之一,根據Apple 申請的專利,預計未來的 MacBook 將擁有一個虛擬介面,將取代物理鍵盤區域,並且這個虛擬介面可能會被配置擁有鍵盤按鈕、遊戲介面圖示或字形、基於應用程式的控制元件甚至包括虛擬觸控板。
虛擬介面還可以配置為接受基於手勢的輸入,如捏縮放、滑動滾動等。專利中透露的另一個令人興奮的功能是,MacBook 的新設計還可能在 MacBook 的左下角包括一個無線充電器,您可以使用它為 iPhone 甚至 Apple Watch 和 AirPods 充電。
具有溫度感應功能的 AirPods
隨著 Apple 在其所有產品(如 iPhone、Apple Watch 和 Macs)中新增越來越多的與健康相關的功能,他們也在考慮為 AirPods 新增類似的功能也就不足為奇了。
在蘋果最近提交的一項專利中,有報道稱蘋果將在未來的 AirPods 中新增溫度感測器包,以幫助測量使用者的面板溫度。該感測器將有助於更好地監測使用者健康的各個方面,透過測量您的面板溫度,可以更輕鬆地預測血流量並確定您是否發燒。
由於 Apple 計劃將溫度感測器包整合到可直接與面板接觸的可穿戴裝置的結構中,因此此功能也可能會在未來的 Apple Watch 版本中出現。
帶無線充電板的魔法鍵盤
iPad 妙控鍵盤是 Apple 最近推出的最成功的配件之一。Apple 可能會在即將推出的鍵盤版本中新增的這項新功能可能會顯著增加其銷量。根據最近的一項專利申請,Apple 正在開發具有無線充電功能的妙控鍵盤的未來版本,您可以使用該功能為 iPhone、Apple Watch 甚至 AirPods 充電。
此功能可能類似於 MagSafe 充電器,因為該專利還詳細說明無線充電器線圈將容納磁鐵以完美地將充電裝置固定到位。
新設計可能還包括一個可以接收和儲存無線電源的電池,因此您甚至可能不必將妙控鍵盤連線到電源即可使用無線充電功能。
配備整合生物感測器的 MacBook
我目前使用 M1 Mac Mini 作為我的主電腦,一旦 Apple 正式宣佈此功能,我可能也會認真考慮購買 MacBook。
蘋果最近提交的一項專利顯示,未來的 MacBook 將在掌託區域整合生物感測器,用於測量使用者的各種健康指標。
此功能非常適合所有非 Apple Watch 使用者,即使您擁有 Apple Watch,因為您可能不會一直佩戴它。MacBook 內建整合生物感測器,並位於您最常放手的位置,因此隨時瞭解您的健康狀況將非常有益。
整合在 MacBook 中的生物感測器有望確定和測量使用者的各種健康狀況,例如心率、血壓、含水量、血氧水平、呼吸率等。如果您在 MacBook 上花費很長時間,那麼您真的可以從此功能中受益,因為它可以跟蹤您幾天內的健康資料,甚至可以確定可用於更好地瞭解您的健康狀況的趨勢。
小夥伴兒們,你們更希望在蘋果產品中新增什麼功能呢?歡迎下方留言交流
