偽火花放電是一種特殊的低氣壓放電,既具有輝光放電的彌散特徵,又具備火花放電大電流、短時延和低抖動的特點,同時能夠運行於高重複頻率下。偽火花放電現象自20世紀70年代末被發現以來,受到了國內外眾多學者的廣泛關注,在脈衝放電開關、電子束源等方面獲得了廣泛應用。
偽火花放電具備明顯的階段特徵,根據放電特徵和物理機制的不同可以劃分為四個階段:預放電、空心陰極放電、超密集輝光放電和真空電弧放電,如圖1所示。
偽火花放電形成階段的電荷產生機制可以歸納為:預放電階段為湯遜放電,空心陰極放電階段為離子碰撞二次電子發射和電子的“鐘擺”運動,超密集輝光放電階段為微陰極斑點發射和離子自持自濺,以及真空電弧階段為陰極斑點發射。前兩個階段以氣體中的等離子體過程為主,後兩個階段以陰極表面過程為主。在非極端的電流密度下,放電通道始終呈現出彌散的狀態,並伴隨著高強度的電子束流和光輻射。
偽火花放電中每個階段的起始均依賴其前一階段的充分發展。當暫態的轉變過程發展不順利或不穩定時,便會出現相應的異常放電現象。目前,偽火花放電存在的主要問題是電流淬滅和阻抗波動,尤其是小電流情況下,出現機率很高。闡明異常放電的發生機制並採取相應抑制措施顯得尤為迫切。
偽火花開關
當前,脈衝功率技術除繼續向單次超高功率水平方向發展外,也在向高平均功率重複脈衝方向發展。這對其核心部件之一的開關提出了極高的要求。與其他氣體開關如高氣壓火花間隙開關、真空觸發開關和氫閘流管等相比, 偽火花開關具有結構簡單、電流上升速度快(~1012A/s)、電流導通能力大(大於100kA)、流通反向電流能力強(可達100%)、放電抖動小(可小於1 ns)、電極燒蝕速率低(小於100μg/C)、重複執行頻率高(可達10kHz)等優勢。
單間隙偽火花開關的耐壓極限約為30kV,多間隙結構可進一步提升開關耐壓。單孔維持超密集輝光放電模式的電流極限約10kA,對於大電流應用場合來說,一般採取多通道結構以減小單孔的電極燒蝕。與半導體開關相比,偽火花開關具有功率大、結構簡單和無需複雜串並聯電路等優點。
當前,德國和俄羅斯的研究所及公司已成功開發出偽火花開關係列產品。根據應用場合不同,可分為高重頻和大電流兩類,前者常採用輝光放電觸發,後者則常採用沿面放電觸發。表1是幾款典型偽火花開關的關鍵引數對比。值得注意的是,表中所列引數為單項可達到的最大值,各項引數之間存在相互制約關係,不能同時達到最優。
表中,FS系列為德國ALSTOM公司與埃爾朗根大學K. Frank團隊共同開發,TPI和TDI系列則為俄羅斯Pulsed Technologies公司與俄羅斯大電流電子研究所Y. D. Korolev團隊共同開發,最大電壓和電流分別可達150kV和300kA。這些成品化開關已廣泛應用於各類脈衝功率系統當中,如鐳射器、等離子體點火裝置、同步加速器勵磁裝置等。
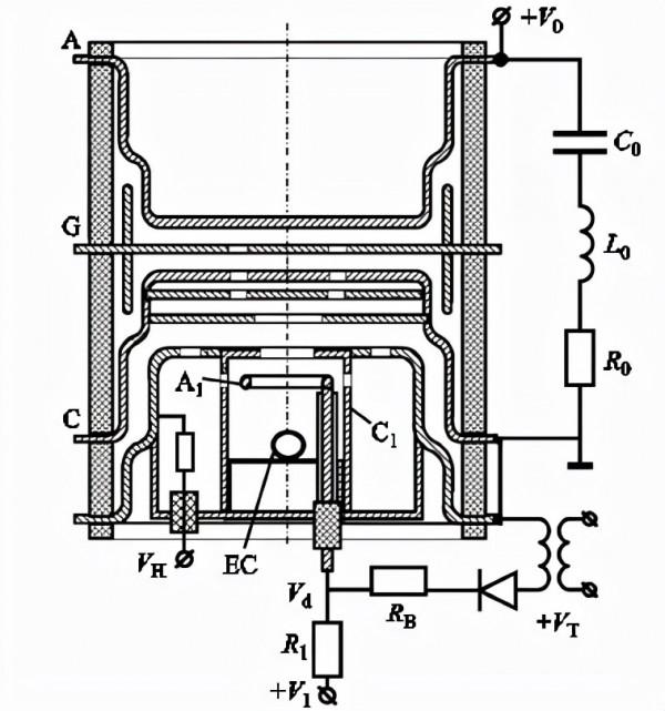
圖2是TPI10k-50偽火花開關的結構圖。該開關採用雙間隙多通道結構和輝光放電觸發單元,氫氣氣壓透過氫儲存器的燈絲電流進行調節,採用氧化鋁陶瓷做絕緣支撐並透過金屬-陶瓷焊接密封。圖中電極邊緣存在多處彎曲結構,可遮蔽放電等離子體對絕緣支撐的轟擊,避免長期執行時絕緣破壞。
(A—平板陽極;G—柵極;C—空心陰極;A1—觸發陽極;C1—觸發陰極;EC—高發射係數材料)
該公司在最新產品的氫儲存器上採用了特殊的金屬半透膜材料,開關工作時無需燈絲加熱電源,進一步簡化了開關使用過程。
國內自1997年起,西安交通大學的邱毓昌團隊對偽火花開關的放電特性開展了研究。趙會良等研究了空腔懸浮電極對雙間隙偽火花開關耐壓的影響。姚學玲等研究了採用沿面閃絡型觸發器的偽火花開關的效能。北京真空電子技術研究所的張明和周亮等開發的偽火花開關,為雙間隙多通道結構,採用沿面放電型觸發器,耐壓50kV,通流50kA,可工作於單次或低頻條件;同時,對鐳射觸發偽火花開關進行了初步的研究,獲得了聚焦和非聚焦模式下,鐳射能量與觸發時延和抖動的關係。
目前西安交通大學丁衛東團隊和江西景光電子有限公司正在開發高重頻低抖動的成品化偽火花開關,已實現的引數包括耐壓大於50kV,通流大於40kA,抖動小於1ns。今後偽火花開關研究的重點是進一步提升開關各項引數,尤其是壽命和執行穩定性。
電子束源
與光電陰極、熱陰極及等離子體斑點陰極等相比,基於偽火花放電的電子束源在電流密度和亮度等方面有著綜合性的優勢,在太赫茲、材料處理和醫學等領域有廣泛的應用。
基於偽火花放電的電子束源的典型結構如圖3所示,一般採用多間隙結構以提升裝置耐壓和電子束能量,陰極接負高壓,陽極接地,主電容的容量一般在nF量級。電子束的典型放電波形如圖4所示,第一個峰所示的電子束的特點是能量高密度低,第二個峰能量低密度高,與前文機制分析所述一致。為了提升後一階段電子束流的能量,英國思克萊德大學的Yin H.和西安交通大學的趙軍平等設計了帶有後加速作用的雙間隙偽火花放電結構,對大量低能電子進行加速。
基於偽火花放電的電子束源的研究主要集中在兩方面。一方面,集中在電極結構(腔深、孔徑、孔深、間隙數等)、外迴路引數(電壓、主電容、氣壓、氣體種類等)和電壓形式(直流、微秒脈衝、納秒脈衝)等因素對於電子束密度和能量時空分佈的影響規律的研究]。
實際應用中,一般要求電子束的密度大、能譜窄或可控、穩定性好。因此,如何測量和靈活調控電子束引數是研究的重點。電子束的電流密度一般採用羅氏線圈和法拉第杯的方法進行測量,電子束的能量分佈採用外加偏置電壓或偏轉磁場直接測量,或採用自偏置電極結構並反捲積運算間接獲得。
測量時應注意遮蔽放電等離子體對法拉第杯訊號的干擾。值得注意的是,當前電子束能量分佈測量的研究中,未考慮偏置電壓和偏轉磁場對電子束輸運的影響,即外施電場或磁場會改變電子到達接收裝置的時間,且對不同能量電子的影響程度不同。在今後的研究中,需要對測量結果進行修正。
另一方面,電子束在微波和太赫茲輻射源、超導薄膜材料沉積、金屬刻蝕、加速器、X射線源等方面有著廣泛的應用。
圖5是英國思克萊德大學H.Yin等利用偽火花放電電子束驅動的切倫科夫激射器,得到脈寬100ns、峰值功率約2kW,中心頻率為25.5GHz的微波,驗證了該方法用於產生毫米波甚至太赫茲微波輻射的可行性。在最新的研究中,該團隊利用偽火花放電產生條狀的電子束,用於驅動擴充套件互動振盪器,最終得到脈寬約20ns、峰值功率1.2kW、頻率範圍在104~106GHz的高功率微波。
極紫外光源
極紫外(Extreme Ultraviolet,EUV,中心波長13.5nm)光源是下一代光刻技術的核心裝置,目前業界主要採用兩種技術來產生極紫外光,一種是鐳射等離子體技術,另一種是放電等離子體技術。鐳射等離子體技術面臨的最大挑戰是數千赫茲重複頻率的高功率鐳射器和靶材碎片汙染問題。相較而言,基於偽火花放電的方案能夠在很大程度上克服上述問題。
特殊的空心陰極結構使得偽火花放電等離子體徑向箍縮,箍縮後的等離子體密度達到1018~1019/cm3,電子溫度達到幾十電子伏。在此過程中,氙氣分子受激發後能夠產生較多中心波長13.5nm的極紫外輻射。此外,基於偽火花放電的極紫外光源具有放電能量低和等離子體不直接與絕緣材料接觸的特徵,容易獲得數千赫茲的高重複工作頻率。與偽火花開關相比,極紫外光源工作氣體通常採用氪氣、氙氣等大分子量稀有氣體,且放電通道需要發生箍縮,不再追求彌散的效果。
德國夫琅和費鐳射研究所的K. Bergmann等自20世紀90年代至今與飛利浦和ASML等公司展開合作,先後研發了多款基於偽火花放電的極紫外光源樣機。在絕緣恢復和重頻執行等研究的基礎上,研究了氣體種類、脈衝能量、電極結構等引數對出光效率、碎片汙染、執行穩定性等方面的影響規律。圖6是該團隊於2012年搭建的裝置,在重頻3.3kHz、脈衝能量6J的輸入功率下,能夠獲得中心波長13.5nm(半高寬2nm)、輸出功率21W/mm2sr的極紫外光源。圖7是實驗中獲得的極紫外光輻射特性。
此外,俄羅斯的Y. D. Korolev和美國的Jiang Chunqi等也在對偽火花開關進行深入研究後,對偽火花放電極紫外光源開展了探索性研究[80-81],但仍然較為初步。國內目前尚未見到基於偽火花放電的極紫外光源研究的相關報道。
總體而言,基於偽火花放電的極紫外光源具備和其他技術方案相當的能量轉化效率,並且在重複頻率、電極燒蝕、壽命、碎片汙染、造價等方面具有優勢。
在低脈衝能量下,偽火花放電方案的出光效率高,電極的燒蝕小。為保證出光的一致性和穩定性,要求光源達到很高的的工作頻率,而高重複頻率正是偽火花放電的突出優點之一,但目前的出光總功率和執行穩定性均與商用標準具有較大差距。雖然當前已有基於鐳射等離子體技術的的商用光刻機,但造價十分昂貴,具備小脈衝能量(J級)、高重複頻率(kHz級)特徵的偽火花放電極紫外光源仍是一種具有較大潛力的方案。
本文摘編自2021年第11期《電工技術學報》,論文標題為“偽火花放電的物理機制與應用綜述”,作者為閆家啟、申賽康 等。
