sponsored links

騰訊把“狗頭”表情包註冊成商標了

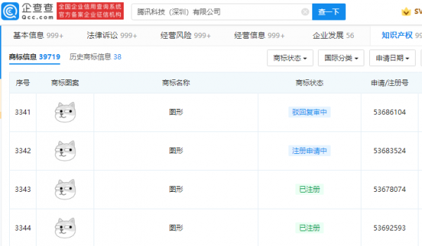
中國質量新聞網訊(閆冬)據企查查,近期,騰訊科技(深圳)有限公司申請的“狗頭”商標正式完成註冊,商標國際分類涉及健身器材、傢俱等。此前曾有部分“狗頭”商標被駁回。

據悉,騰訊公司最早申請狗頭商標日期為2021年2月。

騰訊把“狗頭”表情包註冊成商標了
騰訊把“狗頭”表情包註冊成商標了


圖片來源:企查查

分類: 軍事
時間: 2021-12-01

相關文章

求是網評論員:深扎聽黨話、跟黨走的思想根基
這是習近平總書記多次講述的一個感人故事. 1936年7月,紅31軍274團8連一個班第三次過草地時,陷入斷糧的困境.16歲的戰士周廣才拿出自己繳獲的牛皮腰帶,和戰友們吃了一截,攥緊剩下的部分,含淚對戰 ...

教育課堂呼喚“精準設計”

教育課堂呼喚“精準設計”
第81集團軍某旅在野外駐訓期間,靈活開展授課教育.鄒帥宇攝 過去授課的"綠皮車票"已登不上新時代的"思想高鐵" 回想起那次授課,指導員趙寧至今還尷尬得" ...

軍人子女入學優待,來點大招

軍人子女入學優待,來點大招
圖:魏二姐 <軍人地位和權益保障法>,已經正式施行,"讓軍人成為全社會受尊崇的職業"有了較為剛性的制度保障. 當然,世上之事,不難於立法,而難在"有法必行&q ...

這個師是蔣介石的“御林軍”,師長是蔣經國推薦,最後為何起義?

這個師是蔣介石的“御林軍”,師長是蔣經國推薦,最後為何起義?
1949年3月24日,俞濟時急匆匆地給在溪口妙高臺別墅的蔣介石送來一封緊急電報,電報是南京衛戍總司令張耀明發來的,裡面寫道:97師師長王晏清渡江投向共軍. 蔣介石看了之後非常驚愕,雖然此前起義.投誠的 ...

蔣介石任命葉挺為新四軍軍長!毛澤東:他是國民黨中將,合適嗎?

蔣介石任命葉挺為新四軍軍長!毛澤東:他是國民黨中將,合適嗎?
1945年8月15日,這一天是日本無條件投降的日子. 一連串的數字記錄了新四軍抗擊日軍的豐功偉績: 對日作戰24617次,打死打傷日軍117605人.打死打傷偽軍176605人,俘虜日軍2022人.偽 ...

“八路半”兩師先後起義,老蔣聞訊氣急敗壞,間接導致楊虎城遇害

“八路半”兩師先後起義,老蔣聞訊氣急敗壞,間接導致楊虎城遇害
1946年4月29日上午9時,晉冀魯豫軍區劉伯承司令員.鄧小平政委聯名急電延安,火急請示:"三十八軍之孔師,已被整編為旅,孔被調為副師長.胡宗南知該師與我黨及民盟有聯絡,擬將其營以上幹部完全 ...

北部戰區海軍航空兵某旅借力網路打造全時全域教育模式
海軍航空兵某旅探索遠端網路教育模式 "雷霆講堂"線上討論熱點話題 解放軍報訊 單濤.記者李浩然報道:仲秋時節,北部戰區海軍航空兵某旅發射連指導員王毅透過強軍網上開設的"雷 ...

深圳市繪王動漫科技有限公司董事長徐鶴峰――帶著企業幹出一番動靜來
來源:經濟日報 "使用者憑什麼要買你的產品?"這是深圳市繪王動漫科技有限公司董事長徐鶴峰每天都會自問的問題. 在徐鶴峰看來,"適銷對路"是評判創新產品最重要的標 ...

寓教於樂,時刻陪伴兒童讀繪本--機器島繪本閱讀機器人評測

寓教於樂,時刻陪伴兒童讀繪本--機器島繪本閱讀機器人評測
寫在前面 目前年輕父母的工作壓力很大,幾乎沒有時間陪伴孩子,更不用說最近因為"雙減"政策取消了大量線上和線下培訓機構.如何有效地陪伴孩子也是我最近一直在思考的問題. 提到孩子們的繪 ...

熱點|官兵這次穿軍裝集體外出,去的地方很神聖

熱點|官兵這次穿軍裝集體外出,去的地方很神聖
文 | 沈曄.齊永輝 圖 | 王浩權.王俊皓 在黨的百年華誕到來之際 東部戰區陸軍海防某旅分兩批組織 70餘名受表彰的優秀共產黨員 先進基層黨組織和機關幹部 前往古田會議舊址 探尋黨領導人民軍隊艱苦奮 ...

“後浪”的暑假作業!13歲女生臨摹近代史,繪10米長卷

“後浪”的暑假作業!13歲女生臨摹近代史,繪10米長卷
青年報·青春上海記者 周勝潔 從1840年鴉片戰爭起至1949年中華人民共和國成立,這百餘年近代史波瀾壯闊.上海民辦進才外國語中學的學生朱鵲利用暑假,手繪臨摹了混知微信公眾號創始人陳磊創作的近代史長圖 ...

關注|基層官兵的這次集體行動,收穫滿滿

關注|基層官兵的這次集體行動,收穫滿滿
文.圖丨陳躍坡.沈曄.徐勝 巍巍井岡山,峰巒疊嶂 中國革命的星星之火在此燎原 在松柏疊翠的茨坪北山上 井岡山革命烈士陵園矗立於此 井岡山烈士陵園. 近日,東部戰區陸軍海防某旅 在贛南山區摔打磨礪部隊 ...

社科名家 | 徐康寧:寫有思想的文字,是一種享受

社科名家 | 徐康寧:寫有思想的文字,是一種享受
來源:交匯點新聞客戶端 學者簡介 徐康寧,江蘇句容人,1956年出生於南京.小學三年級未讀完就逢"文革"開始,後面的基礎教育很大程度上靠自我補習.1978年考入大學,拿到的最高學位 ...

南日島戰役:開國上將葉飛慘敗,800餘名官兵被俘虜

南日島戰役:開國上將葉飛慘敗,800餘名官兵被俘虜
1949年,蔣介石的國民黨軍隊兵敗如山倒,徹底的沒有了與解放軍相爭的實力,東南各個省份相繼解放,當時擔任第十兵團司令的葉飛接到上級的命令後前往福建,為解放福建做準備,可是,讓所有人都意想不到的是,戰功 ...

大學的輔導員喜歡的這3種人,準大學生們學起來吧

大學的輔導員喜歡的這3種人,準大學生們學起來吧
引言:隨著9月份的到來,各個大學陸續開學.每個準大學生經過了12年的寒窗苦讀後,都盼望著能進入大學,開始新的生活.進入大學也是自己成人禮之後,第一次獨自面對很多問題的時候.對這樣的生活,大一的新生們, ...

用繪本讓大寶順利迎接“二胎”心理建設和手足成長

用繪本讓大寶順利迎接“二胎”心理建設和手足成長
"全面二胎"解禁沒過多久,三孩兒政策也陸續落地,雖說幼兒園內卷.教育支出無底洞,先不看現如今的"雙減政策".各種增加生娃兒的補助.還有抑制房價的舉措,矛頭都指向 ...

官兵比例1:2.45,平均一個軍官管兩個半兵,鄧小平:精兵,消腫

官兵比例1:2.45,平均一個軍官管兩個半兵,鄧小平:精兵,消腫
1985年5月23日至6月6日,中央軍委召開了擴大會議.陸.海.空三軍,第二炮兵和北京.瀋陽等十一個大軍區的解放軍高階將領齊聚北京京西賓館. 此次會議將最終定奪十一個大軍區之中究竟哪四個將被裁撤掉. ...

白酒越貴越好?認準瓶身2個“標記”,再便宜也是純糧好酒

白酒越貴越好?認準瓶身2個“標記”,再便宜也是純糧好酒
白酒易買,純糧好酒難挑. "一分價錢一分貨",相信很多的人購物時都是這麼想的,買白酒也不例外. 貴酒就等於好酒?也不一定. 身邊有不少朋友花了大價錢,卻買到酒精勾兌酒,這樣的例子數 ...

這四本繪本讓孩子度過愉快的假期

這四本繪本讓孩子度過愉快的假期
<瑪麗昂,再講一個故事吧!> 半個小時過去了,一個小時過去了,早已經超過了孩子睡覺的時間.你早已經讀故事書讀得口乾舌燥,也已經有些焦慮和煩躁了,可是小傢伙卻軟硬兼施地要求再講一個故事. 我 ...

閱讀深1℃ | 讓孩子看見時間與時代,繪本《小房子》創造的奇蹟

閱讀深1℃ | 讓孩子看見時間與時代,繪本《小房子》創造的奇蹟
導語 日本"圖畫書之父"松居直有一份私人書單,書單中他推薦了50本自己最喜歡的圖畫書.其中他認為最適合初次接觸親子閱讀的家長嘗試閱讀的書,就是這本曾獲凱迪克金獎.流傳了五十多年的經 ...