說到特斯拉,你是不是隻會想到獨攬大權的馬斯克,開疆拓土的Model 3車型,還有領先全球的自動駕駛技術。當然除了這些享譽盛名的頭銜以外,特斯拉默默耕耘了更多全新的汽車技術,比如最近曝光的這個特斯拉“鐳射雨刷”,利用感測器探知雨刷上的汙染物,後用鐳射對汙染玻璃表層進行清除。
特斯拉作為千禧年創立在美國加州的企業來說,骨子裡自帶“創新”基因,高度智慧的輔助駕駛系統,高效的電池管理技術,突破常規營銷模式,無不讓特斯拉走在這個時代車企技術的前列。五十多年前,沃爾沃第一次將三點式安全帶裝備在汽車上,賓士第一次將安全氣囊裝備在S級上,而現在這個角色換成了特斯拉。
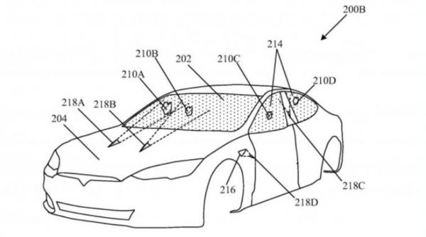
值得一提的是,早在兩年多以前,特斯拉在推出電動皮卡和電動貨車的時候,說哥也注意到這兩款新車的前擋風位置並沒有設計到雨刷,屆時會不會有什麼革命性清潔技術誕生?果不其然,特斯拉最近正式向美國專利局申請一項關於雨刷的專利申請,其核心技術為“脈衝鐳射”。
一、鐳射雨刷的優勢
傳統雨刷系統發展到現在的感應雨刷,雖然全程自動化執行,但始終有一個痛點,消費者依然需要定期維護雨刷。因為雨刷的清潔部位就是柔軟的橡膠材質,經過風吹日曬以後橡膠部位逐漸硬化,不能很好清潔玻璃上的雜質。
而特斯拉的全新技術“鐳射雨刷”從專利圖去看,位置依然還是現在雨刷系統的噴水口位置。不過不一樣的是,更換為脈衝鐳射發射處。鐳射雨刷取代了往復運動的雨刮器,少了一個運轉的部件,從而減低零件的故障率。
其實特斯拉這項全新技術,我們先跳脫出它的專利圖侷限,清潔的區域如果不限於前擋風玻璃呢?要知道,特斯拉為了實現自動輔助駕駛系統Autooilot,部署了8個視覺攝像頭和12個超聲波雷達,這些視覺攝像頭的乾淨程度關乎駕駛系統的可靠性。
此外,說哥覺得特斯拉會不會在下一盤大棋?因為特斯拉還推行家裝太陽能電板發電併網,利用自家屋頂改裝太陽能電板發電,實現電能自給自足,甚至有空餘電能還能併網傳輸。這些大面積的電板如果採用了此項技術,那麼在以後的日常使用當中,就不需要大費周章地去維護電板,大幅減低家裝太陽能的維護成本。
二、鐳射雨刷的劣勢
時代發展的每一項技術,都有它自身的優劣勢,著重看它究竟是不是利大於弊。特斯拉開發的“鐳射雨刷”說了那麼多的優點,就沒有缺點嗎?答案是有的。
從特斯拉曝光的專利圖來看,“鐳射雨刷”的觸發位置在前機蓋的噴水口位置,向後面的擋風玻璃發生脈衝鐳射,進而消除汙染物以及汙垢。說哥覺得如果脈衝鐳射功率大到可以消除汙染物及汙垢,那麼不可避免會掃到主駕駛和副駕駛位置的眼睛,造成一定的傷害。
倘若特斯拉把“脈衝鐳射”的發射功率控制在僅消除汙染物及汙垢,又不會穿透前擋風玻璃?又或者在前擋風玻璃處加裝阻擋“脈衝鐳射”的車窗膜?在這個大部分車主都會貼膜的時代,這種方法也未嘗不可。
三、鐳射雨刷會普及?
特斯拉的存在,就是一部不斷革命的歷史。高度智慧的Autooilot輔助駕駛系統,讓方向盤不再重要;單踏板模式讓踏板數再度減少;那麼“鐳射雨刷”會不會讓雨刷也不再重要呢?
從特斯拉角度出發,這就是一項革命性的技術,全自動清潔太陽能電板、車窗玻璃、甚至去到清潔重要感測器呢?不難想象,這項革命性對於世界上各大車企來說,都是非常重要,它們在發展輔助駕駛的時候,感測器的乾淨程度直接影響駕駛員的行駛安全。
從我們消費者的角度出發,就等於革了雨刮器的命,少了個更換雨刮器的麻煩。對於一些不怎麼懂車的消費者而言,這是項很好的配置,必須普及。但對於廠家而言,這是不是就等於少了一個賺錢的機會?廠商普及的意願是否會大幅下降?
寫在最後的話
從百年前的充氣橡膠胎的發明,到半世紀以前的三點式安全帶和安全氣囊的發明,汽車技術的發展一直遵循“安全實用原則”。如果“鐳射雨刷”在特斯拉的不斷改進中,既能實現安全的運作,又能全自動地便捷,那麼離全面普及就會不遠。畢竟這樣安全高效便捷的配置,消費者是不會反對的。
