來源:網易科技
據外媒報道,當地時間週二,美國專利商標局宣佈將利用鐳射充當擋風玻璃雨刷的專利正式授予電動汽車製造商特斯拉。
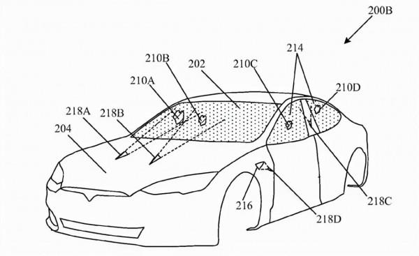
特斯拉於 2019 年 5 月提交了名為《脈衝鐳射清洗車輛和光伏元件中積聚在玻璃製品上的碎屑》專利申請,美國專利商標局於本週批准了其申請,這使特斯拉獲得了這項發明的獨家權利。
特斯拉過去曾嘗試過幾個關於擋風玻璃雨刷的想法。事實上,今年 2 月,該公司已經獲得一項專為電動跑車 Roadster 設計的新雨刷專利,該設計將利用電磁線性執行器(電磁雨刷)來去除擋風玻璃上的溼氣。
此外,特斯拉也在嘗試不給擋風玻璃安裝雨刷的想法。在 2019 年 11 月的釋出會上,特斯拉電動皮卡 CyberTruck 就沒有雨刷,這可能暗示:特斯拉要麼沒有敲定合適的設計,要麼根本就沒準備安裝雨刷。現在,也許透過新專利可以解釋當時 CyberTruck 缺少雨刷的原因了。
特斯拉在其申請檔案中概述了這項專利:“一種用於車輛的清潔系統,包括髮射鐳射束以照射車輛玻璃製品上的光束光學元件、檢測積聚在該區域碎屑的檢測電路以及控制電路。控制電路基於對累積在玻璃製品上的碎屑檢測,來校準與從光束光學元件發射的鐳射束相關聯的引數,進而控制鐳射束在累積碎屑上的照射水平。其中,基於以校準速率對鐳射束進行脈衝來控制照射水平,並將鐳射束的穿透限制到小於玻璃製品厚度的深度,進而移除碎屑。”
除了鐳射雨刷,特斯拉也在醞釀很多聽起來相當瘋狂的想法。其執行長埃隆・馬斯克 (Elon Musk) 曾表示,希望 Roadster 使用 SpaceX 冷氣體推進器實現懸停,CyberTruck 可以在其後貨箱蓋上安裝太陽能電池板以增加續航里程。
在最近在一次電話會議上,馬斯克還提出了自動駕駛小巴 Robo Van 的想法。然而,即使對崇尚高標準的特斯拉來說,徹底改變雨刷的想法也不太容易實現。
正如專利標題所暗示的那樣,特斯拉還考慮過使用脈衝鐳射來清除屋頂太陽能電池板上的碎片。







 
			 
			 
			 
			 
			 
			 
			 
			 
			 
			 
			 
			 
			 
			 
			 
			 
			 
			