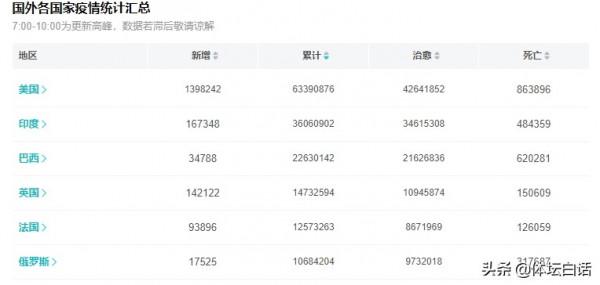
目前全球的疫情仍處於“嚴峻狀態”,我們國家相對是處理得是最好的,而美國最為嚴重,幾天前,我們還感嘆他們每天新增達到恐怖的100萬,而最新統計,美國新增病例達到了一天139萬,看樣子未來還有增長空間,讓人不寒而慄。
在美國生活的一些華人明星十分讓人擔心,1月11日,前女排國手馬蘊雯一家3口前往了拉斯維加斯遊玩,當地天氣溫度適宜,陽光明媚,一家人衣著單薄的秋裝,在一塊綠地上合影留念。
1米89的馬蘊雯身穿一身綠色寬鬆運動服,身材高挑勻稱如模特,而丈夫雷特衣著很隨意,襯衣+休閒褲,他和妻子身高几乎一樣,值得一提的是雷特已經50來歲,比馬蘊雯大了15歲左右,身材依舊十分勻稱健碩,夫妻倆將混血女兒抱在中間,小傢伙穿了一身白色貼身衣服,像個小天鵝,嘴裡吃著什麼,一臉懵懂,非常可愛。
一家人先後打卡多個景點,還趕上了當地一些演出,演員女郎們都衣著十分火辣有個性,滿臉笑容,充滿著熱情,3歲的女兒看到後非常興奮,立刻上前與阿姨們合影,值得一提的是,當地疫情非常嚴重的情況下,所有人都沒有佩戴口罩,這樣的危險行為很是讓人擔心。
很多馬蘊雯的粉絲紛紛留言關心:“當地那麼嚴重,儘量還是不要到處湊熱鬧,如果非要,那麼也要戴好口罩啊,家人健康才是最大的快樂”“怎麼和美國人學呢,要學習中國的防疫措施才能安全啊”
中國女排經歷過3個輝煌時期,一是郎平球員時期的“5連冠”時代,二是2000年初,由陳忠和帶領的女排黃金一代,獲得了2個世界冠軍,三是郎平在2013年重掌女排教鞭之後,到2021年東京奧運會,這個時期一共奪得了3次世界冠軍。
而馬蘊雯在體育世家出生,身體天賦出眾,最早練習籃球,後來改練排球展現強大天賦,速度和彈跳都堪稱世界頂尖,經常上演各種背飛扣球,被譽為“背飛女王”,巔峰期多次代表國家隊征戰大賽,可惜的是她趕上了女排最為“灰暗”的時期,就是黃金一代之後的一段時期,生涯沒有獲得一個世界冠軍。
在她生涯末期,與女排的體能訓練師雷特相識並相愛,很快就有了一個女兒,如今雷特已經成為了德國體能訓練師,此前在中國,他的年薪就達到上千萬,有了多次冠軍經驗的加持,他如今的待遇只多不少,馬蘊雯如今已經跟隨丈夫前往美國定居2年多,與外國公婆住在一個大別墅中,相處十分融洽。
