今年的房地產,看起來似乎要比往年更加淒涼。
否則,作為頭部企業的萬科,其董事長鬱亮也不會在2022年開工後的年會上,說出“節衣縮食”、“不坐頭等艙”之類的驚人言論。
儘管近幾年來房地產行業始終保持著低迷狀態,但聯想到2018年的時候萬科才喊出“活下去”的口號,4年後又甩出如此“示弱”的詞句,總是會讓人產生縈繞不散的違和感——半隻腳踩在懸崖外的恆大都能表現得四平八穩,但素來以穩健著稱的萬科,反而慌了手腳?
就在鬱亮發聲的幾天前,幾乎快要砸鍋賣鐵的許家印,也仍然鎮定地聲稱有500億保交樓資金在手,絲毫不見慌亂。鮮明的對比下,萬科關於“頭等艙”的內部發言,更像是一場“自爆式”的反向營銷。
畢竟從長遠來看,鬱亮的發言狠狠收割了一波消費者的信心,直接鞏固了萬科的品牌護城河。
4萬億信貸投放救不了房企,股價“暴雷”或成常態
房地產是否如鬱亮所言進入了“黑鐵時代”,暫時還不能有所定論,但房企,或許是真的來到了生存環境最惡劣的階段。
雖然在2022年1月份,銀行信貸投放達到了創紀錄的4萬億元,其中政策也明確了在金融監管部門的引導下,房地產融資將漸次迴歸正常。但房地產企業的生存環境,短時間內仍然不會有太大改善。
首先,是“房住不炒”的核心定位,決定了房價漲幅限制仍會有所保留。
再加上租購併舉的政策引導,長租房市場和新的房產模式正在被社會各界所接受。即便是融資放開後,信貸緊縮導致購買力透支的消費群體,也很難再撐起房地產的營收資料。
這也意味著未來很長一段時間內,房價都將進入平穩週期。而房企,在告別了高速增長之後,也要面對消費者購房慾望普遍降低的狀況。
其次,是國家政策需要房地產市場保持長期的穩定狀態,快速擴張模式將不再適用於新的市場環境。
銀行“兩條紅線”和房企“三條紅線”的存在,已經將整個行業帶入了滲透式監管的新時代。在這樣的環境下,企業可以自由發揮的空間並不算大,最核心的因素還是要看政策環境如何變化。
這也導致了資本市場對房企信心將會持續降低,而且也更容易遭受惡意做空的攻擊。
從2017年商品房銷售陷入長期增長低迷開始,許多房地產上市企業都或多或少經歷過惡意做空的負面影響,甚至直到現在,這樣的情況也並不罕見。
就比如在前不久的2月11日,在港股上市總市值接近160億港元的正榮地產,忽然就遭受了80%的暴跌。這一跌幅不僅創造了最高記錄,還一度觸發了市場調節冷靜期機智,最終還是讓正榮地產蒸發了將近130億港元的市值。
儘管在正榮地產的官方解釋中,出現如此大幅度的暴跌,是源自於個別機構惡意做空再買入的違法操作。但翻看近兩年正榮地產的財報資訊,其主要原因或許還是營收增速的逐年走低,以及166億元的境外債券壓力。
前有恆大債務危機中遭受的輿論、股市雙重惡意做空,後有正榮險些原地破產,房企暴雷似乎有常態化的趨勢。在這種前提下,由董事長鬱亮率先“錨定”企業所面對的危機,避免謠言發酵,或許不失是一種有效的反制行為。
只不過,萬科真的存在“暴雷”風險,以至於董事長連頭等艙都不敢坐了嗎?
房地產迴歸消費品,萬科反向營銷“穩定軍心”
從近三年來萬科的財務報表來看,一張頭等艙機票的錢,萬科大概還是出得起的。
2019年萬科的總營收為3679億元,淨利潤388.7億元;2020年總營收4191億元,淨利潤415.2億元。2021年目前已公佈的前三季度財報,總營收2714.6億元,淨利潤166.89億元。
雖然去年第四季度的財報還未公佈,但根據估算,大機率2021年總營收資料會呈現出增長態勢,只是淨利潤方面或許會有一定程度的回落。就整體而言,萬科的盈利資料仍保持在正常可控的健康範圍內。
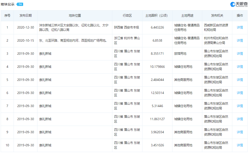
儘管根據國際評級機構穆迪的預測,2022年的中國房地產開發商銷售額將會出現5%~10%的降幅。再加上天眼查資料庫中,萬科最新的地塊公示停留在了2020年12月30日,過去一整年間新樓盤開發將近暫停。
但萬科有著深圳地鐵這樣的“國字輩”大股東坐鎮,同時早已開始進行的租賃業務轉型,無疑也意味著充足的風險承受能力。
也就是說,萬科的現狀雖然不能盲目樂觀,但實際情況絕非鬱亮所說的那樣,已經到了連“頭等艙”都要錙銖必較的危險階段。
其實從“黑鐵時代”這個名字上,就不難看出鬱亮的一部分真實想法。
《黑鐵時代》這本書,是在王小波去世後,由妻子李銀河將未完成的片段整理後釋出,本就帶著十足的遺憾。用來定義行業規模萎縮後的房地產,某種意義上也的確有所契合。
鬱亮在2014年的時候,曾借用過《白銀時代》的書名來定義房地產市場。幾年後卻直接跳過黃金、白銀、青銅的“時代三部曲”,選用了黑鐵的名字,他必然是明白名字背後所意味的跨度。
因此我們可以大膽猜測,鬱亮的發言,除了提醒萬科員工、合作方以及管理團隊,在鎖表出清的大環境下萬科對於“去金融化”的決心外。最主要的,還是讓萬科的潛在購房者看到,在大部分房企都躺平“擺爛”的當下,只有萬科還在嘗試著挽回局面。
此前,國家統計局局長在會議中明確表示,房地產是國家層面認定的支柱產業,而住房更是要歸屬於居民的消費之中。而作為消費品,品牌形象的重要性不言而喻。
早些年間,消費者購買房產時,考慮更多的是地段、交通、配套設施等附加價值。但到了如今,決定消費者是否掏錢的,大概只剩下開發商能否“活”到期房交付的那一天了。
萬科自曝企業已經進入背水一戰、決定生死的時刻,比起別的房企對經營情況的遮遮掩掩,反而顯得大方且自信。而從董事長往下,“不坐頭等艙”之類減少額外非必要開支的規定,雖然看似是噱頭,但也讓萬科集中全力度過難關的決心更加令人信服。
畢竟房地產並不只是企業實力的較量,政策環境變化、全球經濟、疫情走勢等都是要綜合考慮的因素。而其中最關鍵的,還是人們對房地產的信心是否充足。
看似自曝短處,實則“反向營銷”,萬科的這一波操作,實在是“贏麻了”。
