sponsored links

李誕退出笑果文化董事

李誕退出笑果文化董事

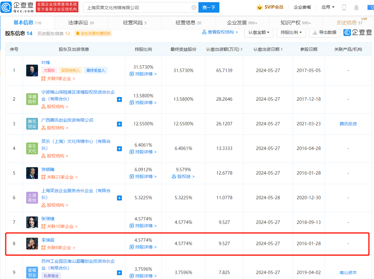
Tech星球2月21日訊息,近日,上海笑果文化傳媒有限公司發生工商變更,李瑞超(李誕)退出董事職務。企查查資訊顯示,笑果文化是一家喜劇脫口秀內容提供商,公司成立於2014年,法定代表人為葉烽,註冊資本208.13萬元人民幣。李誕目前仍為該公司股東,持股4.5774%。

李誕退出笑果文化董事

李誕退出笑果文化董事

分類: 情感
時間: 2022-02-20

相關文章

所謂的男人三十而立
古語有云:三十而立,四十而不惑,五十而知天命,六十而耳順,七十而從心所欲,不越矩. 一. 論講三十 三十而立,自我感覺是對男性不公平,也是對女性的貶低,現在很多女性不亞於男孩,手不能提?肩部能扛?不存 ...

要安全還是要操控?沃爾沃S90和凱迪拉克CT6這樣選準沒錯!

要安全還是要操控?沃爾沃S90和凱迪拉克CT6這樣選準沒錯!
男人三十而立,不同於以前關注定位剛需的小型車和緊湊型車,不少消費者都將目光瞄準到了更大更豪華的中大型車身上,比如以"56E"為首的BBA就有著較高的熱度. 但受限於預算原因,這一價 ...

“二環十三郎”陳震:從飈車到車評人,他經歷了怎樣的蛻變

“二環十三郎”陳震:從飈車到車評人,他經歷了怎樣的蛻變
秋名山有五連"髮夾彎",北京有二環. 憑藉<頭文字D>中扮演的藤原拓海,周杰倫獲得了金馬獎,並且帶火了豐田AE86. 然而,現實生活中真正的漂移車神,號稱二環十三郎的陳 ...

三十而立,四十不惑,五十知天命,如何理解?

三十而立,四十不惑,五十知天命,如何理解?
孔子曰:"吾十有五而志於學,三十而立,四十不惑,五十知天命,六十耳順,七十而從心所欲不逾矩".五十過後,細細品味這句話,寓意深刻. 而事實上,不少人三十未立.這個"立&q ...

不同年齡段的男人 如何選擇適合自己的腕錶?
男士一直以來就是腕錶的主流消費群體,腕錶在他們身上有化腐朽為神奇的魔力,被稱之為"腕上的服裝",對於手錶的選擇往往與他們的年齡有關.20歲個性張揚,手錶是個人的一個飾品玩具,以炫酷 ...

“軟飯硬吃”的3位男明星,各有各的優秀,愛老婆的男人終成大器

“軟飯硬吃”的3位男明星,各有各的優秀,愛老婆的男人終成大器
<披荊斬棘的哥哥>也太好看了,張晉果然是個寶藏男人,會武術,唱跳還俱佳. 不得不誇一下娘娘看男人的眼光,真準. 而在14年前,張晉還是吃軟飯的代表,提起他都是,蔡少芬的老公. 如今的張晉已 ...

楊冪終究管不住迪麗熱巴穿保險褲非要露出2cm這腿哪個男人會不愛

楊冪終究管不住迪麗熱巴穿保險褲非要露出2cm這腿哪個男人會不愛
關注過熱巴的人都知道她是楊冪工作室旗下的藝人,作為嘉行的顏值擔當,她在一出道的時候就獲得了觀眾們的一致好評,顏值和演技都很出眾,因此如今的她也成為了娛樂圈的當紅花旦啦.不過如今成名後的熱巴也漸漸改變穿 ...

戴安娜的侄女,在哈里王子婚禮上美成仙女,為何偏愛大齡離異男人

戴安娜的侄女,在哈里王子婚禮上美成仙女,為何偏愛大齡離異男人
在英國王室親戚中,有這樣一位少女. 她的美貌和戴妃不相上下,為人卻十分低調,若不是在哈里王子婚禮上的驚豔亮相引起世界的關注,這名貴族少女只會願意繼續生活在自己喜歡的社交圈中,她就是凱蒂·斯賓塞. 20 ...

50歲男人怎樣打扮得體?根據膚色、高矮和胖瘦,分享3個穿搭乾貨

50歲男人怎樣打扮得體?根據膚色、高矮和胖瘦,分享3個穿搭乾貨
#五十歲的中年男人該怎樣打扮才得體呢# 有人說"男人五十一枝花",這個年齡階段的男性大都事業有成,成熟穩定,所以在穿戴上就要顯得得體大方. 大多數時尚博主都在強調怎麼穿,而忽視了前 ...

綠男人,品味色,初秋一抹綠茶味兒穿搭,絕了

綠男人,品味色,初秋一抹綠茶味兒穿搭,絕了
在人類尤其是男人的DNA 裡,綠色是保護色,是愛的顏色.在精神層面,綠色對感知疼痛的神經元刺激最微弱,綠色相對於其他顏色能產生平靜的舒適感.當情緒低落消極時,綠色讓我們的情緒更加積極.這也是為什麼很多 ...

“王寶釧”沒等來“薛平貴”,5位男人傾心於她,年過半百仍未婚

“王寶釧”沒等來“薛平貴”,5位男人傾心於她,年過半百仍未婚
一首七律絕句道出了王寶釧的一生,帶我們夢迴大唐,回到了那個感人肺腑的<薛平貴與王寶釧>時期. 不圖權貴不圖榮,擊掌別親風露行. 九曲迴腸千疊恨,一簾幽夢幾時情. 寒窯長伴霜欺月,孤枕相依淚 ...

開放三胎,男人還會娶妻難嗎?

開放三胎,男人還會娶妻難嗎?
以前我國只准生一胎,後來開放了二胎政策.由於人口老年化,國家需要年輕勞動力,現在又放了三胎. 我可以說,開放三胎後,女性的地位又會下降了,重男輕女的情況也就更嚴重,誰願意自己家女孩子花了很多錢培養,接 ...

男人每天堅持做40個俯臥撐,身體會有什麼好處?不妨花一分鐘看看

男人每天堅持做40個俯臥撐,身體會有什麼好處?不妨花一分鐘看看
導語:因為工作越來越忙,很多男生養成了懶惰的習慣,然而,如果我們長時間不運動,對我們的健康尤其不利. 其實運動很簡單,例如,我們可以在家做一些俯臥撐,俯臥撐不需要分時間和地點,只要有時間就可以做,而且 ...

男人想要腰腹力量強?從這幾個核心動作入手

男人想要腰腹力量強?從這幾個核心動作入手
私信"資料包"--領取"25.6G健身減脂資料包" 男人促睪,是為了雄性荷爾蒙,為了男性特徵旺盛.而男性還需要擁有一條好腰,男人腰板好,哪裡都很好. 男人揉痛背 ...

《中國式離婚》原著別怨小楓多疑,是肖莉段位太高,男人容易動心

《中國式離婚》原著別怨小楓多疑,是肖莉段位太高,男人容易動心
文/夏日蓮兒 婚姻的失敗通常是因為內因,是兩個人內部出現了嫌隙,得不到修復導致婚姻最後的分崩離析. 但是有的嫌隙是可以彌補的,這時最怕外部因素的介入,外因會使裂縫增大,猶如屋漏偏逢連夜雨一樣,加速著婚 ...

男人過了五十歲以後毀滅自己幸福的行為有哪些?
對於大多數過了五十歲的男人來說,他們無論工作還是家庭,基本都已經進入了穩定期,有的男人雖然是單身,但他們也都有自己的生活規律. 男人過了五十歲以後,必須懂得什麼事該做,什麼事不該做,有一些能夠毀滅自己 ...

大熊貓繁殖有多難?300餘隻雄性熊貓,僅有12只是“真男人”

大熊貓繁殖有多難?300餘隻雄性熊貓,僅有12只是“真男人”
我們的國寶大熊貓降級了,想必大家都知道了. 事實上如果你比較關注大熊貓,你就會知道,2016年世界自然保護組織(IUCN)在第6屆世界自然保護大會期間就已經宣佈:大熊貓將不再是瀕危物種. 當時世界自然 ...

當中年男人決定去騎摩托

當中年男人決定去騎摩托
"雖然那輛摩托車大部分時間用來通勤,可我還是喜歡騎車的感覺.特別是下班路上,騎上摩托你就會有一種你可以去任何你想去的地方的錯覺.生活看起來就不止兩點一線了."玩摩托的L說. &qu ...

有多少男人願意讓孩子跟著女方姓?

有多少男人願意讓孩子跟著女方姓?
前段時間,我堂哥跟堂嫂兩個人因為孩子的姓氏的問題,鬧得大打出手,鬧得要去離婚.事情經過是這樣的:我堂哥和堂嫂當時生一胎男孩的時候,因為在堂嫂那邊生的,姓倒是跟我堂哥姓了,但是戶口上在了堂嫂那邊,上在和 ...

男人喜歡釣魚,不外乎這5個原因

男人喜歡釣魚,不外乎這5個原因
都說釣魚的大多數是男人, 為什麼這麼多男人都喜歡釣魚呢? 不外乎這5個原因. 1.動物本能驅動(這一條是被普遍接受的理由,瞭解的可以跳過) 男人換個詞語就是雄性, 用雄性來表示沒有任何不敬的意思, 我 ...