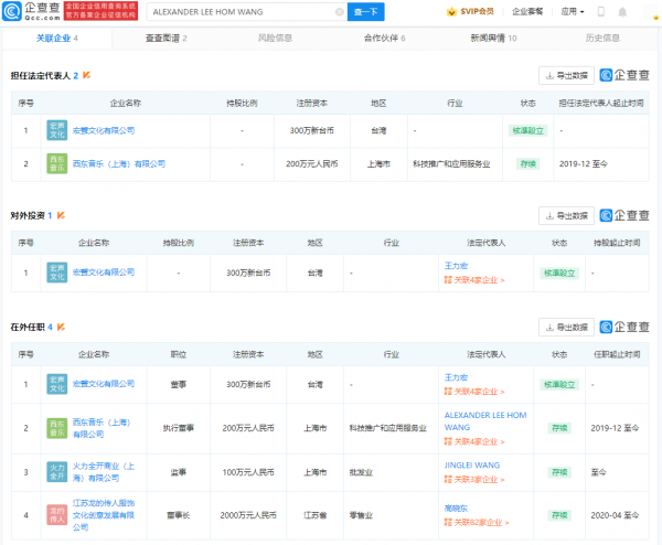
鞭牛士 12月20日訊息,近日,王力宏李靚蕾離婚事件引發熱議。據企查查,王力宏與李靚蕾共關聯兩家港臺公司,宏聲文化有限公司成立於2016年8月,法定代表人為王力宏。
此外,由李靚蕾任法定代表人的火力全開有限公司,對外投資了火力全開商業(上海)有限公司,王力宏與李靚蕾同時在後者公司任職。
鞭牛士 12月20日訊息,近日,王力宏李靚蕾離婚事件引發熱議。據企查查,王力宏與李靚蕾共關聯兩家港臺公司,宏聲文化有限公司成立於2016年8月,法定代表人為王力宏。
此外,由李靚蕾任法定代表人的火力全開有限公司,對外投資了火力全開商業(上海)有限公司,王力宏與李靚蕾同時在後者公司任職。
 
			
						 
			
						 
			
						 
			
						 
			
						 
			
						 
			
						 
			
						 
			
						 
			
						 
			
						 
			
						 
			
						 
			
						 
			
						 
			
						 
			
						 
			
						