sponsored links

華為成功註冊姚思為商標

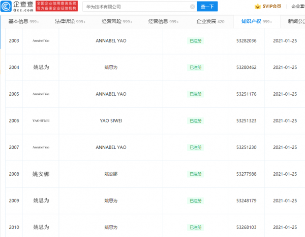
企查查App顯示,近期,華為技術有限公司成功註冊姚思為、YAO SIWEI、ANNABEL YAO商標,商標國際分類涉服裝鞋帽、方便食品等。企查查顯示,華為目前也已經完成了姚安娜商標的註冊。據悉,姚安娜原名為姚思為,為華為創始人任正非的小女兒。

華為成功註冊姚思為商標
華為成功註冊姚思為商標
華為成功註冊姚思為商標


分類: 軍事
時間: 2021-11-23

相關文章

聯合國報告:疫情未減緩 全球變暖
多個聯合國機構與合作伙伴近日釋出最新報告說,冠病疫情並未減緩氣候變化,未來全球變暖趨勢仍將持續,世界已大大偏離了實現<巴黎協定>氣候目標的時間表. 題為<2021團結在科學之中> ...

當細胞病理報告中出現這些字眼,提示可能患癌了

當細胞病理報告中出現這些字眼,提示可能患癌了
來源:復旦大學附屬腫瘤醫院 不過別擔心,碰到這種綜述級的問題或者拿到一份細胞病理報告時,還是要諮詢請教 專業細胞病理醫師. 細胞病理主要包括哪些標本? 讓我們先來了解一下細胞病理標本究竟包含哪些內容? ...

抗日名將王銘章犧牲後:義士贈名貴棺,妻子終生未再嫁,幼子修佛

抗日名將王銘章犧牲後:義士贈名貴棺,妻子終生未再嫁,幼子修佛
"你們快去同敵人拼吧,不要管我,我死在這裡很痛快!" 這句話,是抗日戰爭時期的"川軍代表"王銘章犧牲前留下的最後一句話. 王銘章口中的"這裡" ...

王傑:一個險些被埋沒、險些被冤枉的英雄

王傑:一個險些被埋沒、險些被冤枉的英雄
20世紀60年代,中國出現了一個幾乎與雷鋒齊名的英雄--王傑.他的事蹟感動了一代中國人,但人們也許不知道,王傑險些被埋沒,甚至險些被冤枉. 王傑生前服役照片 ■生死關頭,王傑捨己救人■ 1942年10 ...

原報道 | 星河的債與REITs

原報道 | 星河的債與REITs
觀點地產網"三道紅線"的出臺,讓房地產行業這一資金密集型行業產生了深刻的變化. 為應對"三道紅線",絕大部分房企都忙於降總負債.降有息負債.降低短債佔比.提高賬 ...

喉嚨被誰扼住了?金嗓子陷入“中年危機”
來源:中國新聞週刊 作者:餘源 80後對於這段廣告大概不會陌生-- 畫面中的羅納爾多手舉一盒藥片,露著兩排牙齒憨笑,衣服上還印著醒目的"金嗓子喉片"紅色logo,此時畫外音說道:& ...

減肥訓練營裡的瘦身男女:百天減重40斤 曾被當作孕婦讓座

減肥訓練營裡的瘦身男女:百天減重40斤 曾被當作孕婦讓座
摘要:相比傳統健身房,封閉式減肥營以"被迫自律"的加持更獲得市場認同.在北京郊區的一家減肥訓練營中,匯聚著來自全國各地的減重者.他們被體重反覆困擾,節食.切胃手術.健身私教課,都無 ...

中央派去東北100個架子團,為何組建?組織沿革?兵力規模?

中央派去東北100個架子團,為何組建?組織沿革?兵力規模?
01 架子團是怎麼來的? 在閱讀解放戰爭史時,常常可以看到一段史實,即中央要求關內各地向東北派出"100個架子團".所謂的架子團,就是配齊了團.營.連.排.班各級幹部,但卻沒有戰士 ...

誰是毛主席心目中的“關雲長”?

誰是毛主席心目中的“關雲長”?
毛主席一生博覽群書,在他涉獵廣泛的書單當中,不僅有內容充沛的軍事政治理論書籍,更有中國的四大名著. 而在這其中,讓毛主席翻閱較多的,自然是記載了許多軍事及謀略故事的<三國演義>.他不僅將這 ...

國家到底對錢學森有多重視?看看他身邊那兩個人的身份,就知道了

國家到底對錢學森有多重視?看看他身邊那兩個人的身份,就知道了
前言: 很多人認為錢學森最大的貢獻是導彈.原子彈,其實不是. 錢老最厲害之處在於他為新中國建起了一整套完整的科學研究體系,指明瞭發展方向,而且還是世界最先進的那種. 如果把導彈之類的武器比作" ...

楊得志回湖南探親,姐姐掏出一張照片:壞人看見要殺頭!為何?

楊得志回湖南探親,姐姐掏出一張照片:壞人看見要殺頭!為何?
1950年新年剛過,開國上將楊得志因為機緣巧合,內心深處的思鄉之情被勾起,隨後利用部隊休整的機會,回到了老家湖南醴陵. 走在回鄉的路上,楊得志不由得感慨,這些年老家的變化太大了.仔細想一想,自己已經2 ...

西雙版納該怎麼辦

西雙版納該怎麼辦
西雙版納是雲南老牌的旅遊地,因放開旅遊較早.景色旖旎.風情異域,積累了很大的名氣. 但在盛名之下,不少問題被忽視,外界對於西雙版納發展的認識有些模糊,現實的西雙版納是"兩面並存"的 ...

對越戰爭首個犧牲女戰士:搜尋後發現燒焦殘骸,遺體沒能完整回國

對越戰爭首個犧牲女戰士:搜尋後發現燒焦殘骸,遺體沒能完整回國
四十多年前,解放軍的"芭蕾女神"昏倒在排練室裡. 等她在病房裡甦醒時,醒來後的第一句話就是:"是不是該繼續排練了?" 當醫生多次勸說她為了身體再休息幾天.她卻堅 ...

深受張家大恩,郭松齡卻起兵反奉,如若成功,東北會出現什麼局面

深受張家大恩,郭松齡卻起兵反奉,如若成功,東北會出現什麼局面
郭松齡 圖片來自網路 在張作霖控制東北時期,雖然在內部也經常性地會出現一些矛盾和爭鬥,如張作霖和馮德麟.張作霖與湯玉麟之間的爭鬥,但從整體上來說,奉系內部沒有出現過像關內那種軍閥混戰,各位大佬今天高高 ...

漢文帝劉恆好歹也是九五之尊,他為何廢不掉年老色衰的竇漪房?

漢文帝劉恆好歹也是九五之尊,他為何廢不掉年老色衰的竇漪房?
熟悉漢朝歷史的人對竇漪房這個名字一定不陌生,作為漢文帝之妻.漢景帝之母,竇漪房先後以皇后.皇太后和太皇太后的身份執掌後宮四十餘年,在宮中的地位.威望可謂無人能比.不過,其實竇漪房也曾經因為年老色衰而逐 ...

1867年英國7歲女孩被殺害分屍,因手段太過殘忍,兇手被處於絞刑

1867年英國7歲女孩被殺害分屍,因手段太過殘忍,兇手被處於絞刑
1867年,英國一個偏遠小鎮上,三名7歲左右的小女孩外出玩耍,遇見一位年輕男人,其中一名女孩被男人拐走. 在發現女孩失蹤後,派出大量人員前去尋找,但是找到女孩時,才發現女孩已經被殺害,而且被殘忍分屍. ...

殺人事件《地鐵疑雲》,等你來解密誰是兇手……

殺人事件《地鐵疑雲》,等你來解密誰是兇手……
那是一個下午,在一節空蕩的車廂裡,一位女乘客,不知何時安靜地死了. 這是條老路線,乘客極為稀少,以致於當列車到達終點站,駕駛員巡視車廂時才發現這一慘劇.他連忙鎖上車廂門,報告了警方.隨後,警官和法醫迅 ...

《遊戲王》25週年開始預熱了?科樂美官方推出“終極海馬套裝”

《遊戲王》25週年開始預熱了?科樂美官方推出“終極海馬套裝”
自網易代理的遊戲王主題手遊<遊戲王:決鬥連結>上線火熱了一陣後,我們再聽到<遊戲王>IP的相關訊息時,往往來自於一些花邊新聞-- 而遊戲王卡牌能在國內掀起一陣熱潮,很大一部原因 ...

淮海戰役國民黨為何會輸?黃百韜被劉峙拖累死,杜聿明瞧不起粟裕

淮海戰役國民黨為何會輸?黃百韜被劉峙拖累死,杜聿明瞧不起粟裕
"雖然不願承認,但不得不佩服粟裕的軍事才能." 此話出自大家都熟悉的國軍名將杜聿明之口,從這話中也不難看出,杜聿明與其他國軍悍將的本質區別. 粗俗地來講,其他國軍悍將諸如張靈甫,陳 ...

墊底AI四小龍,雲從科技:一個偽人工智慧國家隊的謊言與真相

墊底AI四小龍,雲從科技:一個偽人工智慧國家隊的謊言與真相
在歷經炒概念.搶金主兩個階段後,中國AI四小龍已經進入爭奪國內人工智慧第一股的新階段. 2019年11月以來,曠視科技.依圖科技.雲從科技.商湯科技相繼提交了招股書.來得早不如來得巧,排在第三位提交I ...