摘要:針對電動汽車熱泵空調系統在冬季室外換熱器結霜後除霜效率低的問題,課題組設計並搭建了電動汽車熱泵空調系統的實驗臺架,研究了在環境溫度2.0 ℃和相對溼度85%下,電動汽車熱泵空調系統中的蒸發器結霜後,蒸發器迎面風速對除霜特性的影響。實驗結果表明:在實驗工況下,室外換熱器所結霜層呈間隔式分佈;在系統逆迴圈除霜過程中,壓縮機吸排氣壓力和換熱器進出口溫度逐漸升高,但隨著蒸發器迎面風速的增高而降低,同時系統的製冷量出現波動現象;在相同的結霜工況下,較高的蒸發器迎面風速能縮短除霜時間,蒸發器迎面風速從0.8 m/s增加至2.3 m/s,除霜時間縮短37.4%,但此時的HVAC出風溫度降低3.8 ℃,因此較低的蒸發器迎面風速則能提高HVAC出風溫度,提高乘員艙舒適度。
隨著能源危機和環境問題的不斷加劇,汽車行業採取節能環保措施勢在必行,其中純電動汽車作為汽車行業可持續發展的新途徑而備受關注。汽車空調作為其不可缺少的子系統不僅保障了乘員艙的熱舒適性,而且未來有可能整合電池與電子器件的熱管理功能。目前,針對冬季低溫採暖,電動汽車更傾向於採用熱泵空調系統。相比於電動汽車之前採用的PTC冬季採暖,熱泵空調系統可以降低能耗,顯著降低空調系統對電動汽車續航里程的消極影響。熱泵空調系統也存在一些問題,特別是在低溫、高溼的環境下,當系統處於制熱模式時,熱泵空調系統的室外換熱器容易結霜。室外換熱器結霜造成風道堵塞,以致於通風阻力增大,使得外部換熱器的整體熱阻增大,從而導致霜的累積和增厚,嚴重影響汽車空調系統的工作效能和可靠性。
針對熱泵空調系統冬季執行時的室外換熱器的結霜和除霜問題,國內外很多學者對其進行了研究。劉斌等發現換熱器表面溫度對霜層厚度有一定影響,結霜速率則與空氣相對溼度有關。Xu Bo等對比了水平和豎直扁管型兩種微通道換熱器的迴圈結霜效能,發現豎直扁管型微通道換熱器具有更好的排水能力,引數穩定性較好。Wang Feng等研究了表面溼潤性對翅片管換熱器除霜效能的影響,結果表明超疏水換熱器除霜效能最好,親水換熱器次之。Padhmanabhan等比較了翅片式換熱器與微通道換熱器在除霜過程中的效能差異,發現翅片換熱器的除霜時間約為微通道換熱器的2倍,但微通道的結霜率明顯高於翅片換熱器。董軍啟等研究了橫排和豎排兩種佈置結構形式的微通道換熱器分別在2和1 ℃的寒溼工況下的迴圈結霜和除霜的效能和機理,發現橫排佈置結構形式在結霜和除霜特性上均顯著優於豎排佈置結構形式。Qu等研究了多管換熱器的除霜效能,結果表明上層管的除霜時間快於下層管,其除霜效率可達34.5%。
以上研究主要集中在換熱器的型別和結構以及環境溫溼度對換熱器的結霜和除霜特性的影響。因蒸發器迎面風速會影響蒸發器表面的對流換熱,從而影響室外換熱器的結霜和除霜。陳軼光透過數值模擬結合實驗,發現結霜量與蒸發器迎面風速不呈正相關的線性增長,而是呈現開口向上的凹形。現階段蒸發器迎面風速對室外換熱器除霜特性的影響尚不明確,因此課題組設計並搭建了電動汽車熱泵空調系統的實驗臺架,研究了在同等結霜工況下,蒸發器側風機送風風速對系統除霜特性的影響。
    1 實驗裝置和實驗方法
    1.1 實驗裝置
為模擬汽車行駛環境,整個系統搭建在焓差室中。焓差室由室內側和室外側2部分構成,透過獨立的環境控制系統來控制2側房間的溫溼度,達到模擬車內和車外環境的效果。整個實驗裝置和系統測試示意圖如圖1所示,透過室內外環境控制系統中的冷凍機組、電加熱器和電加溼器控制室內側/室外側的溫度和溼度,同時由兩側風洞裝置控制風量大小。
圖1 空氣源熱泵系統實驗裝置示意圖
    Figure 1 Experimental diagram of air source heat pump system
實驗採用的電動汽車熱泵系統為3換熱器系統,製冷劑為R134a。系統包括電動渦旋壓縮機(容量為34 ml,電壓320 V)、室外換熱器(630 mm×360 mm×20 mm,豎排3流程)、室內蒸發器(250 mm×247 mm×48 mm,豎排4流程),室內冷凝器(200 mm×180 mm×30 mm,豎排4流程)、電子膨脹閥(功率50 W,直流電壓24 V)、氣液分離器、質量流量計和閥等部件。系統透過閥的通斷來實現製冷和制熱模式的切換。當系統執行制熱模式時,閥2和4開啟,閥1和3關閉,此時從壓縮機排出的高溫高壓制冷劑透過室內冷凝器向HVAC總成內的空氣散熱,製冷劑之後依次透過電子膨脹閥、蒸發器和氣液分離器回到壓縮機。系統室外換熱器除霜則透過逆迴圈實現,即關閉閥2和4,開啟閥1和3,高溫高壓的製冷劑從壓縮機排出後經過室外換熱器,釋放熱量實現霜層融化,製冷劑再依次經過熱力膨脹閥、室內蒸發器和氣液分離器回到壓縮機。
為測量製冷劑的溫度和壓力,在壓縮機、室外蒸發器、室內冷凝器、室內蒸發器的進出口分別佈置溫度和壓力感測器,均透過安捷倫資料採集儀採集資料。溫度感測器為四線制PT100鉑電阻;壓力感測器為NS-P系列顯型壓力感測器測量,量程為0~4 MPa;空調箱出風溫度可通過出風混合箱測得。實驗引數測量精度如表1所示。
表1 試驗檯測量裝置精度
Table 1 Measuring device accuracy
蒸發器容易在高溼度、非極低環境溫度、低風速和高換熱量工況下結霜,系統採用全新風模式,室內側和室外側溫溼度均保持一致,空氣乾球溫度取2 ℃,空氣相對溼度取85%。蒸發器迎面風速由透過風速標定實驗的室外風機的風量來控制。在實驗過程中,透過定時拍照的方式記錄室外換熱器的結霜和除霜情況。在結霜過程中,每隔1 min拍照一次,在除霜過程中,每隔2 s拍照一次。為研究蒸發器迎面風速對除霜過程的影響,需要確保結霜量相同,故蒸發器迎面風速1.5 m/s作為統一結霜風速。當換熱器表面完全結霜後,系統切換成逆迴圈制冷模式來實現除霜,壓縮機轉速設定為4 000 r/min,同時調節蒸發器迎面風速的大小,依次分析迎面風速為0.8,1.3,1.5,1.8和2.3 m/s時對除霜的影響。
    2 實驗結果分析
    2.1 結霜
實驗開始前將室外側空氣的相對溼度設定為50%,系統穩定執行後,透過室外側的環境控制系統,將室外側空氣的相對溼度增加至85%,熱泵系統的蒸發器開始結霜,觀察結霜情況。
當系統穩定執行後開啟電加溼器,8 min後,蒸發器表面開始出現結霜跡象,29 min後結霜完畢。結霜過程中蒸發器表面變化如圖2所示。霜層分佈呈現間隔式,第Ⅱ流程出現左半流道未結霜的現象。
圖2 蒸發器結霜變化圖
    Figure 2 Frost formation diagram of evaporator
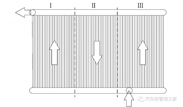
蒸發器的流程分佈和製冷劑流向如圖3所示。製冷劑經過電子膨脹閥節流之後,進入蒸發器,當蒸發器表面溫度低於周圍空氣的露點溫度與水的冰點溫度時,空氣中的飽和或過飽和水蒸氣就會在蒸發器表面凝結成核,凝結液滴會進一步凍結。隨後周圍空氣中的水蒸氣不斷在凍結的液滴上凝華結霜,霜將整個表面覆蓋。第Ⅰ流程的換熱器扁管中,製冷劑因重力作用從上往下流入底部集液管,此流程的扁管中液態和氣態製冷劑均勻分佈,因此霜層分佈較為均勻;製冷劑進入第Ⅱ流程時,氣態製冷劑密度較小,易從集液管進入扁管,並集中在第Ⅱ流程左半部分扁管,導致這部分製冷劑未發生蒸發吸熱,所以出現右半部分扁管結霜,左半部分扁管未結霜的現象;製冷劑進入第Ⅲ流程後,同樣因重力作用自上而下流動,因氣態製冷劑流速較快,聚集在換熱器第Ⅲ流程右部,液態製冷劑很難到達該位置進行換熱,導致換熱器第Ⅲ流程的右下角部分扁管未結霜。
圖3 蒸發器模型
    Figure 3 Model of evaporator
    2.2 除霜
結霜完成後,關閉壓縮機,關閉閥2和閥4,開啟閥1和閥3,將系統切換到製冷模式,透過逆迴圈達到除霜的目的。在除霜過程中2 s拍照一次記錄蒸發器表面霜層變化過程。設定蒸發器迎面風速為1.5 m/s,除霜過程中的蒸發器表面變化如圖4所示。隨著時間的推移,蒸發器的第Ⅲ流程表面的霜層首先融化,60 s後第Ⅲ流程的霜全部融化,直到380 s,第Ⅰ流程的霜層才全部融化。
由圖5得知,在製冷模式下,壓縮機排出的高溫製冷劑從換熱器的第Ⅲ流程下方的集液管進入換熱器的扁管,第Ⅲ流程的扁管因最先與製冷劑發生換熱,所以第Ⅲ流程的扁管除霜最快。製冷劑依次經過3個流程的換熱器扁管換熱後,製冷劑溫度逐漸降低,第Ⅰ流程的扁管除霜時間較長。
圖5 除霜時蒸發器裡製冷劑流向
    Figure 5 Refrigerant flow in evaporator
    during defrosting
    2.3 迎面風速對除霜特性的影響
2.3.1 迎面風速對除霜時間的影響
在相同的結霜工況下,改變蒸發器迎面風速,比較所需除霜時間。經實驗測得資料得出除霜時間與蒸發器迎面風速關係如圖6所示。由圖可知,增大蒸發器迎面風速,除霜時間縮短。說明高風速增大了空氣與室外換熱器表面的對流換熱量,除霜效率提高。
圖6 除霜時間和蒸發器迎面風速關係
    Figure 6 Relationship between defrosting
    time and evaporator head wind speed
2.3.2 迎面風速對壓縮機特性的影響
除霜過程中壓縮機吸排氣壓力隨風速變化情況如圖7所示。系統處於製冷模式,隨著除霜時間的增加,壓縮機吸排氣壓力均迅速升高,除霜200 s後壓縮機吸排氣壓力增大幅度放緩。從圖7中還可以看出,加大蒸發器迎面風速(室外風速),壓縮機吸排氣壓力逐漸降低,蒸發器迎面風速從0.8 m/s提高到2.3 m/s,除霜完成時壓縮機吸排氣壓力分別降低至15.6%和15.3%。
圖7 壓縮機吸排氣壓力和除霜時間關係
    Figure 7 Relationship between intake and exhaust
    pressure of compressor with defrosting time
壓縮機在除霜過程中的功耗變化如圖8所示,隨著除霜時間的增加,壓縮機功率瞬間上升再以較小的幅度緩慢增大。同時可以從圖中看出,蒸發器迎面風速對壓縮機功耗影響不大。
2.3.3 迎面風速對蒸發器進出口溫度的影響
圖9所示為在不同蒸發器迎面風速下,室外換熱器進出口溫度隨除霜時間變化曲線。隨著霜層的融化,不同風速下的室外換熱器進出口溫度均隨著除霜時間的增加而增加。在迎面風速0.8 m/s的蒸發器迎面風速下,室外換熱器的出口溫度最高,在迎面風速2.3 m/s的蒸發器迎面風速下,室外換熱器的出口溫度最低。這是因為高風速會增加室外換熱器與空氣的對流換熱,加強了室外換熱器內的製冷劑與空氣側的傳熱;在低風速下的壓縮機排氣壓力較高,排氣溫度較高,換熱器進口溫度高於高風速工況,所以在除霜結束後,迎面風速0.8 m/s工況下的進出口溫差比迎面風速2.3 m/s工況下的進出口溫差高7.8 ℃。
圖9 室外換熱器進出口溫度隨除霜時間的變化
    Figure 9 Variation of inlet and outlet temperature of
    outdoor heat exchanger with defrosting time
2.3.4 迎面風速對HVAC出風溫度的影響
圖10所示為在不同室外風量下,隨著除霜時間的增長,供暖通風與空氣調節(heating, ventilation and air condition, HVAC)出風溫度的變化情況。當逆迴圈開啟後,系統開啟製冷模式,故HVAC出風溫度迅速降低。在除霜過程中,室外換熱器左邊第Ⅰ流程的霜層融化變慢,因此在HAVC出風溫度降低到最小值後會出現變化幅度不大的現象;當除霜過程接近結束時,流出室外換熱器的製冷劑溫度逐漸升高,導致製冷量減少,HVAC出風溫度出現提高的現象;室外風量的變化也會導致HVAC出風溫度的變化,對比迎面風速0.8和2.3 m/s的HVAC出風最低溫度,前者比後者高3.8 ℃,並且在除霜的最後時間,前者的HVAC出風溫度高了4.9 ℃,所以較小的室外風量能得到更高的HVAC出風溫度。
2) 壓縮機的吸排氣壓力和室外換熱器進出口溫度在逆迴圈除霜過程中,均會逐漸升高,都隨著蒸發器迎面風速的增加而降低。但是系統的製冷量和HVAC出風溫度在除霜過程中不穩定,會出現波動現象。
    3 結論
課題組搭建電動汽車熱泵空調系統試驗檯,研究了室外換熱器在冬季執行時結霜特性,並比較分析了蒸發器迎面風速對室外換熱器除霜特性的影響,得出如下結論:
1) 在實驗測試工況下,受重力和兩相流製冷劑密度不均導致的氣液分離2個因素的影響,室外蒸發器所結霜層分佈呈現間隔式分佈。
2) 壓縮機的吸排氣壓力和室外換熱器進出口溫度在逆迴圈除霜過程中,均會逐漸升高,都隨著蒸發器迎面風速的增加而降低。但是系統的製冷量和HVAC出風溫度在除霜過程中不穩定,會出現波動現象。
3) 在逆迴圈除霜過程中,較高的蒸發器迎面風速可以提高除霜效率。除霜過程中,蒸發器迎面風速為0.8 m/s工況下除霜時間比迎面風速為2.3 m/s時縮短37.4%,但此時系統的製冷量增加,HVAC出風最低溫度降低3.8 ℃。綜合考慮除霜時間與HVAC出風溫度,在除霜過程中,文中實驗工況下的最佳蒸發器迎面風速為1.8 m/s。
作者:楊忠誠, 蘇 林, 方奕棟, 李 康, 穆文傑, 劉旭陽
上海理工大學 能源與動力工程學院摘要:針對電動汽車熱泵空調系統在冬季室外換熱器結霜後除霜效率低的問題,課題組設計並搭建了電動汽車熱泵空調系統的實驗臺架,研究了在環境溫度2.0 ℃和相對溼度85%下,電動汽車熱泵空調系統中的蒸發器結霜後,蒸發器迎面風速對除霜特性的影響。實驗結果表明:在實驗工況下,室外換熱器所結霜層呈間隔式分佈;在系統逆迴圈除霜過程中,壓縮機吸排氣壓力和換熱器進出口溫度逐漸升高,但隨著蒸發器迎面風速的增高而降低,同時系統的製冷量出現波動現象;在相同的結霜工況下,較高的蒸發器迎面風速能縮短除霜時間,蒸發器迎面風速從0.8 m/s增加至2.3 m/s,除霜時間縮短37.4%,但此時的HVAC出風溫度降低3.8 ℃,因此較低的蒸發器迎面風速則能提高HVAC出風溫度,提高乘員艙舒適度。
隨著能源危機和環境問題的不斷加劇,汽車行業採取節能環保措施勢在必行,其中純電動汽車作為汽車行業可持續發展的新途徑而備受關注。汽車空調作為其不可缺少的子系統不僅保障了乘員艙的熱舒適性,而且未來有可能整合電池與電子器件的熱管理功能。目前,針對冬季低溫採暖,電動汽車更傾向於採用熱泵空調系統。相比於電動汽車之前採用的PTC冬季採暖,熱泵空調系統可以降低能耗,顯著降低空調系統對電動汽車續航里程的消極影響。熱泵空調系統也存在一些問題,特別是在低溫、高溼的環境下,當系統處於制熱模式時,熱泵空調系統的室外換熱器容易結霜。室外換熱器結霜造成風道堵塞,以致於通風阻力增大,使得外部換熱器的整體熱阻增大,從而導致霜的累積和增厚,嚴重影響汽車空調系統的工作效能和可靠性。
針對熱泵空調系統冬季執行時的室外換熱器的結霜和除霜問題,國內外很多學者對其進行了研究。劉斌等發現換熱器表面溫度對霜層厚度有一定影響,結霜速率則與空氣相對溼度有關。Xu Bo等對比了水平和豎直扁管型兩種微通道換熱器的迴圈結霜效能,發現豎直扁管型微通道換熱器具有更好的排水能力,引數穩定性較好。Wang Feng等研究了表面溼潤性對翅片管換熱器除霜效能的影響,結果表明超疏水換熱器除霜效能最好,親水換熱器次之。Padhmanabhan等比較了翅片式換熱器與微通道換熱器在除霜過程中的效能差異,發現翅片換熱器的除霜時間約為微通道換熱器的2倍,但微通道的結霜率明顯高於翅片換熱器。董軍啟等研究了橫排和豎排兩種佈置結構形式的微通道換熱器分別在2和1 ℃的寒溼工況下的迴圈結霜和除霜的效能和機理,發現橫排佈置結構形式在結霜和除霜特性上均顯著優於豎排佈置結構形式。Qu等研究了多管換熱器的除霜效能,結果表明上層管的除霜時間快於下層管,其除霜效率可達34.5%。
以上研究主要集中在換熱器的型別和結構以及環境溫溼度對換熱器的結霜和除霜特性的影響。因蒸發器迎面風速會影響蒸發器表面的對流換熱,從而影響室外換熱器的結霜和除霜。陳軼光透過數值模擬結合實驗,發現結霜量與蒸發器迎面風速不呈正相關的線性增長,而是呈現開口向上的凹形。現階段蒸發器迎面風速對室外換熱器除霜特性的影響尚不明確,因此課題組設計並搭建了電動汽車熱泵空調系統的實驗臺架,研究了在同等結霜工況下,蒸發器側風機送風風速對系統除霜特性的影響。
    1 實驗裝置和實驗方法
    1.1 實驗裝置
為模擬汽車行駛環境,整個系統搭建在焓差室中。焓差室由室內側和室外側2部分構成,透過獨立的環境控制系統來控制2側房間的溫溼度,達到模擬車內和車外環境的效果。整個實驗裝置和系統測試示意圖如圖1所示,透過室內外環境控制系統中的冷凍機組、電加熱器和電加溼器控制室內側/室外側的溫度和溼度,同時由兩側風洞裝置控制風量大小。
圖1 空氣源熱泵系統實驗裝置示意圖
    Figure 1 Experimental diagram of air source heat pump system
實驗採用的電動汽車熱泵系統為3換熱器系統,製冷劑為R134a。系統包括電動渦旋壓縮機(容量為34 ml,電壓320 V)、室外換熱器(630 mm×360 mm×20 mm,豎排3流程)、室內蒸發器(250 mm×247 mm×48 mm,豎排4流程),室內冷凝器(200 mm×180 mm×30 mm,豎排4流程)、電子膨脹閥(功率50 W,直流電壓24 V)、氣液分離器、質量流量計和閥等部件。系統透過閥的通斷來實現製冷和制熱模式的切換。當系統執行制熱模式時,閥2和4開啟,閥1和3關閉,此時從壓縮機排出的高溫高壓制冷劑透過室內冷凝器向HVAC總成內的空氣散熱,製冷劑之後依次透過電子膨脹閥、蒸發器和氣液分離器回到壓縮機。系統室外換熱器除霜則透過逆迴圈實現,即關閉閥2和4,開啟閥1和3,高溫高壓的製冷劑從壓縮機排出後經過室外換熱器,釋放熱量實現霜層融化,製冷劑再依次經過熱力膨脹閥、室內蒸發器和氣液分離器回到壓縮機。
為測量製冷劑的溫度和壓力,在壓縮機、室外蒸發器、室內冷凝器、室內蒸發器的進出口分別佈置溫度和壓力感測器,均透過安捷倫資料採集儀採集資料。溫度感測器為四線制PT100鉑電阻;壓力感測器為NS-P系列顯型壓力感測器測量,量程為0~4 MPa;空調箱出風溫度可通過出風混合箱測得。實驗引數測量精度如表1所示。
表1 試驗檯測量裝置精度
Table 1 Measuring device accuracy
    1.2 實驗工況和方法
蒸發器容易在高溼度、非極低環境溫度、低風速和高換熱量工況下結霜,系統採用全新風模式,室內側和室外側溫溼度均保持一致,空氣乾球溫度取2 ℃,空氣相對溼度取85%。蒸發器迎面風速由透過風速標定實驗的室外風機的風量來控制。在實驗過程中,透過定時拍照的方式記錄室外換熱器的結霜和除霜情況。在結霜過程中,每隔1 min拍照一次,在除霜過程中,每隔2 s拍照一次。為研究蒸發器迎面風速對除霜過程的影響,需要確保結霜量相同,故蒸發器迎面風速1.5 m/s作為統一結霜風速。當換熱器表面完全結霜後,系統切換成逆迴圈制冷模式來實現除霜,壓縮機轉速設定為4 000 r/min,同時調節蒸發器迎面風速的大小,依次分析迎面風速為0.8,1.3,1.5,1.8和2.3 m/s時對除霜的影響。
    2 實驗結果分析
    2.1 結霜
實驗開始前將室外側空氣的相對溼度設定為50%,系統穩定執行後,透過室外側的環境控制系統,將室外側空氣的相對溼度增加至85%,熱泵系統的蒸發器開始結霜,觀察結霜情況。
當系統穩定執行後開啟電加溼器,8 min後,蒸發器表面開始出現結霜跡象,29 min後結霜完畢。結霜過程中蒸發器表面變化如圖2所示。霜層分佈呈現間隔式,第Ⅱ流程出現左半流道未結霜的現象。
圖2 蒸發器結霜變化圖
    Figure 2 Frost formation diagram of evaporator
蒸發器的流程分佈和製冷劑流向如圖3所示。製冷劑經過電子膨脹閥節流之後,進入蒸發器,當蒸發器表面溫度低於周圍空氣的露點溫度與水的冰點溫度時,空氣中的飽和或過飽和水蒸氣就會在蒸發器表面凝結成核,凝結液滴會進一步凍結。隨後周圍空氣中的水蒸氣不斷在凍結的液滴上凝華結霜,霜將整個表面覆蓋。第Ⅰ流程的換熱器扁管中,製冷劑因重力作用從上往下流入底部集液管,此流程的扁管中液態和氣態製冷劑均勻分佈,因此霜層分佈較為均勻;製冷劑進入第Ⅱ流程時,氣態製冷劑密度較小,易從集液管進入扁管,並集中在第Ⅱ流程左半部分扁管,導致這部分製冷劑未發生蒸發吸熱,所以出現右半部分扁管結霜,左半部分扁管未結霜的現象;製冷劑進入第Ⅲ流程後,同樣因重力作用自上而下流動,因氣態製冷劑流速較快,聚集在換熱器第Ⅲ流程右部,液態製冷劑很難到達該位置進行換熱,導致換熱器第Ⅲ流程的右下角部分扁管未結霜。
圖3 蒸發器模型
    Figure 3 Model of evaporator
    2.2 除霜
結霜完成後,關閉壓縮機,關閉閥2和閥4,開啟閥1和閥3,將系統切換到製冷模式,透過逆迴圈達到除霜的目的。在除霜過程中2 s拍照一次記錄蒸發器表面霜層變化過程。設定蒸發器迎面風速為1.5 m/s,除霜過程中的蒸發器表面變化如圖4所示。隨著時間的推移,蒸發器的第Ⅲ流程表面的霜層首先融化,60 s後第Ⅲ流程的霜全部融化,直到380 s,第Ⅰ流程的霜層才全部融化。
    2.3 迎面風速對除霜特性的影響
由圖5得知,在製冷模式下,壓縮機排出的高溫製冷劑從換熱器的第Ⅲ流程下方的集液管進入換熱器的扁管,第Ⅲ流程的扁管因最先與製冷劑發生換熱,所以第Ⅲ流程的扁管除霜最快。製冷劑依次經過3個流程的換熱器扁管換熱後,製冷劑溫度逐漸降低,第Ⅰ流程的扁管除霜時間較長。
圖5 除霜時蒸發器裡製冷劑流向
    Figure 5 Refrigerant flow in evaporator
    during defrosting
    2.3 迎面風速對除霜特性的影響
2.3.1 迎面風速對除霜時間的影響
在相同的結霜工況下,改變蒸發器迎面風速,比較所需除霜時間。經實驗測得資料得出除霜時間與蒸發器迎面風速關係如圖6所示。由圖可知,增大蒸發器迎面風速,除霜時間縮短。說明高風速增大了空氣與室外換熱器表面的對流換熱量,除霜效率提高。
圖6 除霜時間和蒸發器迎面風速關係
    Figure 6 Relationship between defrosting
    time and evaporator head wind speed
2.3.2 迎面風速對壓縮機特性的影響
除霜過程中壓縮機吸排氣壓力隨風速變化情況如圖7所示。系統處於製冷模式,隨著除霜時間的增加,壓縮機吸排氣壓力均迅速升高,除霜200 s後壓縮機吸排氣壓力增大幅度放緩。從圖7中還可以看出,加大蒸發器迎面風速(室外風速),壓縮機吸排氣壓力逐漸降低,蒸發器迎面風速從0.8 m/s提高到2.3 m/s,除霜完成時壓縮機吸排氣壓力分別降低至15.6%和15.3%。
圖7 壓縮機吸排氣壓力和除霜時間關係
    Figure 7 Relationship between intake and exhaust
    pressure of compressor with defrosting time
壓縮機在除霜過程中的功耗變化如圖8所示,隨著除霜時間的增加,壓縮機功率瞬間上升再以較小的幅度緩慢增大。同時可以從圖中看出,蒸發器迎面風速對壓縮機功耗影響不大。
圖8 壓縮機功耗隨除霜時間的變化
    Figure 8 Variation of compressor power
    consumption with defrosting time
2.3.3 迎面風速對蒸發器進出口溫度的影響
圖9所示為在不同蒸發器迎面風速下,室外換熱器進出口溫度隨除霜時間變化曲線。隨著霜層的融化,不同風速下的室外換熱器進出口溫度均隨著除霜時間的增加而增加。在迎面風速0.8 m/s的蒸發器迎面風速下,室外換熱器的出口溫度最高,在迎面風速2.3 m/s的蒸發器迎面風速下,室外換熱器的出口溫度最低。這是因為高風速會增加室外換熱器與空氣的對流換熱,加強了室外換熱器內的製冷劑與空氣側的傳熱;在低風速下的壓縮機排氣壓力較高,排氣溫度較高,換熱器進口溫度高於高風速工況,所以在除霜結束後,迎面風速0.8 m/s工況下的進出口溫差比迎面風速2.3 m/s工況下的進出口溫差高7.8 ℃。
圖9 室外換熱器進出口溫度隨除霜時間的變化
    Figure 9 Variation of inlet and outlet temperature of
    outdoor heat exchanger with defrosting time
2.3.4 迎面風速對HVAC出風溫度的影響
圖10所示為在不同室外風量下,隨著除霜時間的增長,供暖通風與空氣調節(heating, ventilation and air condition, HVAC)出風溫度的變化情況。當逆迴圈開啟後,系統開啟製冷模式,故HVAC出風溫度迅速降低。在除霜過程中,室外換熱器左邊第Ⅰ流程的霜層融化變慢,因此在HAVC出風溫度降低到最小值後會出現變化幅度不大的現象;當除霜過程接近結束時,流出室外換熱器的製冷劑溫度逐漸升高,導致製冷量減少,HVAC出風溫度出現提高的現象;室外風量的變化也會導致HVAC出風溫度的變化,對比迎面風速0.8和2.3 m/s的HVAC出風最低溫度,前者比後者高3.8 ℃,並且在除霜的最後時間,前者的HVAC出風溫度高了4.9 ℃,所以較小的室外風量能得到更高的HVAC出風溫度。
圖10 HVAC出風溫度隨除霜時間的變化
    Figure 10 Variation of HVAC outlet air
    temperature with defrosting time
    3 結論
課題組搭建電動汽車熱泵空調系統試驗檯,研究了室外換熱器在冬季執行時結霜特性,並比較分析了蒸發器迎面風速對室外換熱器除霜特性的影響,得出如下結論:
1) 在實驗測試工況下,受重力和兩相流製冷劑密度不均導致的氣液分離2個因素的影響,室外蒸發器所結霜層分佈呈現間隔式分佈。
2) 壓縮機的吸排氣壓力和室外換熱器進出口溫度在逆迴圈除霜過程中,均會逐漸升高,都隨著蒸發器迎面風速的增加而降低。但是系統的製冷量和HVAC出風溫度在除霜過程中不穩定,會出現波動現象。
3) 在逆迴圈除霜過程中,較高的蒸發器迎面風速可以提高除霜效率。除霜過程中,蒸發器迎面風速為0.8 m/s工況下除霜時間比迎面風速為2.3 m/s時縮短37.4%,但此時系統的製冷量增加,HVAC出風最低溫度降低3.8 ℃。綜合考慮除霜時間與HVAC出風溫度,在除霜過程中,文中實驗工況下的最佳蒸發器迎面風速為1.8 m/s。
作者:楊忠誠, 蘇 林, 方奕棟, 李 康, 穆文傑, 劉旭陽
上海理工大學 能源與動力工程學院
風速為1.8 m/s。
作者:楊忠誠, 蘇 林, 方奕棟, 李 康, 穆文傑, 劉旭陽
上海理工大學 能源與動力工程學院
源與動力工程學院
源與動力工程學院
風速為1.8 m/s。
作者:楊忠誠, 蘇 林, 方奕棟, 李 康, 穆文傑, 劉旭陽
上海理工大學 能源與動力工程學院
源與動力工程學院
, 李 康, 穆文傑, 劉旭陽
上海理工大學 能源與動力工程學院
源與動力工程學院


















 
			 
			 
			 
			 
			 
			 
			 
			 
			 
			 
			 
			 
			 
			 
			 
			 
			