佳能公開了已申請的鏡頭的專利,日本專利公開號: 2022-20096 號。其中包括“20mm F1.8”、“24mm F1.8”和“28mm F1.8”的示例。
按照佳能公司在專利申請中所描述的說法:
近年來,隨著CCD、COS感測器等攝像元件的畫素數的增加,攝影和攝像裝置的光學系統具有了更高的光學效能。然而,隨著視角增大,離軸像差增加,這導致光學系統的尺寸增加,以便令人滿意地校正增加得離軸像差。
本發明的目的在於提供一種光學效能良好、製造容易且小型的光學系統,以及具有該光學系統的透鏡裝置及攝像裝置。
一、示例 1 (28mm F1.8)
焦距 28.60mm
F 值 1.85
半視角(度) 37.1°
半像高 20.15mm
光學總長度 81.00mm
後焦距 13.20mm
這隻鏡頭是單個大型的對焦組對焦。
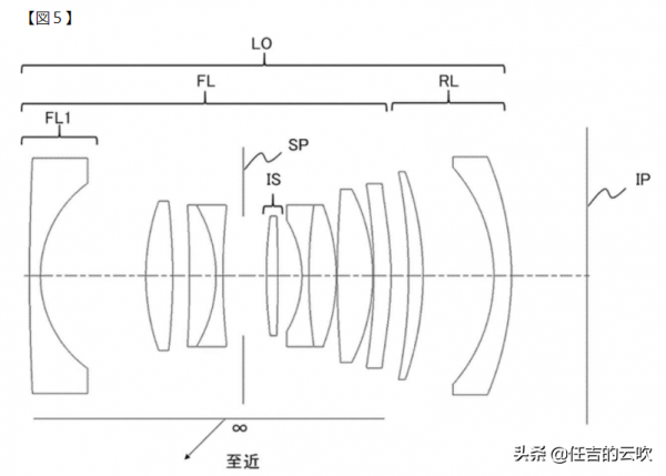
二、示例 2 (20mm F1.8)
焦距 20.60mm
F 值 1.85
半視角(度) 46.4°
半像高18.71mm
光學總長度 84.87mm
後焦距 11.00mm
這隻鏡頭和28/1.8一樣,是大鏡組單組對焦。像場有點偏小覆蓋全畫幅,四個角落會發黑
三、示例 3 (24mm F1.8)
焦距 24.72mm
F 值 1.85
半視角(度) 41.2°
半像高19.34mm
光學總長度 81.00mm
後焦距 11.00mm
鏡組設計和第一個28/1.8幾乎一致,只是鏡組的資料不同
四、示例 4 (20mm F1.8)
焦距 20.50mm
F 值 1.85
半視角(度) 46.5°
半像高18.60mm
光學總長度 84.95mm
後焦距 11.52mm
這個設計和上面第二個20/1.8鏡組設計類似。區別是將大鏡組的單組對焦,變成了雙鏡組差動對焦。在製造成本上會高於上個20/1.8鏡頭。
五、示例 5 (24mm F1.8)
焦距 24.60mm
F 數 1.85
半視角(度) 41.3°
半像高 19.32mm
光學總長度 73.00mm
BF 10.50mm
這個24/1.8的鏡頭,結構和上面第一個24/1.8一致。但是取消了防抖元件,應該是個縮小體積的經濟版。
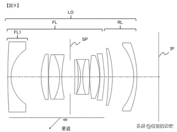
六、示例 6 (24mm F1.8)
焦距 24.72mm
F 數 1.85
半視角(度) 41.2°
半像高 19.54mm
光學總長度 81.00mm
BF 11.01mm
這個鏡頭和例項3的24/1.8與例項5的24/1.8的設計有所不同。例項3的鏡頭是具有防抖功能的,例項5的鏡頭取消了防抖功能。而例項6的設計,則包含了防抖以及大鏡組差動對焦,因此這款鏡頭的設計成本最高,畫質也會更好一些。
這幾組鏡頭的影象高度都比全尺寸略短,也就是邊角將超過有效的成像範圍。這可能是一種設計,可能是佳能希望使用失真自動校正,來填補無法覆蓋的角落。這樣可以大幅度縮小鏡組的體積。
24mm F1.8 的傳言已經流傳了很長一段時間,加上有3款這個鏡頭的設計方案,因此這款鏡頭應該會最早出現。
