時間真快,又是一年一度的CES大會召開的時候。
一般人只會以為它是n家廠商一起開一下發佈會,但懂行的人都會知道,CES就是個奇葩產品共賞大會。
今年果然沒讓機哥失望,大家又開始不正經的一年。
前幾年,蘋果在MacBook Pro上,取消鍵盤頂部F1~F12的功能鍵。取而代之的是一塊可觸控的長條螢幕:TouchBar。
TouchBar自出來後,因為功能單一,螢幕又太小,就沒少被吐槽雞肋。所以在去年,蘋果終於自己砍掉這個設計。
誰能想到,來到這一屆CES,別的廠商幫蘋果“發揚光大”。
像聯想,它選擇把副屏加在鍵盤的右側,於是畫風是這樣子的:
這臺ThinkBook Plus Gen 3,整臺機器是17.3寸。
但鍵盤區域的這個小螢幕,已經達到8英寸,這跟一臺iPad mini差不多大。
再加上,它還支援觸控操作。機哥有理由懷疑,聯想是把一臺平板塞進去筆記本。
實際上,機哥看目前的介紹,覺得它除了不能拿出來,別的操作跟平板都很像。
像我們在做報表時,就能拿它作為一個大號計算器。
還有,聯想還特意給它配了一根手寫筆,因此我們能像平板上寫東西那樣,錄入電腦裡。
機哥給聯想提個建議吧,如果還有下一代,建議把這塊螢幕做成模組化。咱們拆出來就能當一臺平板,一物兩用。
像雷蛇2018年釋出的Project Linda,觸控板拆出來就是一臺手機,多棒。
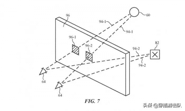
實際上,類似的設計,蘋果還真的申請過專利。比如拿iPhone當電腦觸控板、拿iPad當電腦顯示器。
只可惜,蘋果最終沒有做出來……倒是被別家搶佔先機。
這麼一說,機哥感覺這一屆CES,好多廠商都把蘋果停留在專利裡的東西,真真正正做出來,甚至玩得更high。
比如說之前機哥說過的,蘋果申請了好多摺疊專利。
恰好今天,也有外媒報道說:
蘋果在研發和測試多款包含可摺疊屏的原型機,但當前的可摺疊螢幕技術離蘋果的期望還有差距,還有很多需要妥協的地方。
(概念圖)
只是,為何遲遲不推出摺疊iPhone呢?
外媒拿到的爆料是這麼說的:蘋果的目標是確保可摺疊iPhone,較當前的iPhone不會有倒退。
言下之意……懂的都懂。
結果現在摺疊屏被玩出花的,反而是蘋果的一生之敵:三星。
我們現在常見的摺疊屏都是單折,三星在這次CES上,已經展示雙摺,甚至三折……
像這臺Flex S,用力一拉,就從一個屏變成三個屏的“真·大屏”。
不過,摺疊屏最讓人擔心的,就是外面那塊螢幕收到撞擊。修一下,錢包的大出血。
So,三星這次還帶來一款Flex G。透過向內摺疊,把脆弱的螢幕收在最裡面,就不用擔心劃傷的問題。
三星這是鐵了心,要把所有摺疊方式都做一遍啊。
除了摺疊,這次三星也帶來一款卷軸屏:Flex Slidable。手機側邊有個實體按鍵,一按就彈出擴充套件螢幕。
機哥感覺比較奇葩的是,三星的思路好像不是把內容放大,而是把安卓系統的“App抽屜”,藏在螢幕伸出來的部分。
真·實體·物理·應用抽屜。
等什麼時候有真機,機哥一定要好好上手一下。
不得不感慨,蘋果雖然早早申請一大堆摺疊專利,但至今還沒真真正正做出來,倒被三星佔盡先機。
如果說,上面說到的玩意,還是在已有的概念上小修小改,那接下來要說到的,可能是同一個問題,給出更實用的方案。
像如今我們手上支援無線充電的產品越來越多,機哥之前就想過,如果回到家,把手機、平板、耳機往桌上一丟,它就開始充電,這該多好。
蘋果之前在專利裡的解決方案是,用iMac作為主機,然後給桌子上的裝置進行隔空無線充電。
但是隔空無線充電的技術,難度太大,目前還沒能夠真正應用。
於是乎,這一屆CES,雷蛇想的法子是,那把桌子變成無線充電板不就好嘛。
So,它釋出了一款「真·電腦桌」:Project Sophia,整張桌子就是一臺電腦。
前面的面板是巨大的螢幕和揚聲器。至於CPU、GPU等核心零件,都放在桌子內部。
而這張電腦桌的精髓,在於桌面,整合13個不同的模組。比如說,看某個處理器的溫度是多高、網速是多少、調整音訊等等。
其中最實用的,可能還是給手機等裝置無線充電的模組。
比較神奇的是,這些模組都是獨立可換的,是用磁吸的方式卡在桌子裡。
像有些人喜歡手寫,就可以自己換個手寫模組:
機哥想,把所有模組都換成無線充電的,那就是一塊超大號的無線充電板。
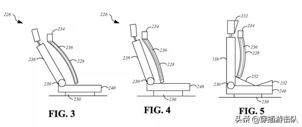
更神奇的是,這次CES上,雷蛇跟著釋出這款叫做Enki Pro HyperSense的椅子。
最大的亮點嘛……這椅子底下藏著一個巨大的振動馬達「Haptic Engine」。這名字跟iPhone身上的馬達「Taptic Engine」只有一字之差。
坐在上面時,可以隨著遊戲和電影中發生的動作,而振動和擺動。
外媒是這麼評價的:
在輪子附近裝有一個觸覺引擎,可以透過椅子傳遞觸覺反饋的顛簸。
可能老司機們,聽完後都要按捺不住。
最騷的是,我們平常用鍵盤打電腦遊戲,WSAD鍵分別用來控制前後左右。
而這款椅子會跟著變化。比如說,按下W鍵時,椅子向前傾斜;按下A鍵時,向左傾斜。
好傢伙,這代入感也是沒誰了……
要論本屆“奇葩之王”,機哥一定要頒給雷蛇。
給椅子加震動,其實蘋果也想過。蘋果汽車專利裡說,出現潛在危險時,透過椅子震動來提醒駕駛員。
不過蘋果汽車還不見影,咱們也不知道蘋果的震動座椅,還能咋玩。
說到蘋果汽車,機哥倒是想起之前蘋果還申請了一份專利,可以讓車上的玻璃變色。
甚至還能讓玻璃在透明、霧化、黑暗、反光等幾種模式之前切換,從而減少炫光。
機哥當時就在想,如果每個人的車子玻璃都不一樣,豈不是都是獨一無二的汽車?
沒想到的是,在這次CES上,有個廠商更進一步,已經做到整輛汽車的外皮變色。
我們之前都以為寶馬只是個做豪車的汽車廠,誰能想到,昨天它釋出的iX Flow汽車牛逼壞了,震驚整個科技圈。
你們沒眼花,這不是電影裡的場景,而是這汽車的車身顏色真的能夠自己變化。
這種技術叫做電子墨水。車身表面塗層有數百萬個微膠囊,膠囊裡自然是顏料了。
只要通電後,就能根據我們的想法改變車身的顏色。不過目前的技術,只能做到在白色、黑色、灰色3種顏色中切換。
寶馬說,白色的表面比黑色的表面更能反射陽光。所以夏天時,就能把汽車切換成白色,汽車內部溫度就會更低。
跟蘋果之前的專利,有異曲同工之妙。只是蘋果還停留在專利裡,寶馬已經把原型車做出來了……
機哥想,如果庫克這次有去CES現場,或許會被震驚八百年。
一個個廠商都把蘋果停留在專利裡的概念,用自己的方式做出來,甚至做得更加炫酷。
這次CES,蘋果沒有來參展。
機哥倒是覺得,蘋果該是時候多來看看這些新技術咯。
圖片來自網路
這些新機還挺酷
