[愛卡汽車 科技軼事 原創]
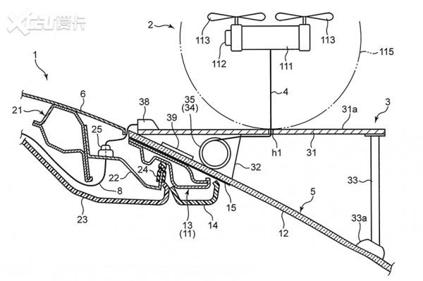
據外媒報道,馬自達近日提交了有關車載無人機的專利技術申請。專利圖顯示,該技術將允許無人機在車頂後方實現啟降,相應的,車輛對應位置將會出現類似停機坪的設計。
![]()
![]()
值得注意的是,該專利中的無人機與車輛之間或依靠線纜連線,停機坪內有疑似絞盤的設計用於收納線纜。專利圖中,無人機明顯具有攝像頭功能,猜測這項專利技術將用於高階自動駕駛或複雜路況下,作為車輛感知系統收集路況資訊使用。此前,福特汽車曾進行類似系統的研發工作,依靠無人機為自動駕駛汽車提供路況資訊。
精彩內容回顧:
馬自達新款MX-5釋出 動態表現再次提升
轉子最終救贖 馬自達的“餅”可算熟了
是豐田YARiS換標?全新馬自達2混動版
請輸入少於17字的頁標題----1
