寶馬已經為一種新的整合控制器申請了專利,該控制器將取代現有的物理按鈕。該裝置極有可能應用於未來發布的新車,其中包含可以透過一個按鈕進行啟動、換檔和駐車制動等操作的內容。
據美國專利商標局27日訊息,寶馬的新控制器是一種創新裝置,可以取代逐漸消失的物理按鈕,完成與大顯示屏統一的內飾設計。
其實寶馬這樣做,也是針對現在新能源汽車時代的一次大改變。眾所周知,現在引領電動汽車市場的特斯拉內飾設計就非常簡單,透過大型膝上型電腦級顯示屏消除了幾乎所有的物理按鈕。
在最近更新的旗艦電動車 Model X 和 Model Y 中,連位於轉向柱上的變速桿都被刪除了,並將變速功能整合到了顯示屏中。
其它廠商也沒有閒著,韓國高階品牌捷尼賽思正在透過 GV60 引入一種稱為“Crystal Sphere”的新設計來嘗試各種功能,它是一個球形結構,當啟動車輛時,會翻轉變成換擋機構,平時可以隱藏起來,讓中控臺變得更美觀。而梅賽德斯-賓士正在透過申請使用磁場的控制器專利來開發新的中控臺。
最近,寶馬在中控區域變化最大的車型是寶馬iX,寶馬正在推廣一種將所有啟動、換檔、駐車制動和駕駛設定整合到現有電子換檔桿位置的方法。
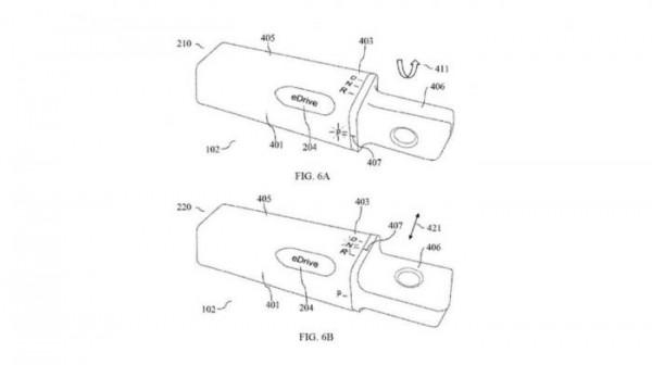
根據該專利,駕駛員可以透過啟動後立即彈出的控制器更改變速器操作和行駛設定,行駛後按下按鈕同時啟用變速器P和駐車制動器。
或者,可以透過提供安裝在轉向柱上的單獨槓桿來使用相同的功能。它是一種類似於第一代i3上應用的換擋桿的裝置,其特點是集成了更多的功能。
寶馬並未透露與專利內容相關的整合控制器的應用時間。一位業內人士解釋說:“不能保證專利申請一定會導致大規模生產。
