一輛行駛里程約5.2萬km、搭載274 920型發動機的201 8款賓士E300L(CODE808)轎車。該車360度影像系統中右側攝像頭無畫面,黑屏且有攝像頭禁用的紅色標誌(圖1)。
故障診斷:查詢故障車的車籍卡發現,此車搭載了程式碼為P47的高階駐車套件、程式碼為235的主動式駐車輔助系統和程式碼為501的360度影像系統。透過試車發現,掛倒擋後顯示屏中360度影像介面可以自動開啟,但右側畫面不顯示,黑屏並有攝像頭禁用的紅色標誌,其他部分的畫面能正常顯示。
連線診斷儀進行快速測試發現,該車駐車系統控制單元N62中儲存了3個故障碼:BlFC101一右側車外後視鏡內的攝像頭存在一般電氣故障,A+S; B1 FC113-右側車外後視鏡內的攝像頭存在斷路故障,S; B1 FC109一右側車外後視鏡內的攝像頭存在部件故障,S。檢視右側攝像頭B84/8的校準實際值為“正常”。
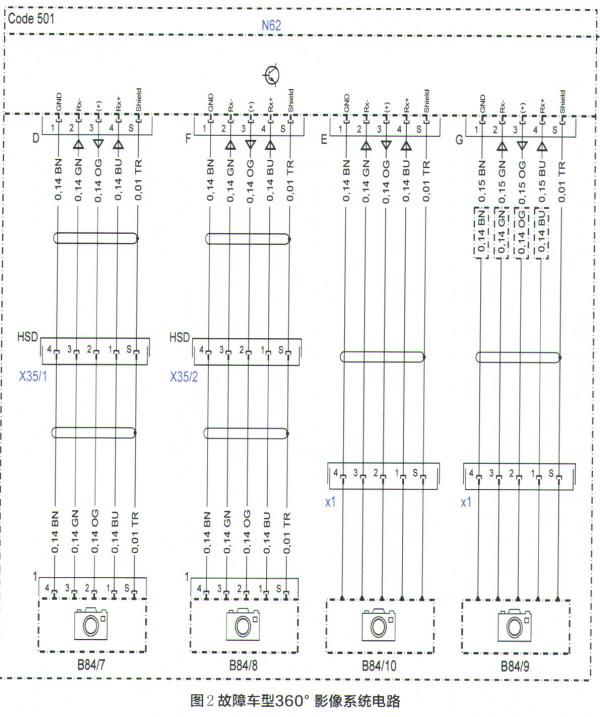
查閱360度影像系統電路圖(圖2)。360度攝像頭與駐車系統控制單元N62之間採用LVDS低電壓差動訊號技術,傳輸載體為4芯同軸電纜;4個攝像頭透過LVDS的4芯同軸電纜將影片數字訊號傳送到駐車系統控制單元N62、N62進行影片訊號處理後將最終的360度環檢視像數字訊號,透過高速影片連結HSVL線(1芯同軸電纜)傳送到主機A26/17,最後又透過高速影片連結HSVL線(1芯同軸電纜)傳送到儀表顯示屏組A40/16。
根據系統工作原理及故障碼分析,導致該車故障的可能原因有:右側攝像頭B84/8與駐車系統控制單元N62之間線路故障;右側攝像頭B84/8電氣故障;駐車系統控制單元N62軟體故障;駐車系統控制單元N62電氣故障。
嘗試進行斷電處理,故障依舊;嘗試更新N62的軟體發現,無新軟體;檢查右側攝像頭B84/8與駐車系統控制單元N62之間的線路,導通且插頭無腐蝕或退針現象。兩側的攝像頭安裝在外後視鏡中,不易拆裝,為了確認故障原因,我們拆下位於後備箱左側的駐車系統控制單元N62,在做好標記的情況下,將N62通向右側攝像頭B84/8的LVDS同軸電纜與其他攝像頭進行互換,結果發現故障畫面出現了轉移,由此可以排除駐車系統控制單元N62存在電氣故障的可能,並可以判定故障原因是右側攝像頭B84/8存在電氣故障。
更換右側攝像頭B84/8後進行路試並校準,該車故障被徹底排除。
