從佳能專利看佳能堆疊式感測器專利的強悍效能。佳能這個堆疊式感測器是由幾個感測器專利組成的,其中包括雙畫素的專利,全域性快門專利 ,堆疊式專利,有機薄膜光電感測器專利。
一、雙畫素專利號2021-166345
這是一款雙畫素 AF 堆疊感測器,從感測器結構可以看到,每個畫素由2個光電轉換器組成。佳能提出一種減少每個雙畫素對 AD 電路數量的方法的專利。該專利申請描述了一種“近”全域性快門感測器,沒有電荷保持電路。也就是擁有的讀出 ADC 越多,可以同時讀取感測器的次數越多。在這種情況下,佳能可以使用 2 個 ADC 讀取 3 個畫素。
二、全域性快門雙增益感測器專利號: 2021-166369
這個專利是全域性快門感測器。每個畫素分為兩個高靈敏度畫素和一個低靈敏度畫素。雖然沒有專利中沒有提到具體的動態範圍,但這將是這種感測器的一個的增強的功能。事實上,佳能正在尋求透過減少電荷轉移(當全域性快門將電荷從光電二極體移動到儲存時)引起的變化來改善影象捕獲。
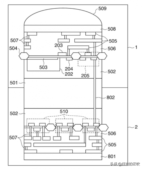
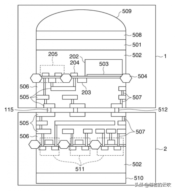
三、堆疊式感測器專利號:2021-166395
該專利申請描述了兩種堆疊式感測器實施方案,在每個畫素處都有焊盤,用於處理從光電二極體層到處理層的模擬資訊傳輸。上面的圖片展示了 2 層的堆疊結構方案,還可以採用最多 3 層的實施例,增加的第三層可以為額外的 AF 處理和/或記憶體提供電路的安裝基板。
本專利申請的總體思路是提供一種成本儘可能低的高效能感測器。堆疊式感測器,可以將每個畫素點的光電訊號及時傳輸給數模轉換AD電路,並進行暫存和輸出。
四、有機薄膜量子光電感測器專利號:2021-166242
該專利展示了一種使用量子點和有機薄膜進行光捕獲的感測器。透過這項專利申請將感測器cmos的技術水準向前推進 20 年; 量子點正在尋求取代 CMOS“光電二極體”作為光捕獲。在 IEEE上有一篇關於該技術的分析文章。佳能正在考慮抑制轉換產生的殘像,並提高感測器的耐熱性。
從以上的一系列專利我們可以看出,佳能在感測器的技術上積澱了雄厚的技術實力。並且在第四個量子光電感測器的技術上,遠遠超越同行。
本文並不是技術論文,只是大概揭示了佳能的cmos技術運用的這幾個專利。一臺相機要想領先,首先就是感測器cmos的技術領先,你說不是嗎?
