哈嘍!大家好,檢車家老司機又和大家見面了,我是檢車家的大拿,歡迎收看本次二手車檢測趣事,初來乍到卻被安了這麼個花名,想必大家也知道我的實力如何了,有道是長江後浪推前浪,前浪那啥~前輩別打。
粉絲小陶是一位東北小哥,本科畢業後幾個工作都不是很滿意,就堅持回到農村搞養殖了。對此親戚朋友同學質疑聲非常大,而最初的幾年確實也沒有掙到什麼錢,反而還虧進去不少,但隨著養殖專案調整慢慢上了正規。粉絲估計今年毛利應該有個小几十萬,雖說沒掙多少還很累,但已經非常滿足了,年底了獎勵自己一臺車開開心心過年。
小陶表示從小最夢寐以求的車型就是寶馬,不過今年就買新車有點超預算,就想著買輛二手車開著先熟悉下寶馬,看看質量怎麼樣,如果養護費用都在接受範圍內的話,就過兩年掙到錢再提輛新車。賣家在我們到之前就把車特意開到了地面車位,還表示車沒問題,隨便檢查,嗯~這樣的賣家大拿我喜歡!
繞車一圈,車身外表很是乾淨,給人一種很舒坦的感覺,相信老粉絲已經發現了一個小細節,後門玻璃上沒有小尾巴,沒錯!這是一臺短軸版的三系,而短軸才能體會到三系的精髓,這臺車2015款320I超悅版時尚型,新車指導價32.8萬,賣家報價17.8萬,表顯里程3.5萬公里,上牌時間2015年8月,下面大拿就帶大家一起去看看具體車況如何。
老規矩先從外觀漆面開始,放眼望去沒啥異常,儀器點上去的數值正常,但如果放在日系車上就偏高,一般德系車漆面整體厚度屬於偏高點,但如果經年累月的拋光之後的漆面也會有所降低。
來到後保險槓位置,因為它是塑膠材質經過大拿的檢視,有後期修復的痕跡,不過這屬於日常使用過程中比較容易剮蹭的地方,所以難免會有修復。
隨後大拿又檢查了全車玻璃,由於有些寶馬的玻璃沒有日期,所以只能透過一些小的細節比如接縫和打膠的痕跡,透過仔細檢查可以發現這臺華晨寶馬的玻璃沒有後期更換的痕跡。
整個外觀檢測下來,就開始說到的劃痕瑕疵比較明顯,其他方面有小範圍的噴漆修復但手藝不錯,漆面狀況非常良好。
打開發動機艙,整體看來發動機艙比較整潔,有過明顯清洗過的痕跡,很多老前輩都更喜歡原汁原味的機艙,為得是能發現更多問題,你問我怎麼看?大拿我當然是一點都不虛。
首先檢查機蓋固定螺絲有無拆卸,機蓋更換過的話螺絲會有擰動痕跡,可以看到這輛寶馬是沒有擰動痕跡的(螺絲如果有擰動會有掉漆以及磨損),初步可以排除前方事故的嫌疑。
機艙兩側葉子板梁及兩側減震包漆面平順,無褶皺敲打噴漆痕跡,同時結合處密封膠正常,綜合檢測下來基本可以確定為原廠。
機艙前側兩前大燈固定螺絲目前檢測沒有發現拆卸痕跡,同時大燈出廠日期為:2015年05月,早於車輛總裝出廠日期一個月左右,符合製造標準及出廠流程。
從機艙上部透過縫隙觀察車輛前槓及吸能盒固定螺絲後沒有發現異常拆卸現象,機艙兩側前縱梁目測無異常,但還需結合底盤深度檢查,目前來說是可以排除車身前部的嚴重撞擊事故。
開啟車門來到內飾環節,做工和質感簡單大方,用料符合這個價位,畢竟寶馬工程師是深度貫徹了“夠用”原則,體感來說的話不如某些車系的大沙發那麼舒適,但是再不舒服車評人們也有另一種說法圓回來,激烈駕駛下座椅包裹性和支撐性足夠強,有沒有那味兒了,哈哈。
那個小小的中控屏,要是換成原廠高配大屏的就更完美了。
接下來就是腰痛時刻,彎腰埋頭進行大規模檢查,安全帶的生產日期正常,固定螺絲,骨架,滑軌螺絲均無生鏽和泥沙痕跡,地毯也沒有水垢和痕跡。
內飾檢查完畢以後,緊接著連線電腦檢視,OBD檢測並未發現故障碼,看來這個賣家收拾車子還是挺利索的。隨後大拿又進行了功能檢測,包括啟動測試,各項功能和全車燈光,均未發現異常。
靜態檢測後車輛沒有比較大的異常,接下來是路試檢測(安全起見規定路試期間不允許拍照,還請大家腦補)在賣家熟門熟路的引導下,找了個相對封閉的道路測試,車輛綜合表現良好,加速有力,每一次過彎都將短軸寶馬的優勢發揮的淋漓盡致,顛簸路段車輛無鬆散異響,直線行駛無跑偏,緊急ABS制動效果良好,綜合表現符合目前的車齡工況。
下面進入舉高高模式,經賣家同意,大拿用單身幾十年的手速飛快拆下護板,以便更細緻的檢查
發變結合處都很乾爽,螺絲都沒有動過,連線處也沒有重新打膠滲油的情況。
檢查到發動機油底殼位置,有一些油漬(德系車的宿命論),不過這個不影響使用,介意的話可以後期處理下,話說要是德系品牌哪天造輛10萬公里依然乾爽的車,大拿我反而會感到詫異。
最後檢查了四輪減震和懸掛,未發現有漏油和膠套開裂的情況,而且螺絲也沒有過拆卸痕跡,只是有一些日常使用殘留的少量泥沙塵土,其它周圍附件也沒有被拆卸過,這一點證明了車輛平時的行駛路況應該比較好。
因為車輛的懸掛是經常會用到的,過濾顛簸都靠它,不過使用時間長了的話幾乎都會出現滲油現象,以及更換的可能,但是這輛車狀態比較不錯未發現有滲油痕跡,也跟公里數有很大關係,可以繼續使用。
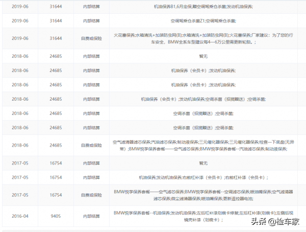
最後再來看看維保記錄,喲呵,好傢伙!全程進店保養就沒落下過,還經常搞些附加服務,看來前車主是4S店的忠實粉絲,或者是4S店的午餐搞的特別好。
粉絲小陶在聽完大拿我的彙報後非常滿意,由於不太懂價格這方面,就問了大拿我行情價是多少,看看還有沒有議價的空間,咱們檢測師雖然天天和車打交道,但也不是人形計算機,很多車型的行情還得靠手機來查。具體查詢之後,賣家的報價居然沒有太大出入,再看看近期成交的同款寶馬也在18萬左右,大拿不敢說一定沒這輛車況好,但大拿敢打包票說這輛3系的車況絕對在平均水平之上。
粉絲完全清楚後,大拿就收拾裝備和買賣雙方依依不捨的告別。走之前和粉絲嘮了幾句,粉絲說看二手車也看了挺久的,就出現兩種極端情況,有些車況差的連自己都能一眼看出來是大事故車,有些呢越精品的越不敢下手。如今在大拿的陪同下終於敲定之後,心裡終於踏實了,就等著這輛車年底之前帶個女朋友回去。
大拿我直接一句好傢伙,你這濃眉大眼,不說力壓金城武吧,好歹也算是顏值線上,怎麼女朋友都還沒找呢?小陶苦笑道,別提了!自從搞了養殖,天天就忙活唄,再加上農村沒啥年輕人,更別說女的了,就指望買了車讓家裡長輩安排去相幾門親事。大拿憋住笑安慰幾句就告辭了,PS:有沒有在東北的女粉可以考慮下小陶,哈哈。
好了,今天的檢測分享就到這了。大拿我修車多讀書少,文化有限,寫的不好還請大家海涵,我是檢車家的一名二手車檢測師,如果您有心儀的車但是拿不準車況或者其他新車、二手車相關的問題都可以找我們,檢車家願做你最懂車的朋友!
年輕人不講武德,12萬的豐田86真誘人!買家:耗子尾汁吧!
落地256萬的賓士AMGS63,為何前車主才開4個月就賣掉?
神操作!報價89萬的法拉利加州竟用鐵絲固定後槓?買主:法拉稀
全國不超過10臺,十年老車還賣90萬,敞篷的賓士大G長啥樣?
