文|談擎說AI
1920s,美國,史上首輛搭載了車載收音機的汽車緩緩駛上道路。儘管這個創意在當時囿於安裝複雜、價格高昂、操作窒息(駕駛和聽歌不能同時進行),並未能快速普及,但是“Adds TONE to your car(為你的車裝上音調)”這則雪佛蘭的廣告無疑向世界宣告著汽車娛樂功能時代的到來。
其實汽車行業到千禧年已經經歷了近百年的發展,但直到智慧汽車浪潮來臨前,相較於操作愈發絲滑的智慧手機突飛猛進,車機系統在很長一段時間裡,處處表現得都像是一個老頑固。在人人都用iPhone4體驗絲滑的切水果遊戲那些年,車機卻連導航還整不利索。
也因此,濃眉大眼的Apple Carplay橫空出世,為貧瘠的車機系統提供了一個絕佳補充品或替代品,甚至前些年一款車是否支援Carplay,都能左右一些消費者的購車決策。蘋果更是表示,2020年在全球售出的新車中,超過80%支援CarPlay。
這是因為蘋果的Carplay真的很香嗎?答案也許是曾經太多的車機系統確實沒有那麼美好。矮子裡面拔高個,在車機系統上,蘋果捎帶手就給汽車行業來了個降維打擊。
隨著現如今汽車智慧化變革浪潮來襲,蘋果CarPlay在汽車行業的地位,還能持續多久呢?滄海桑田太誇張,但賽道上也算得上是已經風起雲湧。
智慧化洪流下的ECU與IVI
想要了解汽車系統賽道上當前的情況,我們就需要先搞清楚汽車系統到底是什麼。
相信不少人都時常聽到車載OS、汽車作業系統、實時作業系統、嵌入式作業系統,甚至是AliOS、鴻蒙OS等等五花八門的汽車系統相關詞彙。汽車的作業系統確實會給人一種五花八門、雲裡霧裡的初印象,具體分門別類去詳盡分析往往非常複雜且需要很高的專業性。
也因此,我們首先要明確一點,汽車系統往往不是單一系統,而是多個系統的合集,這一眾系統又會因為分類依據的不同,存在或多或少的差異。
IVI、ECU
為了便於理解,我們以大眾視角來切入一個分類方式。汽車對於我們日常使用而言,無非起到了兩個主要作用:
一是在安全前提下的運輸作用,這主要是由汽車的“大腦”來調控實現的。具體來看,就比如汽車一些關鍵部位內的CPU,經採集、運算,而後將運算結果轉變為控制訊號,從而保持汽車發動機、變速箱等重要部位的正常運轉。這些對於運輸作用至關重要的關鍵控制部位,名字叫做ECU(電子控制單元)。
二是在行駛過程中的導航、音樂等資訊娛樂互動作用。這主要由儀表盤、中控臺、車機等等背後的底層系統支援來實現,這類不對汽車行駛決策起到直接作用的系統的名稱是IVI(車載娛樂資訊系統)。
明白了ECU和IVI,我們再來進一步分析兩者與汽車系統間的關係。
ECU其實和電腦結構存在相似性,被裝在了諸如燃油車發動機等重要部位中。這就意味著出於安全性考量,背後支援ECU正常工作的系統在精準度、效率上的要求往往是非常高的。
也因此,安卓和IOS等移動式作業系統無法完全承擔這部分工作,往往需要嵌入式作業系統。這樣的弊端也顯而易見,即“大腦”嵌入車輛區域性限制了其體積和儲存等能力,就造成了硬體資源對系統而言非常有限,其儲存的程式碼往往只有幾兆。
對於主要負責資訊和娛樂互動的IVI而言,無需像ECU一樣達到極高的安全性要求,這就意味著其系統的“自由度”是要遠遠大於ECU系統的,當前透過安卓和IOS這樣的移動式作業系統就可以實現。專注於智慧手機系統的谷歌和蘋果,分別將Android Aoto和Apple Carplay輕鬆上車也很大程度得益於此。
燃油車時代底層的系統支援大抵如此,ECU系統解決方案供應商主要有Vector,KPIT,ETAS等,IVI系統解決方案供應商則包括了QNX、Microltron以及谷歌(安卓)、微軟(Win)等科技網際網路巨頭。
汽車從純粹的駕駛到追求功能性,到資訊化,再到如今的智慧化浪潮來襲,這對於背後的系統而言,也同樣在悄然生變。
變遷
在大多數車企都追求汽車智慧化的今天,諸如百度、阿里、華為等等新玩家開始走入這條曾經顯得有些“無聊”的賽道,那麼傳統的ECU系統和IVI系統還能否充分定義這些新生玩家?
智慧化、車聯網的趨勢正在成為越來越多人的共識,這就意味著作為底層技術支撐的汽車系統主戰場也將會在未來逐步向此遷移,談擎說AI認為,兩個如今已愈發凸顯的問題也因此誕生,一是系統硬體層面的迭代需要提速,二是行業約束性共識終將重構。
我們先來看如今頗有些馬後炮,這主要體現在硬體層面的因和果。
因是自動駕駛等智慧化技術對感測器硬體以及資料採集能力要求的激增,想要實現這一點,就需要高畫質攝像頭,鐳射雷達,毫米波雷達等必備硬體上車,這也就給汽車系統的資料採集、處理、決策等行為提出了更多樣化且複雜的要求。
直接導致的結果,就是引發了對功能晶片數量以及自動駕駛晶片算力的需求空前。
至於行業約束性共識,以往在汽車安全方面,業內在很多方面都擁有非常成熟的約束框架,就比如德爾福公司提出的EEA電子電器架構,不僅減少了產業鏈的溝通成本,也能在一個共識性前提下減少不必要的試錯風險,提高行業整體效率。這往往是一個行業從出現到發展成熟的客觀規律。
今天我們已經見到了不少燃油車時代並不存在的安全事故隱患,就比如特斯拉等車企因自動(輔助)駕駛造成的事故發生,抑或諸多因存在安全隱患而頻繁發生產品召回的新勢力品牌。
不難發現,一個行業的約束性共識會直接影響到最下游的體驗,但尋找原因就必然要回溯到最上游。就比如曾經的汽車系統可以圍繞ECU和IVI來構建,未來在自動駕駛等全新技術面前仍繼續就顯得不太現實。那麼近年來新生的技術將如何劃分,來包含到底層系統的構建中?這無疑是需要考慮的。
任何的變革與創新都必然需要在磨合與試錯中反覆橫跳,才能到達一個相對成熟的位置。那麼對於當前已然在賽道上開跑的玩家們而言,他們又分別在依照怎麼樣一種邏輯構建自己的未來圖景呢?
BAH的單點切入與全棧角逐
汽車系統賽道相較於曾經已經出現了不少新面孔,這其中的大部分新玩家盯上的無疑是前景最為廣闊的IVI和自動駕駛的底層系統構建。其中已經站在了聚光燈下的當屬百度Apollo系統、阿里AliOS以及華為鴻蒙OS。
首先是阿里方面,就當前來看,AliOS並不是一個能夠為自動駕駛系統提供解決方案的供應商,而且在自動駕駛這一智慧化變革方面,相較於已經上車的百度Apollo等系統,AliOS當前的建樹著實不多。
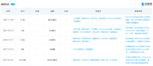
就AliOS的朋友圈與合作來看,我們都知道阿里當前聯合上汽打造了智己汽車,但即便是這樣一個“自家”品牌,在自動駕駛方面也跟AliOS沒什麼關係,而是同自動駕駛獨角獸Momenta進行合作。天眼查資訊顯示,Momenta的C+輪正是由上汽領投。
![]()
也因此,就像AliOS首席架構師謝炎所言,“未來中國汽車產業對外開放服務的只有兩種OS:一種是完全針對汽車駕駛場景從底層開始自主研發的作業系統 AliOS;一種是基於安卓等修改的其他OS。”
AliOS當前在汽車賽道更多的戰略權重還是放在了IVI系統而非汽車驅動或是自動駕駛系統。真正應該對標的正是安卓、IOS、Windows等IVI系統解決方案供應商,這其實與其戰略導向存在著緊密聯絡。
具體來看,今年十月,阿里和上汽合資的斑馬智行釋出AliOS智慧駕駛系統核心,將於明年免費提供給車企,目的是透過車機作業系統實現智慧座艙、自動駕駛等軟體的融合。
談擎說AI認為,做汽車系統,AliOS更像是希望透過對車載系統的規模化擴張迴歸到自己的C端生意基本盤上。
AliOS不僅相較於當前主流的移動式作業系統存在雲端資料優勢,與此同時,淘系、支付寶以及高德地圖等阿里現有生態能夠一同推動AliOS在汽車市場上形成自己的客觀競爭力,從而進一步反哺整個阿里的宏觀生態基本盤。
對於百度而言,隨著近年來在L4自動駕駛以及Robotaxi領域的不斷深耕,不難發現,Apollo的真正主戰場其實是在自動駕駛方面的底層系統構建。
與此同時,諸如DuerOS等百度開發的人工智慧系統最終也很有可能會以和Apollo以打包協同的形式在IVI領域得到能力釋放。
相較於阿里的單點切入,百度基於諸多底層系統融合打造的Apollo更像是一個應對汽車智慧化變革航母式的全棧解決方案,絕非僅是為了一個單一的終點。
從這個邏輯出發,華為和百度的基本邏輯其實是一致的,即前期更多地戰略導向還是切入B端市場,透過強技術突圍打造壁壘,重構整個產業鏈生態,從而走技術賦能的路線。
但比較有意思的是,百度和華為又存在鮮明的差異性。華為目前已經“重度”合作了極狐、賽力斯等幾個品牌,不僅是在智慧化方面的軟體解決方案全包,甚至是連鐳射雷達等Tier1硬體也包圓兒了。
而百度並沒有選擇參與如此“重度”的合作,而是親自下場造車,與吉利合資創立全新品牌集度。
為什麼華為、百度在汽車系統上相似的全棧式佈局戰略,到了下游的實操卻走上殊途?
談擎說AI認為,其實無論是華為還是百度,對於系統落地道路的選擇仁者見仁,智者見智,無非是根據自己的實際情況和未來戰略所調製的最優解。
具體來看,汽車系統和汽車終端放到手機上底層邏輯一定程度是相同的,就像是谷歌雖然為大規模做成自己的智慧手機終端,但其開發的安卓系統已經成為了絕大多數智慧手機品牌的選擇。而蘋果做出了自己的手機終端,也就註定了IOS系統在很大程度上都將會是一個較為封閉的狀態。
也因此,華為做系統的邏輯就像是谷歌打造安卓,而百度則更像是蘋果打造IOS。
如今的汽車系統正在面臨著技術歷練後新秩序的出現,即便當前在自動駕駛、智慧座艙等方面整個行業仍有巨大的補足空間,但當前我們不可否認的一個事實就是,相較於百年前搶佔了技術先機紅利的西方企業,一眾中國企業在這一輪的汽車變革浪潮前,已經蓄勢待發。
