關於手機攝像頭形態的探究,在這幾年之間一直以來都是手機廠商的一個重大課題,一些以往看來有些難以置信的設計也從幻想落地為現實,比如光學變焦攝像頭、潛望式長焦攝像頭、液態鏡頭等,手機攝像頭的形態其實已經變得越來越豐富了。
而作為最早在手機上使用潛望式長焦鏡頭的廠商之一,OPPO 最近就又有一份新的攝像頭形態專利被曝光了出來,竟然是在機身側面為攝像頭開了個孔,從而實現機身側面的機位拍攝。

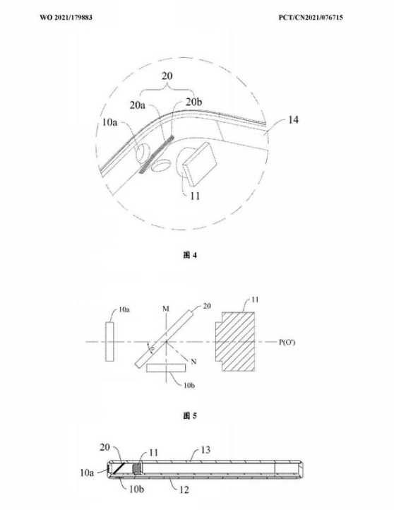
    當然,這個專利還真沒有表面上看起來那麼簡單,除了側面的開孔和鏡片,OPPO 還為它準備了一個內建的旋轉反射模組,當拍攝的物體從正面挪到側面,感測器就會轉而讀取側面進來的光線,在不移動手機本體的狀況下繼續拍攝。不過就我個人來看,這樣的設計多少還是有一點迷惑的,畢竟從兩個開孔位之間並沒有過渡的區域,直接切換進光方向似乎並不能真的不打斷拍攝——那不移動機位似乎也就失去了意義。

    而且另一方面,側面的機位視角一來很難用上優質的鏡片模組,成像畫質或許會和原來的後置鏡頭有比較大的出入;二來側面視角本身就比較奇特,除了隱蔽拍攝的狀況,在直覺上也沒有直接用後置鏡頭來得方便。就實用性而言,這個設計目前還是要打一個問號的。
不過話又說回來了,目前這一設計也是處於專利階段,與落地生產並不是一回事兒,在現在這個階段就開始討論它實不實用也是有失公允,後續如果OPPO 真的要推出類似設計的機型,相信會採用更實用、更成熟的設計。

 
			 
			 
			 
			 
			 
			 
			 
			 
			 
			 
			 
			 
			 
			 
			