文|凌清 圖|車宇世界、網路
溫馨提示:車宇世界,只做最真實的車評。 本文為【車宇世界行業事件評005】系列文章,為車宇世界原創,轉載請註明,侵權必究。
又到了一月一度的車型投訴榜時間了。由於購入一輛車型,不僅花費較大,而且對於消費者日後用車的安心度有密切關係。車型投訴數量,在一定程度上能夠體現一款車的可靠性,因而能夠為車主提供不錯的參考。
尤拉好貓
基於車質網資料,車宇世界發現,2021年11月份的車型投訴榜前10名車型,與10月份相比,整體有了很大的變化。10月份車型投訴榜前10名車型中,合資車型佔據大部分席位。
但是,2021年11月份車型投訴榜前10名車型中,自主車型佔據了半數席位。車質網資料顯示,2021年10月份,尤拉好貓、吉利星瑞、吉利博越、瑞虎8等車型均進入了當月車型投訴榜前10名。
11月車型投訴榜TOP10
而且,尤拉好貓、吉利星瑞和吉利博越等車型,均進入了當月車型投訴榜前5名。其中,長城旗下尤拉好嗎和吉利星瑞兩款車奪得了11月份車型投訴榜第1名和第2名。
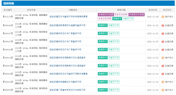
作為一款小型純電動車,尤拉好貓在2020年11月份正式推出。車質網資料顯示,2021年11月份,由於存在銷售欺詐(與宣傳不符)、影音系統故障、車載互聯故障、提不到等問題投訴案例達到580例,位居11月份車型投訴榜第1名。
尤拉好貓部分車質網使用者投訴截圖
其中,“與宣傳不符”問題是目前使用者投訴比較嚴重的問題。根據車質網使用者反饋顯示,在售2021款尤拉好貓存在實際使用晶片與宣傳使用晶片存在不符的問題。
比如,車質網一位使用者投訴稱:“城尤拉好貓汽車宣傳中,重點介紹其搭載咖啡智慧系統,該系統依託於高通車載智慧服務平臺,並詳細介紹了該平臺採用高通驍龍8核處理器,搭載Adreno640圖形處理器,經核實,好貓汽車實際使用的處理器為intel凌動3940處理器,與宣傳不符。”
尤拉好貓車質網使用者投訴截圖
作為吉利汽車旗下一款中級轎車,星瑞自從推出之後,憑藉出彩的造型設計、豐富的科技配置、寬裕的空間表現等,成為車市一款熱銷車型。從銷量上看,星瑞也是吉利汽車旗下銷量較好的轎車車型。
車質網資料顯示,2021年11月份,由於影音系統故障、導航問題、車載互聯故障、門窗異響等問題,且單月投訴案例達到426例,星瑞位居當月車型投訴榜第2名。
根據車宇世界查詢發現,目前星瑞存在的最多投訴案例集中在影音系統故障方面,表現為車機卡頓、導航出錯、反應延遲、黑屏、宕機等問題。
而且,截止到筆者本篇文章釋出(2021年12月1日),星瑞車載互聯故障問題的投訴案例,依然在持續攀升。
吉利星瑞
吉利星瑞車型投訴介面截圖
吉利星瑞車質網部分使用者投訴截圖
作為奇瑞汽車旗下一款中型SUV車型,瑞虎8也是車型投訴榜單上的常客了。關注車市的朋友應該知道,在車質網釋出的月度車型投訴榜(月度車型投訴榜TOP30)中,瑞虎8常常位居其中。
車質網資料顯示,2021年11月份,因為疑似設計缺陷、車燈不亮、影音西戎故障、變速箱異響等問題遭到車型,瑞虎8位居單月車型投訴榜第6名。
瑞虎8鯤鵬版
2021年11月份車型投訴榜前10名車型中,有5款合資車型進入榜單,包括寶馬iX3、日產奇駿、軒逸、天籟等。其中,有4款車型為日系車型,1款車為德系車型。
車質網資料顯示,2021年11月份,由於動力電池故障、電動機故障、發動機故障燈亮、剎車失靈等問題遭到投訴,寶馬iX3位居當月車型投訴榜第3名。
根據車宇世界查詢發現,目前寶馬iX3存在的最多的問題為動力電池故障問題。截止到我們本篇文章釋出,該問題依然在持續攀升。
寶馬iX3
2021年11月份,有4款日系車進入當月車型投訴榜前10名。其中,東風日產旗下奇駿、軒逸、天籟等3款車均在內。
車質網資料顯示,2021年11月份,奇駿、軒逸、天籟等3款車分別位居當月車型投訴榜第7名、第8名和第10名。
天籟
本文說明:
1、 本文投訴資料基於車質網,文中所涉及到的“車型投訴榜”,除非特別指明,均為“11月份車型投訴榜TOP10”,詳見文章配圖。
2、 本文涉及到的投訴案例,均來源於車質網。
宣告:本文為車宇世界運營部原創文章,凌清審閱,部分圖片來源於網路,標註來源的資料及相關資料均為引用。車宇世界原創版權所有,轉載請註明來源及作者。愛車,就來車宇世界,您的專屬選擇。
