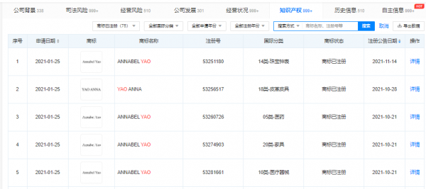
天眼查App顯示,近期,華為技術有限公司申請註冊的姚安娜、姚思為、YAO SIWEI、ANNABEL YAO等商標狀態變更為“已註冊”,國際分類包括醫療器械、通訊服務等。據悉,姚思為是姚安娜的原名,ANNABEL YAO為其英文名字。
2021年1月14日,姚安娜宣佈出道進軍娛樂圈之後,其姓名遭到多方惡意商標註冊,隨後,華為提交了姚安娜商標申請。
對於華為註冊“姚安娜”商標一事,市場產生了熱議。對此,任正非內部道歉公告表示,姚思為是任正非女兒,姚安娜是其藝名。而華為之所以註冊姚安娜商標,是因為社會上有些公司或個人惡意搶注姚安娜商標。華為不得為之,若自己不註冊,商標會被持續地惡意搶注,有許多不利的地方。
根據中國商標法的規定,中國大陸公民必須用公司名義或持有個體工商營業執照才可申請註冊商標,姚安娜還未註冊自己的公司。因此,任正非委託智慧財產權部代理註冊,以後再轉讓給姚安娜的工作室,費用由姚安娜支付。另外,公告還特意表示任正非是第一次公權私用,為此向全體員工道歉。(文|AI財經社 越程)
