近日,從外媒報道得知,現代汽車最近申請了一項在方向盤上增加螢幕的專利,這是一款雙輻條方向盤,其中在雙手置於9點鐘和3點鐘之間的位置集成了一個顯示屏。
這家韓國汽車製造商在德國申請了一項新的高階方向盤模組專利,其靈感似乎來自一級方程式賽車,這再次表明該公司願意嘗試新的東西。
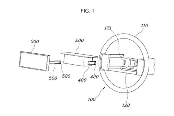
簡單地說,現代汽車的方向盤設計在駕駛員前方的方向盤上有一個顯示屏。這種設計解決了一些駕駛員面臨的方向盤遮擋儀表盤視線的問題。由於方向盤上顯示了最相關的資訊,因此沒有任何東西可以遮擋駕駛員的視線。
該專利非常詳細地解釋了駕駛員安全氣囊(也包含在方向盤中)如何在不損壞顯示器本身的情況下展開。顯示裝置和安全氣囊裝置透過單獨的安裝件隔開。現代此前曾試驗過方向盤觸控式螢幕控制,不過,該項最新專利更多地是為了監控車輛的重要資訊,而不是執行更換電臺等操作。
早在2019 年,他們就提出了一項名為Virtual Cockpit Study的專案,擬在方向盤面板的角落增加了兩個相當大的觸控式螢幕,而且因為它是觸控式螢幕,所以無需在方向盤上新增實體按鈕。釋出純電動概念車 Mint ,該車便是採用方向盤內安裝了一個寬屏顯示屏的形式。
我們很快能看到現代或創世紀的這一特色產品嗎?專利申請並不一定意味著情況會如此,但這項設計的實現,有效地取消了傳統的儀表盤,在未來有很大的發展方向。
本文所有圖片來源:carbuzz.com
