雖然目前國內在售的豐田車型跟國際上流通的型號仍相差甚遠,但常見的擁有四輪驅動系統的型號也很是能見,所以,今天便藉此文盤點一下豐田曾經出現的幾款恆時四輪驅動。
C.Diff Visc四驅驅動系統(1987年)
這是一套使用於前輪驅動、手動變速箱車型的粘性離合器作為中央差速器的恆時四驅系統。
這套四驅系統的結構原理都較為簡單,扭力從前差速器(藍色)出來後,接入一個分動箱(黃色),透過分動箱內部的離合器片工作與否及多寡,對扭力進行分配,屬於前輪部分的交給粉紅色的前輪傳動軸,分配給後輪的則有灰色部分傳遞給後輪傳動軸。離合器內部的油液有80%的自由體積,當前輪出現左右速度差就會令矽基油膨脹並硬化、從而令離合器片接合。
該系統從1987年開始服役,使用在Corolla、Corona、Camry、RAV4、Lexus RX等很多車型上,直至2005年退役。
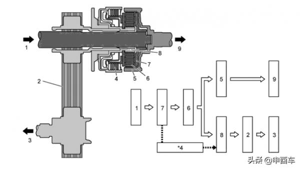
V-Flex系統(1989年)
V-Flex系統是豐田最樸實無華的四輪驅動系統,其原理相對而言也較為簡單,就是透過在一個Rotary Tri-blade Coupling(旋轉三葉聯軸器)連結後輪,或者也可以將此裝置理解為傳統意義上的“粘性離合器”。該離合器分為“工作室”和“控制室”兩大部分,兩者之間使用活塞隔開,工作室內包括了一組溼式離合器盤。
圖:離合器位於主傳動軸中部,並經過兩次進化,第一次是液壓離合器、第二次換成了ATC電子控制後差速器。
圖:V-Flex第一次改進後的離合器(4)。
圖:這是V-Flex第二代上使用的離合器式後輪差速器。
正常行駛時,傳動軸各部分也同步旋轉,離合器部件相對靜止;轉彎時,透過以最小的阻力緩慢轉動離合器來補償車輪速度差;當前輪打滑時,速度差變大,活塞後面產生的壓力增壓,從而壓縮離合器片,扭力分配到後輪。該系統最早使用在1989年的Starlet小福星(P80)上,之後的Tercel、Corsa、包括一直到第一代Vitz威姿、Will、bB等均有使用,直至2007年退役。
Fulltime-Visc四驅系統(1990年)
該系統是一套適用於後輪驅動車型使用的四驅系統,但前後輪扭力分配比例僅有50:50一種,所以使用這套系統全部為商用車或Minivan一類的車型。這套系統也較為簡單,使用一個行星式中央差速器,分動箱的輸入軸與行星齒輪的行星齒輪有花鍵連線,粘性離合器殼體也連線到行星齒輪,中央差速器內使用六對衛星齒外與定子齧合,內與太陽輪(後輸出軸)齧合,鏈輪襯套透過花鍵連線到托架的後部,粘性離合器的內軸和前驅動鏈輪與鏈輪襯套相連,鏈條用於將動力轉向從中央差速器傳遞到前傳動軸。
圖:1、從變速器輸出軸;2、分動箱輸入軸;3、定子;4、衛星齒;5、托架;6、驅動鏈條齒輪;7、套筒;8、到後傳動軸;9、輪轂;10、鏈輪襯套;11、鏈條;12、前輸出軸;13、到前傳動軸;14、粘性離合器;15、後輸出軸。
這套系統應用在Hiace、Granvia、Grand Hiace、Estima、Townace、Noah等車型上。
i-Four四輪驅動系統(1992年)
這套四輪驅動屬於後輪驅動車型專用,主要搭載車型是Crown、Mark II、後來Lexus GS和IS所使用四驅系統均為此套裝置,它適配於A750H、A760H、A761H自動變速箱,其分動器的型號為UF1AE。
從上面的剖檢視便可知道,其機械結構並不複雜,就是透過變速箱後部的一個電控多片式離合器作為分動器,接合時將動力分配到前輪,以達到3:7或者5:5的扭力分配。
圖:1、來自變速箱;2、鏈條;3、通向前輪;4、離合器;5、飛輪;6、衛星齒輪;7、托架;8、太陽輪;9、通往後輪。
該系統從1992年應用於Mark II、Chaser等車型上,於2009的Mark X 120一代停產後退役。
E-Four電子四驅系統(2001年)
在2001年推出的Estima(AHR10)及後來2003年推出的第一代Alphard(ATH10)上出現了一套名為E-Four並適用於Hybrid車型的電子化四輪驅動系統。它的工作原理非常簡單,它其實就是一個MGR電動機,透過一個兩個檔位的變速箱後將電機動力傳遞給後輪。
這臺後輪電機在不斷髮展過程中共推出過四代,從最早的Q210(25匹、108牛米)、到2005年推出的Q211(68匹、139牛米)、再到2015年的Q510(6.8匹、55牛米)、而最新一代則是2018年出現的Q610(54匹、120牛米)。但無奈地,雖然裝備這套系統的車型仍叫AWD,但它遠達不到機械傳動四驅系統的效果,經常被詬病後輪牽引力不足的問題。看來此係統仍需不斷改進。
Torsen四驅(2002年)
雖然每當提起Torsen機械式差速器時,絕大部分人都會想起AUDI的Quattro四輪驅動系統,但“Torsen”這個品牌由JTEKT公司(捷泰格)擁有,而這家公司則屬於豐田!JTEKT則是由Koyo精機和豐田機械在2006年合併而成。2002年開始投入使用的Torsen四驅系統最早出現在SUV上,2006年配備Lexus LS車系,2010年後則陸續應用到皇冠上,該分動箱型號為LF1A,可搭配豐田8AT或10AT的自動變速箱使用,當然混合動力變速箱也適用。
這款四驅系統的工作原理跟之前介紹的後輪驅動車型所使用的Fulltime-Visc系統基本一直,只不過分動部分從離合器是變成了Torsen機械式差速器,力量分配得更為細膩,能在50:50至30:70之間變化,而且力量傳遞也更為直接,對於提高車輛操控有要求的車型,幫助非常大。
DTV四輪驅動系統(2018年)
DTV的全稱是Dynamic Torque Vectoring AWD,是豐田在2018年才推出的電子控制多片式離合器系統,它屬於前輪驅動為主,無中央差速器和後差速器,只通過安裝在後變速箱內的兩個多片式離合器單獨連結後輪。
圖:最早使用這套系統的是第五代RAV4,它由GF2A分動箱和FD15EF後變速器組成,
圖:這就是後離合器體的內部結構。1、電控離合器、2、離合器控制單元、3、後凸輪離合器控制器、4、滾珠軸承、5、從動齒輪。
該系統透過方向盤角度感測器、車輪轉速感測器、加速度感測器、制動踏板、駐車制動器、節氣門位置、曲軸位置、檔位訊號等等各種車輛狀態感測器進行運算,能自動保持傳遞到後輪的扭力,並校正後分配給左右後輪。如果車輛在穩定的行駛狀態下一段時間,系統甚至斷開動力銜接以節省動力。
與這臺DTV系統協同工作是A25A-FKS和M20A-FKS引擎及K120F變速箱。
結語:
上述的僅僅是系統形式的介紹,當中還有很多變種形式,例如是用ATC離合器的四驅系統等等,還有很多不同時期的修改型號也沒有在本文列出。畢竟不單豐田、還有其他品牌的四驅系統都是在不斷的進化和修改中的。但文章最後還是那句關於用車方面的忠告:恆時四輪驅動系統僅適合於鋪裝路面使用、用於有效地分配引擎扭力,讓抓地力發揮得更好而已,切勿拿它去翻山越嶺,那不叫勇氣,那叫無知!












 
			 
			 
			 
			 
			 
			 
			 
			 
			 
			 
			 
			 
			 
			 
			 
			 
			 
			