雷遞網 雷建平 10月26日報道
華潤化學材料科技股份有限公司(證券程式碼:301090,簡稱:“華潤材料”)今日在深交所上市。
華潤材料此次發行2.22億股,發行價為10.45元,募資23.19億元。
華潤材料融資將投入珠海華潤材料年產50萬噸聚酯三期工程、珠海華潤材料10萬噸/年PETG特種聚酯工程、研發試驗場所及配套專案及補充流動資金。
華潤材料開盤價為14.8元,較發行價上漲41.63%;收盤價為18.97元,較發行價上漲81.53%;以收盤價計算,華潤材料市值為280.65億元。
第二季扣非後淨利下降47%
華潤材料的主要從事聚酯材料及新材料的研發、生產和銷售,主要產品聚酯瓶片用於生產飲用水瓶、熱灌裝飲料瓶、碳酸飲料瓶、食用油瓶以及醫用採血管、膜、片材等領域。
華潤材料主要客戶包括可口可樂、頂津、娃哈哈、怡寶、農夫山泉等國內外知名大型飲料品企業,且主要集中在國內。
招股書顯示,華潤材料在2018年、2019年、2020年營收分別為144.8億元、123.84億元、123.8億元;淨利潤分別為5.18億元、4.48億元、6.29億元。
華潤材料2021年上半年營收為59億元,較上年同期的60億元降1.74%;淨利潤為2.7億元,與上年同期基本持平;扣非後淨利為2.37億,較上年同期的2.46億元下降3.74%。
具體來看,華潤材料2021年第二季度營收為30.78億元,較上年同期的36.12億元下降14.79%;淨利潤為1.18億元,較上年同期的2.03億元下降42.2%;扣非後淨利為1.03億元,較上年同期的1.94億元下降46.72%。
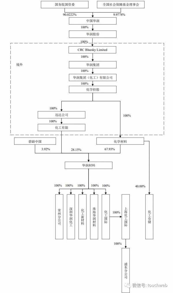
中國華潤為大股東
IPO前,華潤材料的實際控制人中國華潤透過化學材料及化工有限合計控制公司 96.08%股權。
IPO後,中國華潤透過化學材料及化工有限合計控制公司 81.67%股權。
———————————————
雷遞由資深媒體人雷建平創辦,若轉載請寫明來源。
