sponsored links

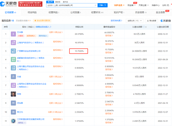
騰訊投資企雲方,持股約13.75%

鞭牛士 1月19日訊息,天眼查App顯示,近日,企雲方(上海)軟體科技有限公司發生工商變更,股東新增廣西騰訊創業投資有限公司、江蘇新潮創新投資集團有限公司等,其中廣西騰訊創業投資有限公司持有該公司約13.75%的股份。

企雲方(上海)軟體科技有限公司成立於2020年9月,法定代表人為方越,經營範圍包括資訊系統整合服務;資訊科技諮詢服務;資料處理服務;大資料服務;電子產品銷售等。官網顯示,企雲方是一家專注於企業經營計劃與分析的數字化解決方案提供商。

騰訊投資企雲方,持股約13.75%
騰訊投資企雲方,持股約13.75%
騰訊投資企雲方,持股約13.75%

分類: 旅遊
時間: 2022-01-18

相關文章

後疫情時代的旅拍市場,走向沒落還是等待新生?
十一黃金週已宣告結束.伸手比"耶"的孩子.揮舞絲巾的阿姨還在記憶裡留有餘溫.以及--那些無處不在的自拍杆和一不小心就被"懟臉拍"的攝像產品.畢竟,很少有遊客不想 ...

11歲的妹妹出嫁換了兩隻雞,12歲的哥哥將父母告上法庭

11歲的妹妹出嫁換了兩隻雞,12歲的哥哥將父母告上法庭
連番茄醬都有生產日期,我卻不知道自己年齡,其實我的父母也不知道,監獄的醫生看了我的牙,說我大概有12歲.我把我妹妹的丈夫刺了一刀,因此被判監禁五年,在監獄裡我將我的父母告上法庭,我要控告他們,因為他們 ...

河南豫西的葬禮多講究?誰家辦喪事,像過節一樣熱鬧

河南豫西的葬禮多講究?誰家辦喪事,像過節一樣熱鬧
國人重生死,對待死亡,豁達而浪漫.過去被視為封建迷信的紙紮,在法國成了藝術.很多人甚至從生前就開始做壽衣.備棺材,準備身後物.在豫西,人們出殯哭喪處處是講究,就連戴孝帽也有很多規矩.祖先們以浪漫無羈的 ...

旅遊失敗是一種怎麼樣的體驗?沒有最慘,只有更慘

旅遊失敗是一種怎麼樣的體驗?沒有最慘,只有更慘
旅行本身就是自帶濾鏡的一件事情,會讓人有更高的期待. 但是一起旅行的夥伴.旅行目的地本身的坑爹景點.又或者是被網路吹爆卻名不副實的店鋪.旅行中遭遇的天氣變化,都是讓人擁有痛苦面具的潛在雷點. 小冰島: ...

服刑20年,55歲出獄的他東山再起,辦出一家大型民企

服刑20年,55歲出獄的他東山再起,辦出一家大型民企
林常平 文|風馬牛 (微信公眾號:馮侖風馬牛) 有人說,「西有褚時健,南有林常平.」說的是,他們都曾跌落谷底,卻能夠逆勢而起,成就一段傳奇的人生. 林常平出身貧寒,父母早逝,在最美好的青春年華,服刑二 ...

全球199個護照,中國排名如何,227 個國家和地區,哪些可以免籤?

全球199個護照,中國排名如何,227 個國家和地區,哪些可以免籤?
2021年亨利(Henley&Partners)護照指數全球排名最新季度更新出爐,針對全世界227 處旅行目的地,基於國際航空運輸管理局 (IATA) 的大資料統計,根據免籤國家和地區的數量來 ...

每經18點|中秋國慶假期約八成A級景區正常開放;節前油價上調 加滿一箱油將多花3.5元;上半年國內旅遊總人次18.71億
每經編輯:袁東 1丨文旅部答每經問:中秋國慶假期約八成A級景區正常開放,須做到遊客資訊可追蹤 每經AI快訊,9月18日,國新辦舉行新聞釋出會,介紹首屆中國(武漢)文化旅遊博覽會有關情況.文化和旅遊部黨 ...

雙節出去浪?行李箱裡可不能少了旅遊險

雙節出去浪?行李箱裡可不能少了旅遊險
首發 | 公眾號「 吐逗保 」 (,,・∀・)ノ゛Hello,大噶好哇,我是逗逗醬~ 馬上中秋了. 提前祝個節日快樂~ 不過福建突如其來的疫情,著實打亂了不少人的出行計劃... 我覺得吧,非必要還是不 ...

七十歲老人能不能帶他去旅遊?
1.看老人的身體素質 每個人都存在體質的個體差異,有的老人即使是80歲了,身體依然健壯,依然能下地幹活,一天忙到晚.可是有些老人身體狀況比較差的,可能五六十歲就一身的毛病顯現出來. 我曾經去珠穆朗瑪峰 ...

文旅部:雙節期間嚴格做好旅遊各環節疫情防控
新華社 文化和旅遊部黨組成員王曉峰18日在國新辦釋出會上表示,為更好保障中秋節.國慶節包括今後一段時期遊客的出行安全,最根本的還是要做好一切防控的相關工作,疫情防控措施要落地落實.關鍵要從時刻抓好外防 ...

購物送旅遊、網路招徠、旅拍……文旅部公佈六類旅遊執法指導案例

購物送旅遊、網路招徠、旅拍……文旅部公佈六類旅遊執法指導案例
人民網北京9月23日電 (記者劉佳)記者從文化和旅遊部獲悉,近期,文化和旅遊部持續加強旅遊市場執法,重點整治未經許可經營旅行社業務."不合理低價遊"等違法違規經營行為,有力地規範了 ...

中秋假期國內旅遊收入371.49億元
來源:人民網-人民日報 本報北京9月21日電據文化和旅遊部資料中心測算,2021年中秋假期3天,全國累計國內旅遊出遊8815.93萬人次,按可比口徑恢復至2019年中秋假期的87.2%.實現國內旅遊收 ...

吃上旅遊飯 走上幸福路(重走天路看變遷)
來源:人民網 尼洋河畔,草木蔥蘢.西藏自治區林芝市巴宜區林芝鎮嘎拉村坐落在蒼翠的群山之中.因春季盛開的山野桃花而聞名,嘎拉村是林芝市歷屆桃花旅遊文化節主辦地.每年3月至4月,都會吸引不少遊客. &qu ...

國慶“走紅”,人民日報客戶端紅色旅遊景點預約平臺上線
原標題:國慶"走紅",人民日報客戶端紅色旅遊景點預約平臺上線! 來源:人民日報客戶端 國慶假期來臨,人民日報客戶端聯合同程旅行推出"紅色旅遊景點預約平臺",邀你 ...

北京窮小子變富豪後,買10套房,卻變賣家產開飛機、開帆船旅遊

北京窮小子變富豪後,買10套房,卻變賣家產開飛機、開帆船旅遊
有這樣一對北京夫妻,從賣豆腐.擺地攤開始創業,最終身價過億,在北京買了10套房,豪車也換了50多輛. 從窮小子逆襲成億萬富豪後,他們卻變賣全部家產,開始環球旅遊. 他們的旅遊方式非常瘋狂,和普通人很不 ...

各國護照含金量排行:三個國家並列第一,免籤數量達189個

各國護照含金量排行:三個國家並列第一,免籤數量達189個
眾所周知,現在不少國家都將旅遊業發展成了自己國家的經濟支柱,然而任何人去任何國家也並非暢通無阻的,一些法規制度的限制也都是存在的,護照作為本國發於本國公民,用於出行或是旅居其他國家的一種證明,也是我們 ...

全國5A級旅遊景區最新門票價格(吉林篇)

全國5A級旅遊景區最新門票價格(吉林篇)
霧凇之都,滑雪天堂! 提到位於北國的吉林省,很多朋友的印象就是白雪皚皚的冰雪奇觀.松花江畔,凇情雪韻,長白山姿態萬千,吉林省的吉林市還被冠以"北國江城"的美譽.吉林有五大旅遊資源: ...

冬奧旅遊驚豔國慶黃金週,北京冬奧產業鏈加速升溫

冬奧旅遊驚豔國慶黃金週,北京冬奧產業鏈加速升溫
體育大生意第2683期,歡迎關注領先的體育產業資訊平臺 文|林森 體育大生意記者 後疫情時代的首個十一國慶黃金週,全國文化.旅遊.商業.餐飲等市場消費呈現出一片持續升溫的景象.作為即將舉辦2022冬奧 ...

賭王兒子到塞普勒斯辦賭場

賭王兒子到塞普勒斯辦賭場
歐洲最大的賭場度假村地中海新濠天地的奠基儀式於 2018 年 6 月 8 日在利馬索爾舉行. 2018年6月26日,何猷龍接手的新濠國際獲得了塞普勒斯首張賭場牌照許可,塞普勒斯第一個賭場度假村協議簽署 ...

陝西7街區擬入選2021年省級旅遊休閒街區
文化藝術網-文化藝術報訊(全媒體記者 劉青)日前,陝西省文化和旅遊廳公示了擬入選2021年省級旅遊休閒街區的名單,包括西安大唐不夜城步行街.安康漢江石泉古城旅遊休閒街區.寶雞西府老街文化旅遊休閒街區. ...