夏說釣魚,聊海外釣魚,助釣友釣技!
釣友在紡車輪和水滴輪如何選擇,夏說釣魚解讀下是否選擇水滴輪及其選擇什麼樣的水滴輪。
水滴輪簡單定義是一個帶有旋轉線軸,帶有觸發搖臂,安裝於槍柄竿握把上方。直觀感覺,不用來回撥動線擋,精準指哪打哪,動作流暢炫酷,產品外觀靚麗。
優劣勢:優勢是拋投方式更多,拋投精準度更高,體積更小更輕,拋投有力量負載能力強,單位時間內拋投次數多。水滴輪缺點是操作複雜且易炸線,對新手不友好。
力量是核心:收線力量上水滴輪強過紡車輪,紡車輪是螺旋出線,在收線時候魚的拉力和收線轉動力形成接近90度的夾角,不過在中大魚時候卸力旋鈕會鎖死。水滴輪是直接出線,在收線時候回捲力量比紡車輪大,釣障礙物時候後回捲能很好避免魚撞入障礙物深處。
快速指南:
1、選速比、軸承數、容線量
新手常用速比(5.3:1)、(5.4:1)、(6.3:1)、(6.4:1),軸承數4+1左右,容量150上下。具體參考本文後面的詳情!
2、選釣法
遠投水滴輪:重餌硬竿,容線更多,投得遠。
大物水滴輪:拋重餌硬餌,容線多,暴力強硬。垂釣鱸魚、黑魚、鯰魚、鱤魚、狗魚等。
微物水滴輪:拋小餌,細線軟竿,容線少,靈敏輕便。垂釣翹嘴、白條、馬口、鱖魚、鱒魚等。
泛用水滴輪:通用性強,休閒釣,推薦新手使用。
泛用型是兼顧遠投微物打黑部分特點,新手概念中全能型好水滴輪目前沒有,根據上手熟練結合物件魚標點等再次升級。
3、選效能
主要看機械傳動系統和主體結構設計。上手測試,卸力、微調旋鈕、剎車、搖臂、竿重心等。
平衡性:轉動握把,輪座穩定無異常晃動。旋轉無偏心,無甩頭。
手感性:機械零部件吻合好,我們經常說得順滑。反之麻跳,吻合差,內部震動傳達握把及其魚竿上。
一、選擇漁輪的思考
魚竿型別;假餌型別及其大小重量等;物件魚習性等;釣點環境等;釣魚經驗等;操作速度等;
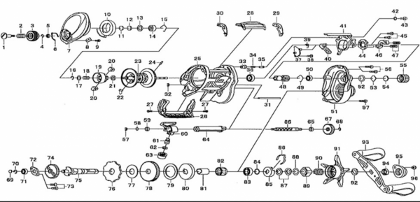
二、水滴輪的結構
水滴輪設計初衷是用來遠投及其重餌,採用水平繞線原理,可旋轉的線軸。透過搖臂將線繞回線軸,透過剎車來啟用自由放線。
(1)放線開關(Spool Release Button):按下可出線,搖柄復位。
(2)線杯(Spool):線杯不僅對於收納線,而且對於拋投距離和平滑度很重要。通常線杯用鋁合金材質,高階線杯由鍛造鋁製成,常規線杯由壓鑄鋁製成。
(3)剎車(Brake):調節線杯初始轉速和線組初始飛行速度,控制線杯的減速速率。
(4)輪座(Reel Foot):和魚竿固定的部位。
(5)陶瓷出線口(Line Guide):和線軸一起移動,以保證沒有大角度的情況下引導上下線軸。
(6)搖臂握把(Reel Handle):左搖臂和右搖臂兩種,水滴輪無法像紡車輪可以左右互換,因此需要確定最適合的搖臂。許多人習慣用右手的人使用右搖臂,拋投後漁輪在你的左側,用右手搖動手柄。
(7)星型卸力扳手(Drag):調節回線的卸力。
(8)微調旋鈕(Spool Tensioner Knob):機械剎車力的調節,擰得越緊線杯轉速越慢,反之越快。
(9)機身框架(Body Frame):由鋁合金或者碳纖維製成,碳纖維框架較輕,建議找同一材質製成的一體框架,高階漁輪通常由一體式鋁合金框架製成。
三、水滴輪引數
1、速比 又叫 齒輪比(Gear Ratio)
速比是指旋轉手柄一次,卷軸旋轉的次數,從而決定了回收魚線的速度。高中低速比由釣魚風格決定,資深釣友常備多種速度比漁輪。
水滴輪常見齒輪比是(2.0:1)(4:1)、(5.3:1)、(5.4:1)、(6.3:1)、(6.4:1)、(7.1:1)、(8:1),我們常用的速度比6.4:1,數字越高在旋轉次數下可以檢索水域面積更大。
使用7.1:1來操控複合旋轉亮片(英文spinnerbait)或者鬍鬚公釣組(英文buzzbait),使用5.4:1來操控德州釣組(英文texas rig)、軟餌(英文soft plastics),使用4:1來操控小胖子crankbait或者大型複合旋轉亮片。在小區域搜尋時,較高速比通常更好,因為它們能讓釣餌快速收回,快速輕鬆地準備下一次拋投。
2、軸承數(Ball Bearings)
軸承位於機身中,實現平滑、支撐和穩定性。軸承數越多,越平滑。並不是軸承越多越好,4個優質的軸承遠好於10個劣質軸承,我們要注意噪音和震動是低質量軸承的標誌。
軸承種類主要是帶防塵蓋軸承(shielded bearings), 兩面帶防塵蓋軸承(double-shielded bearings), 帶密封圈軸承 (sealed bearings)。
軸承精準度按照國家標準分為,G級、E級、D級、B級。同時國際通行軸承精度標準ABEC(ABEC是Annular Bearing Engineers Committee),基於軸承建立尺寸、公差、幾何形狀和噪音標準,分為1、3、5、7、9,等級越高允許公差越小,該軸承越精密。
3、剎車力 或者 最大拉力(Max Drag)
卸力旋鈕鎖定後,最大拉力!。
4、最大收線長度(Line Recovery)
搖臂把手繞一圈,繞線上軸上的魚線長度。
我們可以看圖示,同樣是5.4:1輪,最大收線長度受到兩個因素影響,齒輪比和線杯尺寸。
5、線杯容量(Line Capacity)
容量選擇因素:魚線的型別大小、物件魚和釣點水體。
淡水釣常見容線量在50-200之間,打黑雷強會用200,超過200容線量海釣用。
6、自重(Weight)
水滴輪本身重量以克為單位計量,輕量化是個大趨勢,同時我們需要關注竿輪平衡。
四、制動系統(Braking System)
水滴輪都配有制動系統,在拋投過程中,可以調整和減慢線軸的旋轉,以確保這些額外的旋轉不會發生。假如沒有制動系統的話,可怕的反彈會發生。
1、線軸微調旋鈕
線軸微調旋鈕是水滴輪一個重要剎車系統,它是手柄一側的大旋鈕,是調節線軸速度的第一道防線。旋鈕向線軸施加壓力,使得線軸轉得更快(鬆開旋鈕)或者更慢(擰緊旋鈕)。
線軸微調的設定,以路亞從竿尖自由下落到地面,線杯不扎線為準。將這個旋鈕擰緊,當你鬆開卷軸,路亞慢慢掉落在地面。一旦觸地,線軸立即停止旋轉。路亞越重,拉得越緊。
2、剎車原理
初始剎車相對簡單,減速剎車處理較為繁瑣。根據風阻、風向、線組重、路亞重四個緯度加權影響。優秀的水滴輪設計非常考驗設計師,我們經常討論不會用,其實設計的問題。
A. 初始剎車
拋投結束,拇指鬆開,線組速度超快,線軸慣性會讓線組開始減速,而線軸的轉速超過線組的飛行速度,假設剎車系統不能將線軸的速度降下來,這個時候就會出現炸線。
這就是我們要講的一個高品質剎車系統,能夠處理更大的速度範圍。初始剎車力的作用,拇指鬆開後,讓線軸的轉速迅速慢下來。
B. 減速剎車
若初始剎車透過,沒有炸線,接下來風阻讓線組減速,線軸的轉速又將超過線組的飛行速度。若不控制線杯的轉速,爆線又會發生。
減速剎車用於線組飛行過程中,讓線杯和線組一起減速。
如圖所示,理想狀況是藍色曲線,沒有風,剎車調得很好,各種配重合理。初始拇指鬆開,線組開始大力量拖拽線軸轉動。好的剎車系統要能夠線上軸速度在藍色最高值和線組一致,而不是一致轉動;藍色後半部分是線組減速的過程,線軸要和線組一起減速。
糟糕狀態是紅色曲線,風阻是水滴輪的致命傷,在風大的狀況下,紡車輪完勝水滴輪。紅色的後半部分線組速度下降得非常厲害。
3、四種剎車
漁輪三種不同的附加制動系統,市場上主流剎車系統比如禧瑪諾SVS(shimano variable brake system無限剎車系統)DC(Dight Control電子控制系統)和達瓦磁剎制動。
A. 離心式剎車(Centrifugal Brake)
水滴輪中較早的一種,在輪子的側蓋會有一定數量的剎車豆,用來調節剎車力。
離心剎車是水滴輪剎車中的手動擋,由離心豆和剎車盤兩部分組成。拋投時,水滴輪線軸旋轉,開啟的離心豆在慣性的作用下甩開去摩擦側蓋上的金屬剎車環,產生摩擦力。線杯轉動速度越快,剎車豆向外運動的離心力就越大,所產生的摩擦力也越大。能有效降低線杯轉動速度,減少炸線。大家可透過調節離心豆開關來調節摩擦力大小,在拋遠和炸線之間求得最佳平衡。新手可以先把離心豆都開啟,看熟練程度然後成組關閉練習。
優點:剛開始拋投階段,速度越快對應離心剎車力越大,反而不容易炸線。很多職業釣手喜歡離心剎車原因。
缺點:剛開始拋投階段,離心豆開啟偏多,剎車力過大,損失初始速度影響拋投距離。拋投尾程,線軸速度減少,離心力不足,不能提供有效剎車力使線軸制動,還需要使用拇指按壓來避免炸線。
B. 磁力式剎車(Magnet Brake)
水滴輪中常見,在側蓋安裝了幾顆磁鐵,形成一個個的小磁場,用來調節剎車力。
磁力剎車是電磁阻尼現象調整,符合楞次定律,利用線軸旋轉切割磁鐵的磁力線所產生的磁力,與磁鐵產生反方向的作用力來實現剎車,並不是磁鐵的吸引力來起到剎車的作用。同時,控制磁鐵和線軸距離實現磁場大小,有效控制線軸轉速。
轉動剎車盤時候,數字從1到10,數字越高,磁鐵彼此越靠近,從而產生強力。數字越小,磁鐵移動越遠,線軸越自由旋轉。新手推薦使用數字較高的7或者8,經過大量練習後,使用2或者3。
C.電子式剎車(Digital Brake)
電子微電腦形式的剎車系統,在使用時候有獨特的聲音,是這種水滴輪一大特點。
D.手指拇指(Manual Brake)
水滴輪最佳的剎車是你按線上杯上的拇指,不管什麼特殊的制動系統技術,你的拇指總是需要。線上軸魚線上施加合適的壓力,以便根據需要降低轉軸的速度。
五、卸力系統
星型卸力扳手,調節線杯卸力,作用和紡車輪卸力旋鈕一樣,控制受到一定拉力後,線杯可以制動出線。平滑、高質量的卸力,減少斷線和丟魚的風險。
一般卸力調節在八九成,需要調節時候在再根據情況緊急調整,這樣不會影響刺魚的力量和回魚的速度。
六、炸線(Birds Nest)
炸線或者炒粉、炒米粉,線軸轉動的速度比線離開速度快,線就會後退成一團。具體是指拋投後路亞受到空氣阻力或者是路亞入水阻力,路亞帶動線速度慢於轉軸速度,線杯來不及出線,堵在出線孔。
防炸線招數:
拋投力度,避免大力揮竿。
出線速度,調節剎車控制出線速度,和路亞運動軌跡平衡。拋投前,剎車調到大值,保持平穩性。拋投後,路亞入水前20釐米,大拇指按住線軸不要出現轉動。
控容線量,理想纏繞滿線軸9成。纏滿易亂線,7-8成會降低魚線飛行距離。
七、總結
釣友普遍在紡車輪和水滴輪之間兩難選擇,夏說釣魚手把手教你是否要選水滴輪、如何選擇合適的水滴輪。
看完上述內容,您對如何選擇水滴輪,如何操控好水滴輪及其工作原理比較熟悉了,接下來去選擇自己的水滴輪和槍柄竿,讓我們一起去路亞吧!
如果還有不清楚的問題,請在評論區留言!感謝對我們的支援,請關注夏說釣魚!
