前不久,慕思床墊衝擊IPO,卻被證監會質詢廣告上那個洋老頭是誰。最後,慕思床墊“假洋鬼子”畫皮終於被人揭穿,令人深感尷尬。
我們今天要討論的母嬰品牌Babycare,其實也與慕思床墊有著“異曲同工之妙”。
Babycare這個品牌可以說是母嬰行業的一個傳奇。成立時間不長,卻在短短几年做到了行業第一。
資料顯示,Babycare 2020年全渠道GMV已經突破50億元,複合年增長率超過100%。2021年雙十一期間,Babycare僅前5分鐘全渠道銷量破6億,截止當天24點,全渠道銷量突破11億,再度蟬聯母嬰行業Top1。除此之外,旗下多個細分類目獲得Top1排名。
很多消費者都認為這是個美國品牌。它原先的簡介上也確實是那麼寫的。
開啟品牌官網,巨大的篇幅在宣傳設計總監——勞倫斯·歐文(美國),是不是有慕思那味兒了?
Babycare天貓旗艦店經營者在2019年10月14日,已由上海藍縷實業有限公司變更為杭州貝咖實業有限公司。
那麼Babycare到底是不是美國品牌呢?小編以“babycare”為關鍵字,搜尋英文網頁,發現了這個網站。
對比一下小編從天貓旗艦店截圖的logo,上面這個品牌的logo不能說是一摸一樣,也就是相似度90%而已。
而這個美國母嬰品牌的Babycare的成立時間,是1998年……
這個品牌是不是Babycare在美國的母公司呢?
從上述截圖可以看到,這個網站是多品牌的集合店,類似於咱們中國的樂友、孩子王,並無國內Babycare品牌的產品。
而且從早年的一些網頁中可以得知,Babycare在美國的公司應為US.BABYCARE.INC。
從中國商標網上查到的babycare by philemon的相關商標也佐證了這個網頁內容的真實性。
搜尋US.BABYCARE.INC,在國外搜尋引擎上,找到的相關記錄是這個,成立於2015年鹽湖城,就是咱們要找的那個babycare。
emmm,怎麼是2015年?不應該是1992年嗎?在美國某商標網,這個商標的申請日期也是2015年。
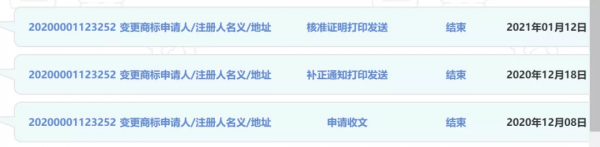
在中國商標網,小編查到的Babycare最早的一款商標申請於2012年,目前商標的持有者為貝咖實業有限公司。
該商標經過2014年11月、2016年11月、2019年11月三次商標轉讓,並於2020年12月變更了商標申請人/註冊人名義/地址,變成了如今我們看到的杭州貝咖實業有限公司。
根據中國科技新聞網的相關報道,Babycare的工作人員表示,Babycare的產品研發地在美國,而生產基地在中國。另外上海藍縷實業有限公司作為Babycare中國地區的總代理,負責產品、推廣和銷售,為了更好的服務寶媽,將Babycare的商標權和推廣銷售工作統一交給了杭州貝咖實業有限公司負責。
上述報道的時間是2021年2月,然而幾個月之後的今天,根據企查查,上海藍縷實業有限公司早已經被登出了。
實際上,無論是杭州貝咖實業有限公司,國內官網所示的夕爾控股,還是“中國總代理”上海藍縷實業有限公司,這三家企業的法定代表人和實控人均為李闊。
如今,開啟Babycare公眾號和官網,現在關於品牌故事的介紹已經變成:“Babycare網羅來自美國、德國、日本等世界各地知名工業設計師、平面設計師及插畫師,讓藝術不再只存在於藝廊和美術館,而成為寶寶可享用的日常。”
是的,Babycare已經淡化了自己“美國品牌”、“美國進口”的形象,目前在百度上,幾乎已經搜尋不到關於它“血統”的相關介紹。
如果出身和“血統”只是噱頭,那麼質量就是消費者們真正在意的東西。
那Babycare的質量怎麼樣呢?
Babycare的產品從紙尿褲到保溫碗,大部分都是由代工工廠貼牌製造的。當然,代工不代表產品質量不好,但嚴把品控確實是更有難度。
2018年11月,上海藍縷實業有限公司曾因生產不符合保障人體健康和人身、財產安全的國家標準的兒童餐椅,被上海市質量技術監督局處罰,罰沒款逾34萬元。
2019年5月,北京消費者協會發布報告稱,天貓商城Babycare旗艦店銷售的2398元“Babycare”嬰兒床有安全隱患。嬰兒床若側翻旁板提起時無法自動齧合,可能導致側板意外開啟,存在嬰幼兒意外跌落風險。
2019年5月,江蘇省消保委公佈的兒童推車商品比較試驗結果顯示,Babycare 8770型兒童推車曾被檢出含有有害物質,其PU皮革被檢出鄰苯二甲酸酯類物質不符合要求,DBP、BBP、DEHP的測試結果之和達到0.338%,超出標準最高限0.1%兩倍多。
據浙江政務服務網公開的行政處罰決定書,2020年1月,Babycare所屬的杭州貝咖實業有限公司開設在天貓平臺的店鋪“Babycare旗艦店”,曾因釋出違法廣告,被杭州市餘杭區市場監督管理局處罰款人民幣2萬元,上繳國庫。
2021年4月,海關總署通告顯示,1批次BELOURTHE S.A生產、杭州貝咖實業有限公司進口自比利時的光合星球香蕉嬰幼兒營養燕麥粉被檢出標籤不合格,涉及產品重量達 3696千克。
光合星球品牌是Babycare旗下紐西蘭輔食品牌,在2020年正式進入中國市場。據其宣傳通稿介紹,Babycare已在美國、韓國分別建立了研發中心、創新設計中心等運營體系,並結合全球選材和國際化佈局需求,在埃及、新加坡設立了分公司。另外,Babycare持續深耕包括美國、歐洲等傳統強勢市場,並開發了俄羅斯、新加坡、泰國、馬來西亞、印尼、菲律賓、越南等遠東及東南亞新市場。
實際上,國內的類似的假洋牌還真有不少。以至於義大利政府都認為“有損國格。”
可是到了今天,時代變了。
越來越多消費者正在改變以往的偏見,積極擁抱“國潮”,國貨品牌何必還要藏著掖著,甚至挖空心思變洋氣,賣高價。
什麼Babycare們才能挺直腰板說一句“我們是中國製造、中國品牌”?
新金融記者 王雅菡
