每經編輯:段煉,易啟江
近日大瓜不斷,繼王力宏“人設崩塌”、“直播一姐”薇婭偷稅漏稅被查後,另一對明星夫妻因商業版圖發生變動,引發網友關注。
近日,一則汪峰和章子怡退出共同投資公司的訊息引起關注。據啟信寶顯示,目前汪峰和章子怡僅剩一家註冊資本10萬元的企業還存在關聯。
網友:不會又有瓜吃吧?
據啟信寶App,近日,新影佳映(新沂)電影文化發展有限公司發生工商變更,原股東汪峰、章子怡等退出該公司股東行列。退出前二人在公司的持股比例均為2.26%。
此外,演員海清(本名黃怡)也一同退出了股東行列。
該公司成立於2016年7月,註冊資本為1108.03萬人民幣,法定代表人為張鳳蘭,經營範圍包括電影和影視節目的製作與發行;文藝創作與表演;組織文化藝術交流活動;大型活動組織服務;智慧財產權服務等。
對此,網友們紛紛猜測是否又要“吃瓜”。
啟信寶顯示,目前章子怡在27家公司擔任股東,控股了62家企業,擔任5家企業的法定代表人,在8家企業擔任高管。
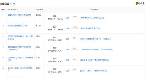
而汪峰目前是16家公司的股東,控股企業40家,在5家企業擔任法定代表人,同時擔任了6家企業的高管。
然而,儘管兩人的商業版圖都不小,但章子怡和汪峰的商業交集如今僅剩藍山竹(北京)文化傳媒有限公司這一家公司了。
啟信寶顯示,藍山竹(北京)文化傳媒有限公司註冊資本10萬元,汪峰和章子怡各佔一半,法定代表人是汪峰。
編輯|段煉 易啟江
校對|孫志成
每日經濟新聞綜合自微博、啟信寶、公開資料等
德爾塔毒株還在全球大流行,奧密克戎毒株又火上澆油,
點選下方圖片或掃描下方二維碼,檢視最新疫情資料↓
