國內首家成品油B2B電商平臺“找油網”,正面臨一場巨大的危機。
據瞭解,找油網在今年的6月和7月底已經裁撤了大量的員工,拖欠了近200名員工的薪資,金額高達千萬元,無論是起訴還是抗議,他們至今也沒有得到合理的回覆。另外,公司還將客戶預付款挪用,導致客戶無法加油,擠兌了預付款,資金鍊也因此斷裂。受到公司的影響,員工也從300人裁至十幾人,公司辦公地點也變更為同一物業公司的共享辦公場所,規模大幅度倒退。
拖欠薪資,資金鍊斷裂……昔日被看好的B2B成品油電商平臺如今淪落如此,實在讓人唏噓。
一個啟發,開創行業新發展
找油網創始人呂健出生在安徽縣城,隨著父親常年居住在上海。隨後去了外地一段時間後,直到2000年他才回到上海,在中石油下面的三產公司工作。至此,他便和石油結下了不解之緣。2003年離開中石油後,他做了許多關於石油的生意,還去了漫畫公司工作,但直到2014年受到網際網路的爆發的影響,他開始對網際網路這個新興行業產生了興趣。直到他接觸找鋼網後,他對石油行業有了不一樣的想法。
於是他藉著這個念頭,找到了鋼網創始人王東先生,他給了呂健很多啟發,他在接受這些啟發後,建立了找油網公司。
就這樣,2015年6月,找油網正式誕生,它對公司的構想是透過網際網路來做到石油全產業的服務平臺,公司和加油站合作,提供供應鏈和IT服務,讓物流公司能夠及時看到司機加油的情況,也可以相對應向客戶提供電子油卡和石油方面的金融服務。
在最開始,公司以柴油單品為切入點,在慢慢擴張後,才逐漸向煤油、汽油、燃料等石油化工品類拓展,以全新的網際網路形式提升成品油行業的流通效率。另外,找油網也為加油站導流,物流公司可以透過公司的IT管理旗下的車輛和司機的情況,減少管理的成本。
創始人呂健也曾說過,找油網一開始就是希望把整個交易鏈條變短,讓資訊流通更順暢、更優惠,服務更好。石油產業的網際網路鏈條,找油網的目標便是透過這鏈條,打造一個獨一無二的石油全產業鏈綜合電商服務平臺。
石油產業出現這種全新的網際網路模式,在當時可以說是獨有的,一下子就吸引了行業內外以及資本的注意,公司也進入了上升期。
網際網路模式加油,開啟新的交易鏈條
靠著網際網路產業順勢而生的找油網,可謂生而逢時。石油行業以全新的形式出現,一下子就吸引了投資方的注意。
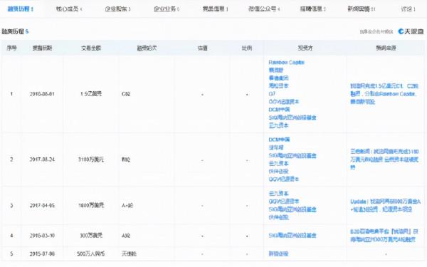
在成立後不久,企業投資公司胖貓工場(後更名為胖貓創投)給予了500萬元的天使輪融資,除了胖貓工場外,許多資本看中了也看中了找油網的潛力。它也藉著網際網路的風口和投資順勢上位,迎來了突飛時期。
2016年7月,找油網的服務也全面升級,開始開通對下游客戶售賣的服務。根據當時《投資界》報道稱,到了2016年第四季度,找油網實現了全面盈利。2017年第一季度,網站線上交易總額更是突破了5億元,並有持續盈利的趨勢,2017年全年自營業務總營收更是突破了50億元。
勢頭正猛,找油網也陸續開發出找油商城、老呂加油、找油物流、找油金融等業務產品,還加大了在石油產業鏈的投資佈局,找罐車、油掌櫃、嘉油惠等石油產業+網際網路型的企業都有找油網的投資,找油網試圖在網際網路的行業內,擁有能源產業的一席之地。
隨著網際網路的發展,其他的能源產業網際網路也悄然出現,受到資本的關注,能源匯、能鏈集團、點滴能源、銀河雲油、滴滴加油、車到加油等開始備受資本青睞。即使在2018年,找油網完成了C1、C2的融資,獲得了總共2億美元的融資金額,但也在這次融資之後,C輪的融資也戛然而止,資本不再給找油網投錢。
網際網路公司一旦投資停頓,危機也就隨即來臨。
投資停頓是公司停擺的開始
資本不再給找油網投錢,有他們的原因。
網際網路領域分為兩種,產業網際網路領域和消費網際網路領域,兩者不能混為一談。找油網的出發點是好的,他想透過網際網路幫物流企業把加油和車管理方面的這個點,用數字化平臺給他管理的明明白白。
但可惜的是,這種B2B的形式混入網際網路更換迅速、忠誠度低的通病,就會受到很大程度的影響,客戶也會因而流失。如果單是純網際網路和線上行業,即使虧損也不會損失慘重,甚至有挽救的可能,當時能源產業一旦受到影響,無論是透過燒錢補貼抑或是其他方式,都很難行得通, 運營的模式也不會持久。
除此之外,即使能源數字化發展趨勢再明顯,如果想突圍“三桶油”:中石化、中石油、中海油這三大巨頭,仍是有些難度的。“三桶油”在能源行業內,處於強勢地位,均有自己的營銷等渠道,跟找油網等平臺進行合作較少。導致找油網只能和民營加油站合作,收益也減少了一大半,和“三桶油”博弈,對於找油網公司來說,是一件十分艱難的事。
資本就是看到找油網長期發展無望,便開始停止投資的雙手,將目標轉移到其他App以及專案上,找油網也發現了這個問題,想及時作出挽救,試圖找到更多的融資。
但可惜,靠著融資的產業網際網路行業,再怎麼挽救,也到頭了。
集資、裁員、欠款,找油網的未來到頭了
找油網在無融資的情況下,依舊堅挺堅持到了2021年初。
2021年初,找油網公司突然以“上市前投資”為由,向基層員工集資了2000萬,並向他們說明,是作為公司未來發展所用,在此時,員工並沒有發現太大的問題,還為公司能夠上市而感到高興。
到了6月,公司的危機才開始正式爆發。從6月開始,員工發現公司開始拖欠五月的工資,內部開始有爭端,隨後創始人呂健為了安撫員工,傳送了一份郵件,信中稱目前老股東和新的投資人都在積極地溝通,如果月底沒有新資金的投入,公司將面臨停擺。
此郵件一出,全公司的員工都陷入了危機之中,即使到後面再發了一封郵件說明公司極有可能會有大額的資金,但6月底裁員過百、7月更是停交社保引發勞動訴訟的一系列舉動,實在難以讓人看清找油網未來的路。
除了員工外,受害的還有小貿易商。找油網一向採用預售的方式向客戶出售油品,價格遠低於市場價,吸引了不少貿易商的注意,公司透過預售先獲得一筆資金,得到現金流,之後在給予商戶貨物,這種行為既方便了公司的現金流,低價預售也吸引了一些相信找油網的商戶,紛紛前來買貨。
但公司陷入危機後,這些商戶的貨款紛紛化為泡影,即使跑到公司投訴,也得不到相對應的結果和貨物,2020年9月16日,這些苦不堪言的商戶為了追溯貨款,紛紛上訴,試圖追回貨款。呂健也因為這些紛爭和資金斷裂,被南山區人民法院凍結了2500萬元的股權。
找油網變成了人人喊打的企業,集資、裁員、欠款,不斷輸出成本的找油網在沒有融資後,終究還是撐不住了。
B2B模式,並不是所有行業都合適
找油網的失敗,意味著並不是所有的行業都適合B2B模式。
市場化程度較高、客群豐富且鏈條較長的行業,比如化工塑膠、凍品、服裝行業等等,這些產業做B2B對其會有著很大的提升。但石油行業管道較為複雜,流通管控較為嚴格,即使是“三桶油”佔據了市場的大部分份額,但到目前為止,石油產業的商業模式,都沒有一套完整的體系。
另外,想要做好B2B模式,CEO必須要有網際網路加上了解已深行業思維,反覆切換,才能通融,但兩者本身就難以融入,對於這種傳統行業加網際網路性質的公司來說,是一個極大的挑戰,必須要從中取得一個平衡,從中挖掘這個行業所缺乏的,而不是用新模式重新演繹老道路。
找油網的危機,很明顯,就是走錯了方向。
倘若找油網能夠把危機解除,把款項還上,給予民眾一個交代後,公司能夠找到穩妥的道路,繼續發展。
這次的危機無論是對本公司以及日後的產業網際網路公司,都是一個警醒。
作者 | 華哥
