本文來自微信公眾號 “空間秘探”(ID:MESPACE007),作者:雷布同。
近日,淳安千島湖浙旅名庭度假酒店有限公司(下稱“浙旅名庭度假酒店”)100%股權在全國產權行業資訊化綜合服務平臺公開掛牌轉讓,底價為1529萬元。據瞭解,浙旅名庭度假酒店隸屬於浙江省旅遊投資集團,是典型的地方國企酒店。而近年來,地方國企酒店轉讓較為頻繁,僅在千島湖,8年就轉讓了4家。與“國字號”酒店轉讓形成對比的是,國際酒店大牌頻頻進入千島湖——萬豪初登場,洲際再加碼……千島湖酒店市場,是不是已經進入內卷時刻?
“國字號”酒店轉讓,8年第4家
空間秘探了解到,本次掛牌轉讓的浙旅名庭度假酒店成立於2006年3月27日,由2大股東共同持有,分別是持股72%的浙旅蝶來酒店集團有限公司(下稱“浙旅蝶來酒店”)以及持股28%的浙江省旅遊投資集團有限公司(下稱“浙旅投”)。據企查查顯示,浙旅投的實控人為浙江省國資委,而浙旅蝶來酒店是浙旅投的全資子公司。也就是說,浙旅名庭度假酒店是一家擁有國資背景的“國字號”酒店。
據瞭解,浙旅名庭度假酒店註冊資本為2393萬元人民幣,轉讓底價為1529萬元。這家酒店最終是否會如願迎來新股東,根據本次轉讓披露時間2021年11月3日至2021年11月30日來看,答案月底或將揭曉。
在交易平臺上來看,浙旅名庭度假酒店並不“孤單”。同樣位於千島湖,具有國資背景的千島湖外高橋大酒店有限公司(下稱“千島湖外高橋大酒店”)也“身居”全國產權行業資訊化綜合服務平臺中,以底價3924萬元的價格公開掛牌轉讓。略有不同的是,這已經不是千島湖外高橋大酒店的第一次掛牌轉讓了。
2019年,杭州千島湖外高橋大酒店曾在上海產權交易所公開掛牌轉讓,掛牌底價7034.29萬元。其中,持股75%的上海外高橋集團股份有限公司(實控人,上海浦東新區國資委),轉讓底價為5876.56萬元;持股25%的淳安縣工貿資產經營有限公司,轉讓底價為1157.73萬元。
時隔2年,今年10月19日,杭州千島湖外高橋大酒店又出現在全國產權行業資訊化綜合服務平臺上。但是,這一次杭州千島湖外高橋大酒店的掛牌底價為3923.92萬元。價格差異的原因是,兩次出讓的標的不一致,第一次出讓標的是酒店100%股權,而這次出讓標的是大股東上海外高橋集團股份有限公司手中的75%的股權及企業債權。外高橋集團這一次是否能順利出讓千島湖外高橋大酒店,11月15日即能知曉。
儘管在全國產權行業資訊化綜合服務平臺上,各類酒店公開出讓資訊屢見不鮮。但是對於千島湖這個多年來各大酒店品牌一直在進入,鮮少有退出的市場而言,著實不常見。據公開媒體報道,近8年以來,千島湖有4家中大型酒店專案公開轉讓。
浙旅名庭度假酒店和千島湖外高橋大酒店之外,前兩次酒店轉讓分別發生在2013年和2017年。
2013年,房企東方巨龍投資發展(杭州)有限公司在千島湖清心島在建工程,內含旅遊度假酒店綜合體,以2億元的價格在淘寶網進行公開拍賣。原因是這家房企在專案開發中,需補交土地出讓金1億多元,但未按時支付,被國土部門向法院申請強制執行。
2017年,同樣是房企公司新光圓成股份有限公司旗下的浙江萬廈房地產開發有限公司,擬12億轉讓建德新越置業有限公司100%股權。後者是千島湖皇冠度假村專案而成立的專案公司,也就是說,實質是擬出售千島湖皇冠度假村專案。不過,從企查查來看,目前該酒店所屬的建德新越企業管理有限公司,是建德新越置業有限公司的全資子公司。這也就不難解釋,這家酒店放出出讓訊息時,就有媒體認為是其為了週轉資金改善財務資料的動作。
“國字號”酒店,為何“退場”?
對於背靠“國資”的酒店而言,或多或少能夠獲得一定的資源傾斜。尤其是在千島湖這類職工療休養熱門目的地,更是如此。再加上因疫情進一步升溫的周邊遊,被上海和杭州旅遊市場視為“後花園”的千島湖,發展前景呈現積極向上的態勢,浙旅投為何會選擇在此時轉讓浙旅名庭度假酒店?
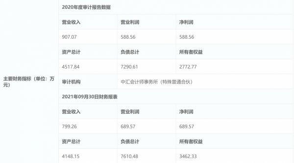
其一是酒店經營資料表現並不樂觀。從營業收入和營業利潤來看,儘管還有3個月,但今年浙旅名庭度假酒店這兩項指標已經穩超2020全年度,這與疫情防控向好不無關係。但是從資產總計與負債總計來看,並不樂觀。酒店資產減少369.69萬元的同時,負債卻增加了319.87萬元。
圖片來源/全國產權行業資訊化綜合服務平臺
類似的情況也出現在千島湖外高橋大酒店中,2019年初次轉讓時,該酒店營業利潤為負87.72萬元,資產總計1778.3萬元,負債總計3812.93萬元,所有者權益為負2034.63萬元。長期的經營不善,對於投資回報週期本就漫長的中高階酒店而言,是極其危險的。
其二是設施老舊給酒店口碑帶來了負面影響。在OTA平臺上,無論好評差評,幾乎都提及了酒店外觀老舊、設施和裝修老舊。甚至有消費者表示,自己入住的客房“空調製冷功能形同虛設,加上隔音不佳,導致房間內又吵又熱,難以入睡”。不可否認的是,這一點是浙旅名庭度假酒店的“硬傷”。
作為與千島湖溫馨島蝶來湖景度假酒店“隔湖相望”的姊妹酒店,浙旅名庭度假酒店擁有絕佳的景緻。因此在旺季的基礎房價最高可達800+元,淡季特惠房價在200-300元之間。價格的高下,會左右消費者對酒店的期待值。尤其是在千島湖新酒店遍地開花的當下,老舊的硬體加上旺季忙碌的服務人員,高昂的價格與消費者期待的長期錯配,勢必會給酒店帶來一定的負向反饋。
其三是逐漸白熱化的板塊競爭。浙旅名庭度假酒店所在的陽光路,與千島湖夢姑路、夜遊碼頭、以及千島湖廣場和羨山半島等已經形成了若干個酒店板塊。但是在2011年浙旅名庭度假酒店開業之後,陽光路周邊新酒店勢如破竹。
其中,既有大型集中的酒店叢集,陽光水岸公寓中大大小小的各類公寓式酒店,還有價效比至上的星程酒店、如家精選酒店(千島湖景區店)以及千島湖3800科冠晶品酒店等,更有度假類高階酒店如千島湖陽光大酒店以及老牌開元度假村等。
其四是進入“煥新”階段的千島湖酒店市場。小區域的板塊競爭之外,放眼整個千島湖酒店市場,頭部酒店品牌的持續加碼,倒逼千島湖酒店進入“煥新”階段。2020年,原千島湖松城飯店進行了改造翻新,以千島湖中心碼頭亞朵酒店的新面貌重新亮相;今年國慶前夕,原首旅旗下的千島湖潤和建國度假酒店,換牌為千島湖伊敦度假酒店並正式開業;四季度,千島湖陽光大酒店正式掛牌VOCO,成為大中華區第3家VOCO品牌酒店。綜上,林林總總的壓力,讓浙旅名庭度假酒店“萌生退意”,也就不難理解了。
內卷時刻,到了嗎?
事實上,在千島湖酒店市場中,不僅是酒店及品牌的煥新,還有一些國際酒店品牌的初次登場以及加碼。作為萬豪旗下在千島湖的首家酒店——千島湖福朋喜來登酒店,以及洲際旗下的第四家酒店——千島湖假日酒店均在今年開業。不僅如此,萬豪旗下奢華酒店品牌,麗思卡爾頓酒店也將於2026年落戶千島湖。千島湖酒店市場,是否將就此進入內卷時刻?
首先來看千島湖的旅遊發展情況。據淳安縣官方資料顯示,今年1至6月,全縣接待遊客423.4萬人次,實現旅遊經濟總收入77.1億元,同比分別增長80.8%和81%,完全恢復至2019年同期水平。對比今年與2019年的淳安縣國慶“黃金週”期間的資料表現來看,此言不虛。2019年國慶共接待遊客117.84萬人次;2021年國慶共接待遊客115.21萬人次。
酒店收入表現,今年十一假期,納入統計的37家高星級、高品質特色酒店共接待遊客8.01萬人,客房入住率82.72%,平均房價1214元。今年中秋期間入住率為73.18%,清明小長假為68.2%,元旦小長假為60%左右。當入住率與逐年增長的酒店規模呈正相關時,千島湖市場的旅宿消費潛力毋庸置疑,良性競爭自然也在所難免。
其次是酒店軟硬體配套的高奢化。最初的中高階酒店大多重視的是酒店建築本體的建設,力圖從外觀以及酒店客房等方面著手,打造酒店的差異性。千島湖秀水舫酒店採用了紅牆黃頂的傳統宮殿式建築風格,在青山綠水之間分外醒目。而且它也是千島湖唯一一座漂浮於水面上的酒店,三面環湖,入住的客人可以在房間內直接將魚竿甩入湖中進行垂釣。
而現在,酒店已經不再僅僅滿足於建築方面的獨特。一些臨湖酒店建設了自有碼頭併為住客提供快艇及周邊島嶼遊覽服務。千島湖濱江希爾頓度假酒店的自有遊艇碼頭,就可直達千島湖地標景點黃山尖。此外管家服務也是近年來千島湖度假酒店服務的重要創新點之一,如由新加坡設計師打造的千島湖Y Yegin森嶼酒店會為住客提供私人專屬管家模式服務。
最後是對優質自然資源的爭奪。“獨享”島嶼或是水域,是千島湖高階度假酒店的共識。早期的開元度假村“獨享”麒麟半島,千島湖溫馨島蝶來湖景度假酒店“安居”溫馨島,千島湖洲際度假酒店“穩坐”羨山半島。但是隨著千島湖水資源統一保護和管理的程序不斷推進,臨湖綜合整治工作的進一步完善,酒店難以再與千島湖如此“近距離”地接觸。
為此,不少酒店開始“外拓”,不再僅僅著眼於千島湖鎮。千島湖國家水上運動訓練基地所在地淡竹;千島湖安麓酒店、千島湖文淵獅城璞仕酒店以及西坡千島湖選擇了從水下千年古城復原而來的千島湖文淵獅城;大樂之野、瑞吉酒店落子即將舉辦亞運會位於的千島魯能勝地。
後亞運時代,千島湖仍是酒店投資熱土
不僅如此,作為承辦腳踏車、鐵人三項、公開水域等多項賽事的亞運分賽區,還將迎來一波亞運會帶來的新一輪旅遊發展紅利。畢竟,高規格的大型賽事,往往是城市格局發生變化、新城市區域崛起、城市面貌提升的最佳契機。更何況,千島湖本就是一塊“藏龍臥虎”的酒店寶地,千島湖瑞利淡竹度假酒店由中國船舶重工集團公司715研究所投資,千島湖36都攝影酒店是由淳安縣國資委旗下的千島湖旅遊集團傾力打造而成。
綜上,雖然千島湖酒店自行進入了良性競爭和自我煥新的階段,但是可以預見的市場增長潛力卻向品牌和投資人證明了這裡依舊是一塊投資熱土。對於新老玩家而言,如何才能更好地紮根其中,仰望秀水之上的萬丈星空?
01 矩陣式落地
作為最早進入千島湖市場的本土高階酒店品牌,開元在千島湖擁有6家酒店,緊隨其後的是擁有4家酒店的洲際。作為一個相對成熟的周邊度假遊市場,千島湖所展示出來的引客能力足以讓品牌安心。因此,越來越多的品牌告別了原本的單點佈局,而是選擇了矩陣式落地。一方面,一次性落子同一酒店集團旗下的不同品牌,能夠滿足不同需求客群的需求,擴大客群範圍;另一方面,矩陣式落地能夠幫助酒店品牌在短時間內迅速在千島湖多個熱門酒店板塊佈局。
不過,矩陣式落地對酒店品牌具有較高要求。因為在同一個目的地,匹配不同需求的旅行者,各個品牌需要具備足夠清晰的差異性。儘管浙旅名庭度假酒店被掛牌出讓了,但是從其與千島湖溫馨島蝶來湖景度假酒店隔湖相望的位置安排,以及商旅與度假的不同定位來看,集團層面的佈局無疑是正確的。
02 抓住賽事機遇
在千島湖,休閒度假這張金名片之外,運動休閒大有成為第二標籤之勢。千島湖目前是千島湖國際公路腳踏車賽、國際鐵人三項賽以及國際游泳馬拉松系列賽等大型賽事的舉辦城市。這些大型賽事能夠有效提升過夜住客數量和逗留天數,已經成為了拉動入境遊客增長的新途徑。2019年千島湖舉辦的馬拉松賽、國際毅行大會等精品體育賽事共吸引運動員4萬餘人,直接帶動消費約5000萬元。
尤其是2022年亞運會舉辦前後,運動賽事將會為千島湖酒店帶來新一輪的發展紅利。新建酒店或許難以趕上亞運會的當期紅利,但可以享受到後亞運時代的利好。而已開業酒店也可以從中掘金,打造與賽事相關的系列體驗活動,如環湖騎行以及一些水上運動等。
最後,也是最重要的一點,千島湖之所以能夠吸引到如此多的酒店、賽事、休閒專案以及聞名而來的遊客,關鍵還在於那一片浩渺碧水。如果水不再清,山不再綠,那麼千島湖也將魅力不再。因此,資本之外,這山,這水,才是千島湖酒店最重要的生存之本。
“千島湖的酒店越來越好了”,這是不少千島湖本地人與外地人的共識。殊不知,其背後是眾多酒店日漸激烈的競爭,其中既有如浙旅名庭度假酒店這樣選擇暫時“消聲”的前人,也有如瑞吉和麗思卡爾頓這樣聲勢浩蕩的新秀。倘若是這種良性競爭而引發的內卷,那麼私心希望千島湖酒店市場不妨再“卷”一些。


 
			 
			 
			 
			 
			 
			 
			 
			 
			 
			 
			 
			 
			 
			 
			 
			 
			