據外媒報道,福特研發了一種創新技術,能夠輕鬆定製車輛的前大燈和尾燈,在幾分鐘內就為汽車打造一個全新外觀。
自從最初的奧迪R8首次推出LED設定以來,隨著照明技術的不斷進步,汽車製造商已經意識到,他們甚至可以從遠處創造一種夜間企業形象,這使得照明簽名比徽章更為重要。大眾甚至創造了一種使用燈光進行溝通的方式,但有些燈一點也不好玩,最新的發明肯定很有趣。
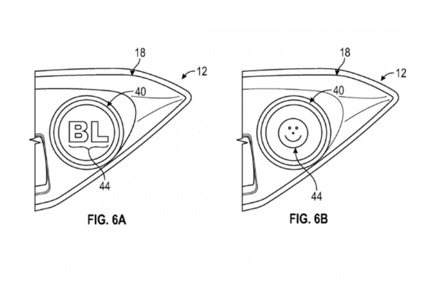
檔案中的圖紙似乎代表了福特Fusion,帶有一些額外的ST spice。目前尚不清楚福特是否打算重振Fusion ST專案,但我們看到的是一個允許前照燈或尾燈從車內開啟的系統。一旦開啟,這扇小門就可以進入一個面板,在那裡可以在內牆上安裝一個可拆卸的外掛。輔助光源直接安裝在燈殼的內壁上,使可拆卸嵌件能夠單獨照明,從而使其在從車輛外部檢視整個照明系統時更加清晰。
該檔案進一步解釋說,該定製燈具的系統可應用於前照燈或尾燈單元的任何隔間,包括安裝轉向訊號指示燈的隔間。目前還不清楚該系統是用於使用者定製,還是隻是為了讓福特更容易使用。如果是後者,我們可以想象,這個想法來自於一種願望,即生產一種尾燈,然後輕鬆地將其重新設計為高效能車型,比如安裝了獨特照明系統的任何車型的ST變型。不過,福特很有可能會提供額外的可拆卸外掛,作為新車選項的一部分,讓你的新車更容易煥然一新。
(圖片內容來源:carbuzz.com)






 
			 
			 
			 
			 
			 
			 
			 
			 
			 
			 
			 
			 
			 
			 
			 
			 
			