馬自達製造轉子動力汽車已經數十年了。它推出的最後一款是2012年停止生產的RX-8。從那時起,關於後繼車型的傳言時有發生,但沒有一個成為現實。馬自達確實表示,他們將在2019年將這款不尋常的發動機帶回來,儘管它是2022款MX-30電動跨界車的增程器。
馬自達仍在以這樣或那樣的方式推動轉子動力。這一次,一項專利暗示了比小型電動跨界車中的增程器更令人興奮的東西。馬自達最新提交的檔案表明,它正在考慮採用混合動力技術的後輪驅動、轉子動力汽車。
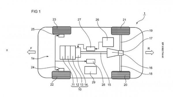
這不是馬自達第一次為轉子混合動力系統申請專利。幾年前,該公司申請了一款配備內燃機和電動機的車輛。它還表示它可以與轉子動力裝置配套使用。但是,新專利明確顯示了前部的轉子發動機。不僅如此,該車還將採用三轉子佈置。馬自達最後一次這樣做是在90年代初期的Cosmo coupe上。鑑於其佈局,它可能是基於馬自達的新後輪驅動平臺。
但是,僅僅因為一個製造商申請了一個專利,並不意味著它會推行這些想法。也就是說,馬自達的專利表明它不願意放棄開發該發動機。此外,2021年8月左右提交的另一份檔案顯示了似乎是雙門轎車的車尾。這是否暗示2015年展示的量產RX-Vision概念仍有待商榷,但它為轉子轎跑車的傳言火上澆油。
