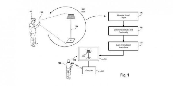
索尼的3D掃描器能夠將現實世界的物體變成虛擬現實的專利並不是什麼新鮮事。事實上,上市可以追溯到去年6月,但由於專利局要求索尼重新提交更多細節的檔案,而且公司已經這樣做了,我們相信這家科技巨頭對這一努力是認真的。
這項專利尚未獲得批准,但檔案顯示,3D掃描器可能被用於將現實生活中的物體放入虛擬世界,也可以用來更好地將真實環境與虛擬環境相結合。此外,使用者將能夠掃描更大的物件,而不僅僅是一些小的,手持的東西。唯一的要求是能夠以360度掃描物體.
不過,請記住,因為這只是一項專利,所以不要指望技術很快就會出現,它可能永遠也不會離開概念領域。
