在電動汽車大行其道之前,手動變速器就已經有了生命支援,但看起來向電動汽車的大規模轉換肯定會是壓死駱駝的最後一根稻草。
然而,豐田有其他想法。雖然它堅定地擁抱bZ4X等汽車的電動未來,但該公司已在美國申請了八項專利,表明它將為未來的電動汽車提供假手動變速器。
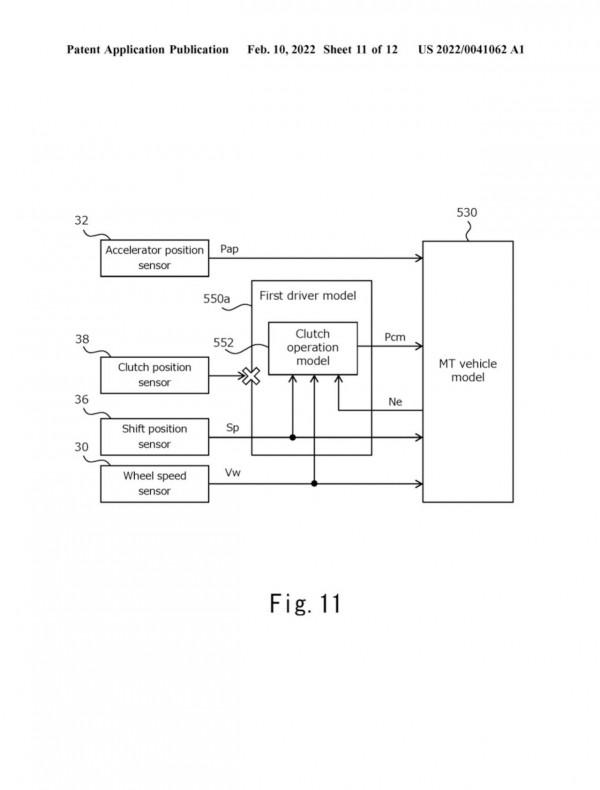
這些專利最早見於BZ論壇,但於2021年夏季提交,涵蓋多項技術,包括模擬離合器踏板、模擬換檔,以及一種中斷扭矩流的方法,以及一種中斷扭矩流的方法來模擬駕駛傳統擋內燃引擎汽車的經驗。
以下是其中一項專利的摘錄:
“電動汽車包括換檔桿和離合器踏板,用於模擬實現MT車輛的手動換檔……換檔桿由駕駛員操作,以從多個虛擬檔位模式中選擇任意虛擬檔位模式……控制器計算虛擬發動機的虛擬發動機轉速……並在顯示器上顯示虛擬發動機轉速。”
專利表明,配備該系統的豐田汽車將提供三種不同的模式。一種要求駕駛員同時使用離合器和換檔,而第二種則不需要使用離合器,豐田認為這在停車、倒車或堵車時可能很有用。在第三種模式下,駕駛員既不使用離合器也不使用換檔器。
但該專利似乎表明,在第三種模式下,這些功能將自動處理,因此汽車將表現得像帶有自動“盒子”的內燃機汽車,而不是像傳統的固定比率電動汽車那樣執行。這可能意味著該系統將保留給以駕駛員為中心的高效能汽車,例如未來的Supra。如上圖所示,你甚至會得到一個假的轉速錶,看起來像一輛ICE車。
如果這一切聽起來有點熟悉,你可能會想到2017款豐田GR HV概念車。本質上是電動targa-top GT86,那只是一輛展示車,但現在很明顯,豐田正在給我們一個很大的暗示,即它對儲存手動擋是非常認真的。
顯然,在這個階段,我們不知道這項技術是否能真正複製手動變速器汽車的感覺,或者僅僅是享受。但我們都支援它,特別是如果能夠在手動和“自動”模式之間切換。
現代法拉利,如Roma、SF90和296 GTB,以及Ares Design的Panther,都具有風格化的復古外觀,但在任何情況下都是純粹的櫥窗裝飾。不能在不同的傳動比之間切換,只能從行駛檔切換到倒車檔。但是很難想象像保時捷和法拉利這樣的品牌,他們將自己標榜為最注重駕駛的品牌,當它在一輛售價30,000美元的不起眼的豐田汽車上提供時,如何無法採用類似的技術來讓車迷滿意。
