原標題:漏夜"閃辭"!多名大學教授連夜辭任獨董,發生了什麼?康美案餘威顯現,10萬年薪"背上"億級債務?
獨董這個活兒越來越不好乾了。
券商中國記者翻閱近日上市公告發現,近期獨立董事辭職的公告陡然增多了起來,並且多數辭職的獨董任期尚未到期。而今年恰好是中國獨董制度誕生20週年。
值得一提的是,近兩日多位大學教授辭去了其在上市公司的獨立董事職務。比如11月17日辭職的遼寧成大獨董謝德仁,現任清華大學經濟管理學院會計系教授,今年8月份剛剛成為遼寧成大獨立董事,就在日前匆匆辭職。華電能源的獨立董事孫健,現任中央財經大學會計學院副院長、教授,也在11月18日宣佈辭去獨立董事,其2020年從公司獲得的稅前報酬總額為6.32萬元。開山股份的獨立董事史習民,為浙江財經大學會計學教授,於今年5月成為開山股份獨立董事,也於18日辭職。
獨董的成批辭職或受康美案極大影響。近日,康美案一審判決出爐,康美藥業作為上市公司承擔24.59億元賠償責任,此外5名獨立董事被判鉅額連帶賠償責任,賠償金額將高達1.23億元或2.46億元,遠超其任職期間在康美所獲薪酬。令市場矚目的是,康美這5名追責獨董中就有4名為大學教授。
獨立董事掀起“辭職潮”
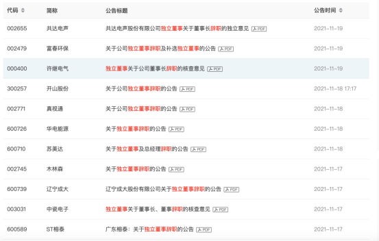
過去一週,光是公告董事/獨立董事辭職就忙壞了不少A股上市公司。
根據券商中國記者粗略統計,自11月8日以來兩週的時間內,光是公告公司董事、獨立董事辭職的上市公司就有數十家。其中約30家公司公告獨立董事辭職,並且多為任期未滿就匆匆宣佈辭職,導致諸多公司董事會獨立董事人數低於法定最低比例要求。
![]()
證券時報資料中心統計顯示,2021年獨董辭職人數目前已重新整理近年來的新高,超過700人。2018年至2020年,每年獨董辭職人數分別為503人、497人、679人。按月來看,今年5月、6月曾出現一陣獨董辭職高峰,當月分別有136名、84名獨董辭職。
有從事上市公司合規、資訊披露諮詢的人士向券商中國記者表示,近期獨立董事“辭職潮”或受到康美案影響。“畢竟一般獨董的津貼其實一年可能也就10來萬,但是像康美那樣的造假其實作為獨董很難發現的。尤其此次康美是特別代表人訴訟,獨董在其中承擔的責任也比較大。對獨董來說,他們承擔的風險有點高,因此導致近期辭職增多。”
康美案5名獨董被追責,4名為大學教授
在廣州中院對康美藥業做出的一審判決中,上市公司需承擔24.59億元的民事賠償,同時對包括實控人馬興田在內的21名高管以及審計機構明確了相應的責任承擔比例。其中實控人馬興田等6人承擔100%,廣東正中珠江會計師事務所及其合夥人、簽字會計師楊文蔚承擔100%,其他的董監高分別承擔20%、10%、5%不等的責任。
其中就包含5名時任獨立董事。其中,江鎮平、李定安、張弘三人因在康美藥業2016年年報、2017年年報、2018年半年報簽字,被判承擔10%的連帶賠償責任,對應金額2.46億元;郭崇慧、張平兩人只在2018年半年報中籤字,被判承擔5%的連帶賠償責任,對應金額1.23億元。
來源:《廣東省廣州市中級人民法院民事判決書》(2020)粵01民初2171號
值得一提的是,這五位被追責的獨立董事中有4名為大學教授。分別為,李定安先生(華南理工大學教授)、張弘先生(西南政法大學教授)、郭崇慧先生(大連理工大學教授)、張平先生(華南理工大學副教授)。
不過,鉅額連帶責任之下,獨立董事在公司任職期間獲得的報酬卻不高。具體來看:
李定安,2007年1月至2015年任華南理工大學工商管理學院教授,2012年5月至2018年5月,任康美藥業獨立董事;2018年5月至2020年10月,擔任公司監事。2018年-2020年從康美藥業獲得的稅前報酬分別為14.84萬元、14.84萬元、16.8萬元,合計46.48萬元。
張弘,西南政法大學管理學院副教授,2015年6月至2018年5月任獨立董事,2017年、2018年從康美藥業獲得的稅前報酬分別為7.39萬元、3.7萬元,合計11.09萬元。
張平,現華南理工大學工商管理學院副教授,2018年5月至2020年6月2日,擔任公司獨立董事。2018年-2020年從康美藥業獲得的稅前報酬分別為7萬元、12.01萬元、5.09萬元,3年合計約24.1萬元。
郭崇慧,現任大連理工大學管理科學與工程學院教授,2018年5月起任獨立董事,2018年-2020年從康美藥業獲得的稅前報酬分別為7萬元、12.01萬元、12萬元,合計31.01萬元。
多名大學教授連夜辭職!
券商中國記者還注意到,近期諸多大學教授辭去了其在上市公司兼任的獨立董事職位。
比如11月17日辭職的遼寧成大獨董謝德仁,現任清華大學經濟管理學院會計系教授,今年8月份剛剛成為遼寧成大獨立董事,就在日前匆匆辭職。華電能源的獨立董事孫健,現任中央財經大學會計學院副院長、教授,也在11月18日宣佈辭去獨立董事,其2020年從公司獲得的稅前報酬總額為6.32萬元。開山股份的獨立董事史習民,為浙江財經大學會計學教授,於今年5月成為開山股份獨立董事,也於18日辭職。
一直以來,高校盛產“獨董”也成為“獨董生態”中獨特的風景。一位上市公司董事向券商中國記者表示:“教授們需要名利,上市公司需要專業背書,算是一個比較合理的雙贏選擇。”
北京市中倫律師事務所合夥人張啟祥向券商中國記者表示,對高校老師擔任上市公司的獨立董事,教育部和監管部門有一些明確的規定,比如擔任黨政領導幹部、處級以上職務的教師,就不能夠擔任獨立董事,這從任職資格層面做了一些有效限制和排除。
他提到,高校老師擔任獨立董事,從合理性來說,確實有一些優勢和便利性,比如行業專業背景、財會知識積累,很多高校老師都是各自領域的專家和學者,本身也能給企業賦能。而且,由於其高階知識分子的擔當,社會往往寄予更多的獨立性期待。當然也有一些弊端,比如很多高校教師,因為做理論研究更多,實務經驗相對薄弱,如果對企業運營和規範執行理解不夠,履職時就有侷限。
康美案最終的落槌,或許也促使一些高校教授做出了辭去獨董的決定。
具體來看,11月17日,遼寧成大發布了關於獨立董事辭職的公告。公告稱,公司董事會於2021年11月15日收到獨立董事謝德仁先生的辭職申請。謝德仁先生因個人原因,申請辭去公司第十屆董事會獨立董事及審計委員會主任委員、提名委員會委員、薪酬與考核委員會委員職務。辭職後,謝德仁先生不在公司擔任任何職務。謝德仁先生的辭職將導致公司董事會獨立董事人數低於法定最低比例要求。
遼寧成大此前公告顯示,謝德仁,男,1972年1月生,廈門大學管理學(會計學)博士。曾任中國證監會第17屆發行稽核委員會委員,中國財政部第一屆企業會計準則諮詢委員會成員,中華人壽保險股份有限公司獨立董事,華夏基金管理有限公司獨立董事,朗新科技股份有限公司獨立董事。現任清華大學經濟管理學院會計系教授,中國財政部第二屆企業會計準則諮詢委員會委員,清華控股有限公司及清華大學資產管理有限公司監事會主席,恆泰證券股份有限公司獨立董事,北京經緯恆潤科技股份有限公司獨立董事,廈門銀行股份有限公司獨立董事,青島創新奇智科技集團股份有限公司獨立董事。
值得一提的是,在遼寧成大8月19日的公告中,選舉謝德仁先生為公司第十屆董事會董事、審計委員會主任委員、薪酬與考核委員會委員、提名委員會委員等議案剛剛被透過。也就是說,上任剛剛3個月,謝德仁就火速辭職。
又比如,華電能源於11月18日公告稱,公司董事會近日收到獨立董事孫健先生的書面辭呈,因個人原因,孫健先生申請辭去公司獨立董事職務,同時不再擔任董事會審計委員會主任委員和薪酬與考核委員會委員。
券商中國記者查閱華電能源2020年年報發現,孫健,1982年出生,博士,曾任中央財經大學會計學院講師、副教授,現任中央財經大學會計學院副院長、教授。孫健任期起始日為2020年5月21日,任期終止日期為2023年5月20日。同時年報顯示孫健2020年從公司獲得的稅前報酬總額為6.32萬元。
11月18日,開山股份公告稱,公司董事會於11月18日收到公司獨立董事史習民先生遞交的書面辭職報告,史習民先生因個人原因,申請辭去公司第五屆董事會獨立董事職務,同時一併辭去其在董事會下屬專門委員會所擔任的審計委員會召集人及薪酬與考核委員會委員職務。史習民先生辭去上述職務後不再擔任公司任何職務。史習民先生的辭職將導致公司獨立董事人數低於公司董事會成員人數的三分之一。
記者查閱過往公告發現,史習民先生, 1960年6月出生,中國國籍,無境外永久居留權,管理學博士,浙江財經大學會計學教授,現兼任浙江京新藥業股份有限公司獨立董事。據悉,史習民先生原定任期為 2021年5月7日至第五屆董事會屆滿之日。
獨董責任認定引關注
在康美案此次判決中,業內對於普通董監高以及兼職外部獨立董事的責任認定問題的關注頗高。據悉,A股上市公司15000餘名獨董薪酬差異較大,平均年薪僅8萬元左右。如果不慎遇到像康美這樣的造假公司,動輒上億的連帶賠償責任,與所獲薪酬的差異實在是過於巨大。
擔任萬科、格力電器、中光學、柔宇科技四家公司獨立董事的劉姝威則公開表示:“獨立董事要對投資者負責任,我同意擔任獨立董事的公司都是我充分了解,多年跟蹤相關公開資料的公司。擔任獨立董事後,對有關資料出現疑問,我必須詢問上市公司相關部門,直至完全清楚為止。”
“對於康美藥業如此明顯的造假行為,並且輿論已經公開質疑,作為康美藥業的獨立董事不應該識別不出來。我國有關法律法規已經明確規定獨立董事的權利和責任。對於康美藥業肆無忌憚的造假行為,作為獨立董事無動於衷!既然沒有履行法律法規賦予的權利和責任,受到法律的制裁,冤枉嗎?”劉姝威在其署名文章中說道。
“根據我們的經驗,在相當長的一段時間裡,我國法院很少真正判決上市公司普通董監高、外部獨立董事承擔證券虛假陳述連帶賠償責任。但近年來,包括我們自己代理的案件以及其他幾起引發市場熱議的案件中,均出現了判決普通董監高、外部獨立董事承擔連帶責任的情況。我們在辦案過程中切實體會到,對上市公司普通董監高尤其是外部董事虛假陳述責任的認定是一個極難把握、處理的問題,也是值得監管機構和司法機關妥善考慮的問題。”金杜律師事務所合夥人楊婷、夏東霞律師表示。
金杜楊婷律師和夏東霞律師認為,誠然,法律有對公眾公司資訊披露的要求,也對公眾公司董監高履職的勤勉盡責義務、對公眾公司的內在制衡機制設定了相應規定。但是,上市公司相當一部分董監高實際上就是普通的“打工人”,其對財務、法律方面的認識、理解、甚至敏感程度很難做到“全知全能”。且若論身份,相當一部分上市公司的普通董監高和獨立董事都是一個“普通人”,他們或是職業經理人,或是企業的老員工,亦或是教師、技術人員、行業專家以類似“顧問”的身份擔任獨立董事。法院的判決或許看起來是10%、5%甚至更低的連帶責任範圍比例,但真正轉化到賠償金額上,那便是絕大多數普通家庭難以承受之重。
A股“獨董”生態待變
我國“獨董”制度誕生於2001年,至今已經走過20個年頭。康美案最終的落槌,也讓A股“獨董生態”發生巨震。
《證券時報》此前報道中指出,5名獨立董事被判鉅額連帶賠償責任,亦屬A股市場首次,頗具震撼性,有望成為獨立董事制度完善的一個契機。
一位上市公司董事向券商中國記者表示:“從獨董制度的弊端來說,由於實際控制人權力過大,獨董一般也不願意唱反調,不是原則性問題一般都略過、跟著投票。畢竟投反對票還需要陳述理由,更花時間也更麻煩。這次事件之後,這個情況應該會有所改善,大家會對獨立董事這份責任有更明確的認知。”
自媒體“法經筆記”的作者Panda君撰文表示:“當前的獨董制度面臨著幾對典型的矛盾:較低的綜合收益和較高的職責之間的矛盾;較低的話語權和較高的社會期望之間的矛盾;較低的參與性與較高的專業素養要求之間的矛盾,而這一判決對整個獨董制度而言又是一次巨大的震動,當然也再次提供了我們觀察和思考的一個重要機會。”
Panda君表示,獨董面臨著以下現狀:
第一,獨董缺乏足夠的履職激勵。一年10萬元左右的獨董薪酬對於較高素質的專業機構專家而言已經缺乏足夠的吸引力。
第二,獨董的知情權保障不足。獨董時常反映缺乏瞭解公司資訊的渠道,也出現了多起獨董因為知情權無法得到保障而辭職的案例。
第三,獨董的履職時間和履職要求不甚明確,目前獨董最多兼職數量是5家。由於缺乏具體的履職要求,獨董盡責目前只能依靠自覺。
金杜楊婷律師和夏東霞律師表示,或許應當回頭審視一下20年前我國引入上市公司獨立董事制度的初衷,也有必要審視一下我國上市公司獨立董事制度目前的執行現狀。一言以蔽之,在目前情況下,我國法律對外部獨立董事的功能、作用的認知投射到實踐中,的確很難用一句“外部董事與內部董事負有相同的忠實、勤勉義務”來形成對其歸責的判斷。故對於上市公司普通董監高、尤其是外部董事的責任追究應當謹慎,不宜作泛化處理。在這一問題上的思考和制度建構,應該還有比較長的一段路要走。
北京市中倫律師事務所合夥人張啟祥表示,單說制度建設層面,目前的規則對獨立董事的許可權與履職、責任和義務,其實是有比較明確的規定和清晰的安排,制度建設已經比較完善了。“我理解現實中出現的一些問題,更多還是在執行層面。一是很多上市公司並沒有真從公司治理層面實際發揮獨立董事的作用,更加需要他們開放地歡迎獨立董事參與公司管理,接受監督、檢查和問詢等,並提供履職保障,充分發揮外部董事的作用。二是一些獨立董事,本身或怠於行使權利,或抹不開面子,或不具備履職能力,使得制度虛設了。”
張啟祥提到,如果未來要從制度上最佳化,可從四方面考慮:
一是對獨立董事任職進行強化。比如除了現在的財務背景的董事要求外,可以考慮強制要求一名獨立董事是熟悉上市公司所在行業的人士,比如有理論和實務研究背景。如果外部董事懂任職公司所在行業的情況,更容易提供幫助發現問題,這樣或許可以彌補財會以及其他專業背景的獨立董事的不足。
第二,要合理提高獨立董事的薪酬。目前絕大部分的企業給獨立董事的薪酬有限,和規則本身,與市場期待的履職要求不太匹配,需要適當提高他們的薪酬,一是增加激勵,二也與未來的風險相匹配。
第三,可以考慮監事會和外部董事的聯動。目前,可能在上市公司失靈的不僅是獨立董事,還有監事會。要對上市公司、對內部董事、對實際控制人和控股股東形成監督和有效約束,可以考慮從這方面聯動,形成合力。具體做法上還要進行更多思考和探討,比如多少比例的獨立董事由監事會來提名,對監事會的提名,董事會必須提交股東大會審議。
第四、要鼓勵和推動獨立董事發揮作用,也要為他們履職提供合理的保障。比如,強制性的董事責任險,以及在規則中對獨立董事的免責事由等有關問題予以明確規定,並在監管部門的有關執法實踐中統一尺度。
