提到創新就不得不提及蘋果公司,最近一份發明專利顯示未來MacBook Pro可能採用可伸縮鍵盤。目的是進一步縮減機身厚度以及提供更舒適的鍵程體驗。雖然上述設計僅停留在紙面上,但勾起了不少網友對於採用可伸縮式鍵盤的ThinkPad 701C蝴蝶機的回憶。
//
![]()
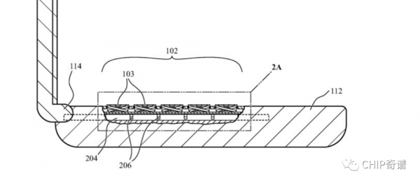
簡單來看這項專利描述了一個可以縮回的鍵盤,這種鍵盤可以從MacBook Pro機身中擴展出來,當蓋子關閉時又可以縮回去,讓蘋果MacBook Pro可以呈現一個在關閉時很薄的形態。除了縮減機身厚度,如此設計也有可能提供具有較大鍵程和感覺的鍵盤。此外,任何縮排都會使按鍵遠離螢幕,而且有助於使蓋子更緊,所以其他東西進入並損壞顯示屏的可能性也更小。
![]()
當然,如此的設計專利應該是與1995 年ThinkPad推出被稱之為蝴蝶機的ThinkPad 701C有聯絡,改機採用獨特可伸縮式設計鍵盤,如此特立獨行的設計還被紐約曼哈頓的 MoMA 藝術博物館收藏。
![]()
![]()
當筆記本上蓋開啟的時候,透過精密機械連線使得鍵盤向上、向前、向側同時展開,最終拼接成一塊完成的大於機身尺寸的最小標準尺寸鍵盤。
![]()
根據引數顯示,ThinkPad 701C擁有10.4英寸螢幕,但卻能在9.7英寸的空間內塞下一個11.5英寸的鍵盤,設計思路之巧妙工藝之精湛,令人印象深刻。
![]()
不過,ThinkPad 701C之所以沒有形成日後的設計主流,主要是因為如此鍵盤設計會增加機身厚度與重量,同時複雜的摺疊機械連線方式會提升成本,並且更多的磨損對使用壽命有負面影響。不過25年過去了,相信蘋果重拾“蝴蝶機”的設計靈感一定還會進行大幅度的升級改造,只是別忘記一點,對於消費者而言筆記本的輕薄引數指標很關鍵,特別是Mac系列。
