11月24日訊息,網傳即日起騰訊計算機主體旗下所有APP將暫停版本更新,各應用商店和分發平臺立即執行。
對此,騰訊回應稱,正持續升級App對使用者權益保護的各項措施,並配合監管部門進行正常的合規檢測。在此期間,使用者可正常下載使用App現有版本。
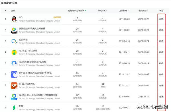
根據七麥資料監測,騰訊主開發者賬號下的產品上架狀態正常——「微信」、「QQ」、「騰訊影片」、「王者榮耀」等熱門App在App Store及國內各大安卓應用商店線上狀態和下載一切正常,未出現異常下架情況。
騰訊旗下App在App Store的在架狀態
騰訊旗下App在各大安卓應用商店在架狀態
「QQ」在各大安卓應用商店在架狀態
「騰訊影片」在各大安卓應用商店在架狀態
「微信」在各大安卓應用商店在架狀態
「王者榮耀」在各大安卓應用商店在架狀態
據第三方訊息,這次合規檢測可能和之前工業和資訊化部開展的App侵害使用者權益專項整治有關。後續七麥研究院會持續觀察,及時跟大家同步最新訊息。
- end -
本文由七麥研究院原創,轉載需聯絡七麥研究院獲取授權,七麥研究院有權向非授權轉載追究責任。如有問題交流或加入推廣運營大咖交流群,可聯絡小助手(微訊號:qimaizhitou)
