全面屏手機概念,一直引領著各大手機廠商的發展,從最初的HOME鍵螢幕發展到如今的屏下鏡頭全面屏,期間各大手機廠商嘗試了劉海屏、水滴屏、升降攝像頭。雖然如今部分廠商已經推出了真全面屏手機,如中興Axon30、小米MIX4。但從實際表現來看,這些全面屏機型自拍效果並不是很理想。
為了增強拍照能力,OPPO最先將潛望式長焦鏡頭搭配到手機上,OPPO在影像創新方面的實力還是很強的。近日,OPPO的屏下鏡頭技術被曝光,官方稱之為“電子裝置及其影象採集方向控制方法”,目前已經申請專利,一種全新的屏下鏡頭技術。從曝光的專利資訊中可以得知,OPPO不僅採用螢幕透光的方式來實現前置鏡頭自拍,手機側邊框還新增了相機開孔,可以實現側邊拍攝。拍照時不僅僅可以使用前置鏡頭自拍,側邊開孔依然也能夠進行拍攝,將眾多多種不同的拍攝方式。
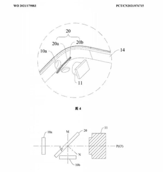
需要說明的是,OPPO屏下鏡頭技術依然僅搭載屏下鏡頭,側邊相機開孔並沒有任何鏡頭,只是在鏡頭內部新增了一面可以旋轉的反射鏡片,當拍照時如果拍照主體逐步離開相機取景範圍是,這張反光鏡片變開始旋轉,這時側邊鏡頭就能夠捕捉到拍照主機,光線透過反射鏡傳遞但攝像頭中,這時側邊鏡頭就可以捕捉畫面進行拍攝。
OPPO這種屏下鏡頭技術並沒有新增任何攝像頭,只是透過改變手機形態來增強手機拍照能力。這種屏下鏡頭技術與Vivo首創的升降攝像頭原理很相似,只不過開孔從頂部轉移到了側邊。側邊拍照時側邊鏡頭會進行旋轉。中興小米的屏下鏡頭技術是透過增加螢幕進光量,創新螢幕材料來實現,而OPPO的屏下鏡頭技術是改變了手機的形態,透過反射原理來增強拍照能力。如果這項技術真的能夠量產,將會有各種形態的手機出現,而且這些手機都將是真全面屏機身,前置鏡頭自拍問題將有很大改善。
另外,OPPO屏下鏡頭技術將增強連續拍攝能力,尤其是拍攝運動中的物體時,拍攝人員就需要透過移動手機來跟進拍攝,但透過OPPO屏下鏡頭技術,可以透過側邊鏡頭來繼續拍攝持續運動中的物體,拍照更方便,側邊鏡頭還可以當做隱形相機來使用,對於記者等行業暗訪非常有幫助。
總體來看,OPPO屏下鏡頭技術值得稱讚,有了這項技術,透過最佳化設計,將實現各種形態的真全面屏機型,對於運動中的物體,也擁有更好的拍攝效果,拍攝時可以實現無縫連續拍攝。有了這項技術加持,Vlog拍攝將會有多種多樣的玩法。雖然說這項技術目前還沒有量產,但相信距離量產也不遠了。目前屏下鏡頭技術發展遇到了瓶頸,而OPPO屏下鏡頭技術將對其它手機廠商有所啟發,從而研發出更好的屏下鏡頭技術。
如果大家想體驗真全面屏機型,可以考慮入手中興Axon30這款機型,目前6+128GB僅售2198,搭載驍龍870晶片,內建4200毫安時電池,支援55瓦快充,螢幕支援120赫茲重新整理率,360赫茲觸控取樣率,顯示效果相當優秀。這是目前最便宜的屏下鏡頭全面屏手機。
大家覺得中興Axon30如何呢?歡迎在文章下方留言並討論!大家有任何問題都可以私信小編!
