三菱歐藍德使用4J1X系列或者4B1X系列直列四缸發動機,之前還有一款6B31的 3.0L V6發動機,很少很少聽到車友遇到這三款發動機燒機油的案例,如果遇到燒機油的情況,就是異常情況,不是通病,下面來看看引起該車機油消耗大的原因。
1,氣門油封高溫密封不好。
氣門油封的作用就是防止機油進入進排氣管,防止機油進入缸內燃燒,但是再好的零件也會出現一定質量問題,如果氣門油封製造質量或工藝質量出現問題導致缺陷件流出,就會導致客戶實際使用過程當中,氣門油封密封不嚴,引起機油消耗過大問題,更換氣門油封,4S店報價200~300元左右,工時費200元左右,質保期免費索賠更換。
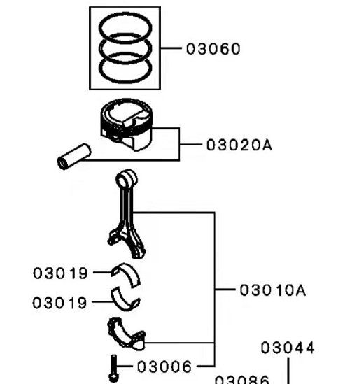
2,活塞環彈力不足。
曲軸活塞在缸內上下執行,在活塞頭部一般有三圈活塞環,來保證活塞上下運動的密封性,可以刮乾淨缸壁上殘留的機油,但是一旦活塞環彈力不足,活塞環上端的機油就會順著缸壁進入燃燒室進行燃燒,導致燒機油,此時就需要及時更換活塞環,三個活塞環一起換,4S店報價材料費463元,但工時費1500元~2000元左右。
3,缸體鑄造缺陷導致漏機油。
缸體鑄造缺陷導致機油滴落,引起機油消耗異常,此時就需要抬起車輛,看看缸體附近有無機油洩漏痕跡,如果有,那就是缸體鑄造缺陷,內部有沙眼或者缸體磕碰導致的裂紋,此時需更換髮動機缸體,4S店材料費25000元,工時費6000元左右,質保期非人為因素免費索賠更換。
以上就是筆者關於三菱歐藍德燒機油的原因分析和解決辦法分享,希望可以幫到車友。
