近日,有海外媒體曝光了大眾Sedric專利圖,Sedric概念車曾在2017年對外展示過,專利圖的出現說明該車即將投入量產。
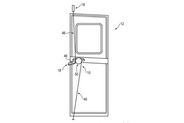
曝光的大眾Sedric專利圖主要展示了兩側車門的開啟方式,新車兩側均採用尺寸巨大的側滑門,兩扇側滑門可同時開啟,車門內部負責鎖閉與開啟的機械結構,在專利圖中也描繪的十分詳細。
大眾曾在2017年展示過Sedric概念車,從當時展示的圖片來看,Sedric的外觀設計極具未來感,造型圓潤的車身使內部的空間實現了最大化。兩扇側滑門可大角度開啟,車內提供了對向四個座位,乘客的乘坐區域十分寬敞。由於採用無人駕駛技術,該車內部並未設定駕駛區域。
(下方配圖為2017年展示的大眾Sedric概念車)
答答點評:近年來,大眾汽車在純電動車、自動駕駛技術方面始終保持高投入,為搶佔未來的計程車市場,大眾極有可能將Sedric概念車投入量產。儘早推出無人駕駛出租車,對搶佔市場先機具有重大意義,在汽車電氣化時代,無人駕駛技術將成車企的核心技術。預計大眾的無人駕駛出租車會率先出現在歐洲市場,未來的無人駕駛出租車將成人們的主要交通工具,計程車司機這個職業也會逐漸消失。
